- Partiron
- OEM Parts
- Honda
- MOTORCYCLE
- 1985
- GL1200LA (85) GOLD WING LIMITED EDITION, USA, VIN# 1HFSC146-FA101976 TO 1HFSC146-FA126016
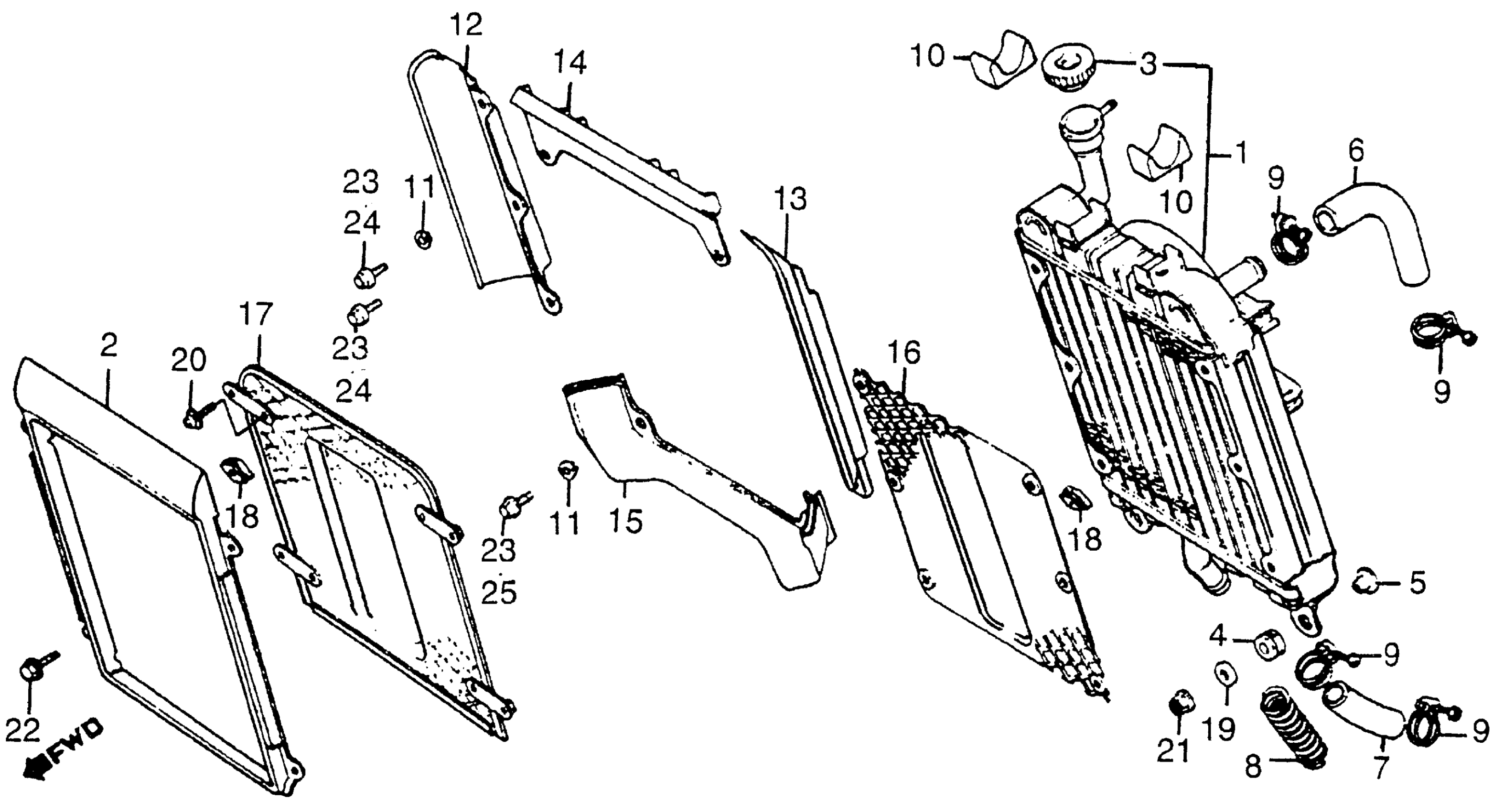
RADIATOR
Honda GL1200LA (85) GOLD WING LIMITED EDITION, USA, VIN# 1HFSC146-FA101976 TO 1HFSC146-FA126016 RADIATOR Diagram
#
Description
Price
1
RADIATOR (NOT AVAILABLE)
19010-MG9-013
Unavailable
2
COVER, RADIATOR
19032-MG9-950
Unavailable
6
HOSE, WATER (UPPER)
19501-431-000
Unavailable
7
HOSE, WATER (LOWER)
19502-MG9-000
Unavailable
8
GUARD B, WIRE (NOT AVAILABLE)
19512-MG9-010
Unavailable
9
BAND A, HOSE
19515-431-003
Unavailable
10
RUBBER, RADIATOR (UPPER) (NOT AVAILABLE)
19518-MG9-000
Unavailable
17
GRILLE, RADIATOR
85400-MG9-950
Unavailable
18
GROMMET, RADIATOR GRILLE (NOT AVAILABLE)
85401-371-000
Unavailable
19
WASHER (6MM)
90501-MA6-000
Unavailable
20
SCREW-WASHER (6X10)
93891-06010-07
Unavailable
20
SCREW-WASHER (6X10) This part replaces 93891-06010-17.
93891-06010-07
Unavailable
