- Partiron
- OEM Parts
- Honda
- MOTORCYCLE
- 1984
- GL1200IA (84) GOLD WING INTERSTATE, USA, VIN# 1HFSC141-EA000118 TO 1HFSC141-EA034654
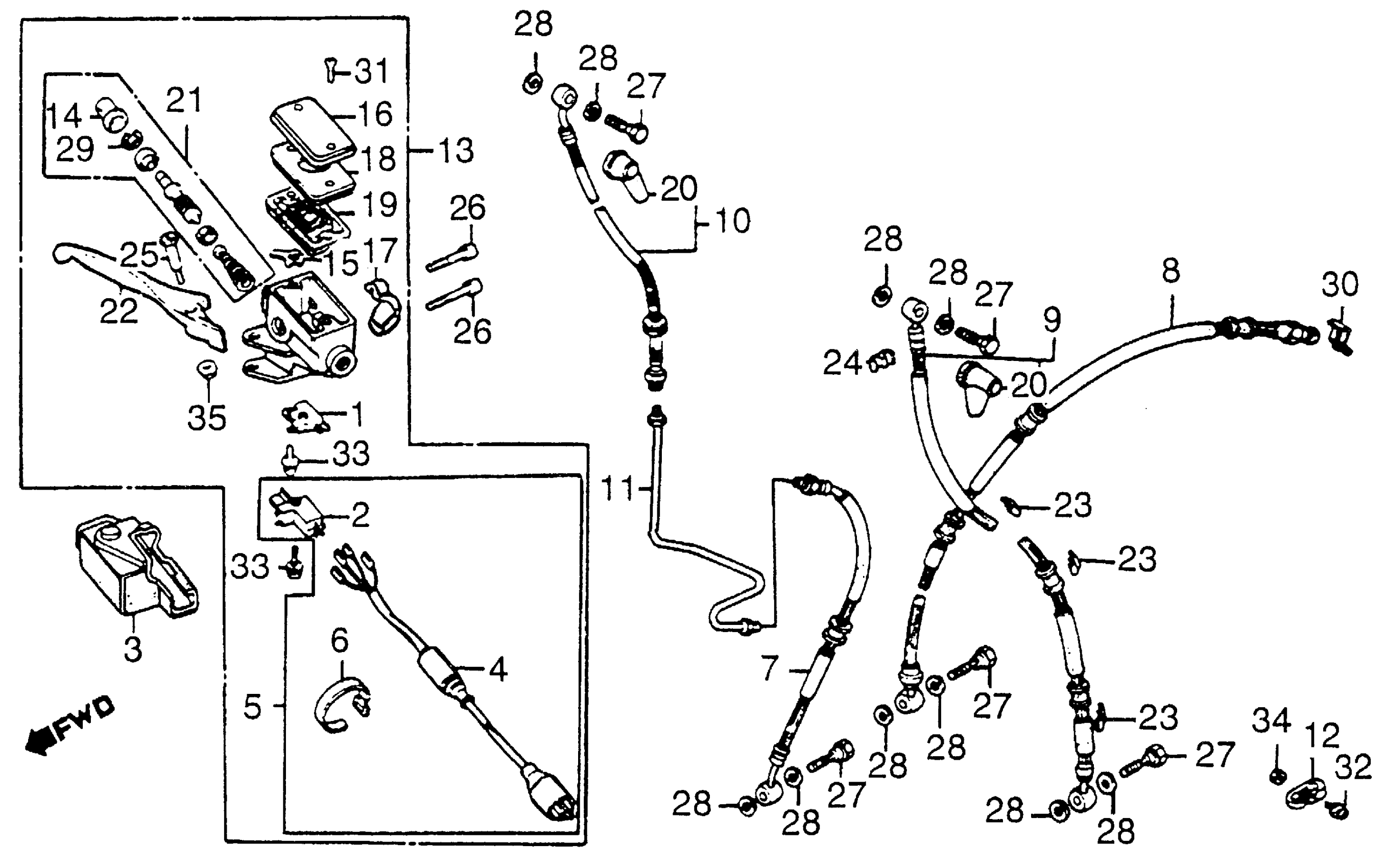
FR. BRAKE MASTER CYL.
Honda GL1200IA (84) GOLD WING INTERSTATE, USA, VIN# 1HFSC141-EA000118 TO 1HFSC141-EA034654 FR. BRAKE MASTER CYL. Diagram
#
Description
Price
7
HOSE A, FR. BRAKE (NOT AVAILABLE) This part replaces 45124-MG9-771.
45124-MG9-772
Unavailable
8
HOSE A, FR. BRAKE (NOT AVAILABLE)
45125-MG9-003
Unavailable
10
HOSE B, FR. BRAKE (NOT AVAILABLE) This part replaces 45126-MG9-771.
45126-MG9-772
Unavailable
11
PIPE, FR. BRAKE (C) (NOT AVAILABLE)
45127-MG9-770
Unavailable
12
CLAMP, BRAKE HOSE (NOT AVAILABLE)
45128-463-000
Unavailable
13
MASTER CYLINDER ASSY., FR. BRAKE (NA USE ALT:45510-MG9-408)
45500-MG9-771
Unavailable
16
CAP, MASTER CYLINDER (NOT AVAILABLE)
45540-MB4-671
Unavailable
17
HOLDER, MASTER CYLINDER
45517-MB0-006
Unavailable
22
LEVER, R. HANDLEBAR This part replaces 53175-MA6-006.
53175-MA6-016
Unavailable
22
LEVER, R. HANDLEBAR
53175-MA6-016
Unavailable
26
BOLT, SOCKET (6X23)
90117-MB0-000
Unavailable
32
SCREW-WASHER (4X16)
93891-04016-00
Unavailable
