- Partiron
- OEM Parts
- Polaris
- Watercraft
- PWC
- 2003
- GENESIS I - W035098CA/W035098IA
HULL and BODY - W035098CA/W035098IA (4981028102A07)
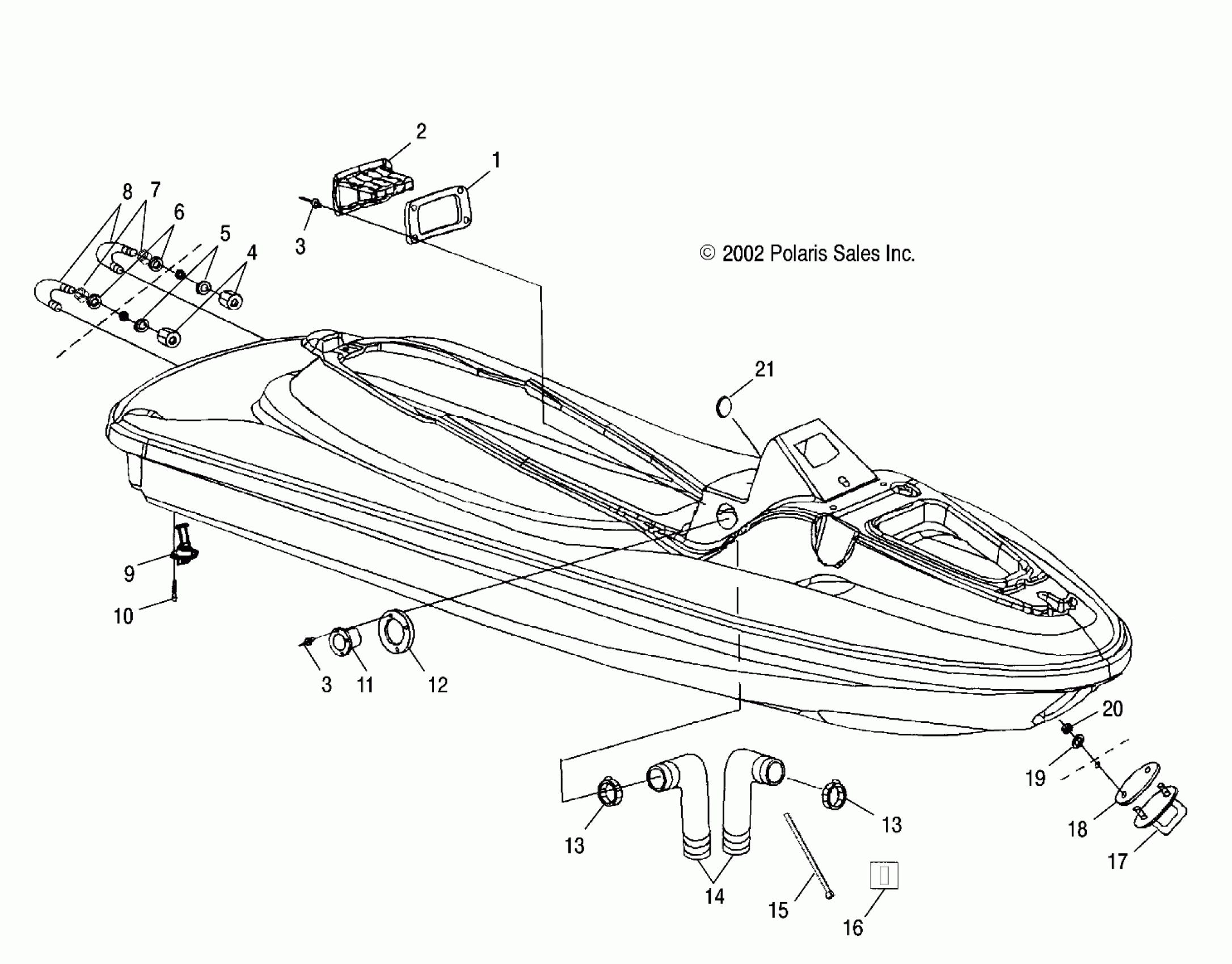
Polaris GENESIS I - W035098CA/W035098IA HULL and BODY - W035098CA/W035098IA (4981028102A07) Diagram
#
Description
Price
1
Gasket, Receptacle
5811555
Unavailable
2
Receptacle, Seat Base
5432718
Unavailable
3
Rivet
7661042
Unavailable
3
Rivet
7661042
Unavailable
6
Washer, Dish, Rubber
7555870
Unavailable
8
U-Bolt
7518220
Unavailable
9
Plug, Bilge
1060125
Unavailable
10
Screw
7511882
Unavailable
11
Flange, Air Inlet
5433220
Unavailable
12
Gasket, Air Inlet
5411545
Unavailable
14
Duct, Air Inlet
5433641
Unavailable
16
Anchor, Cable Tie
7080464
Unavailable
17
Strap, Bow
2632213
Unavailable
18
Gasket
5812021
Unavailable
19
Washer
7555834
Unavailable
21
Grommet, Access
5411674
Unavailable
