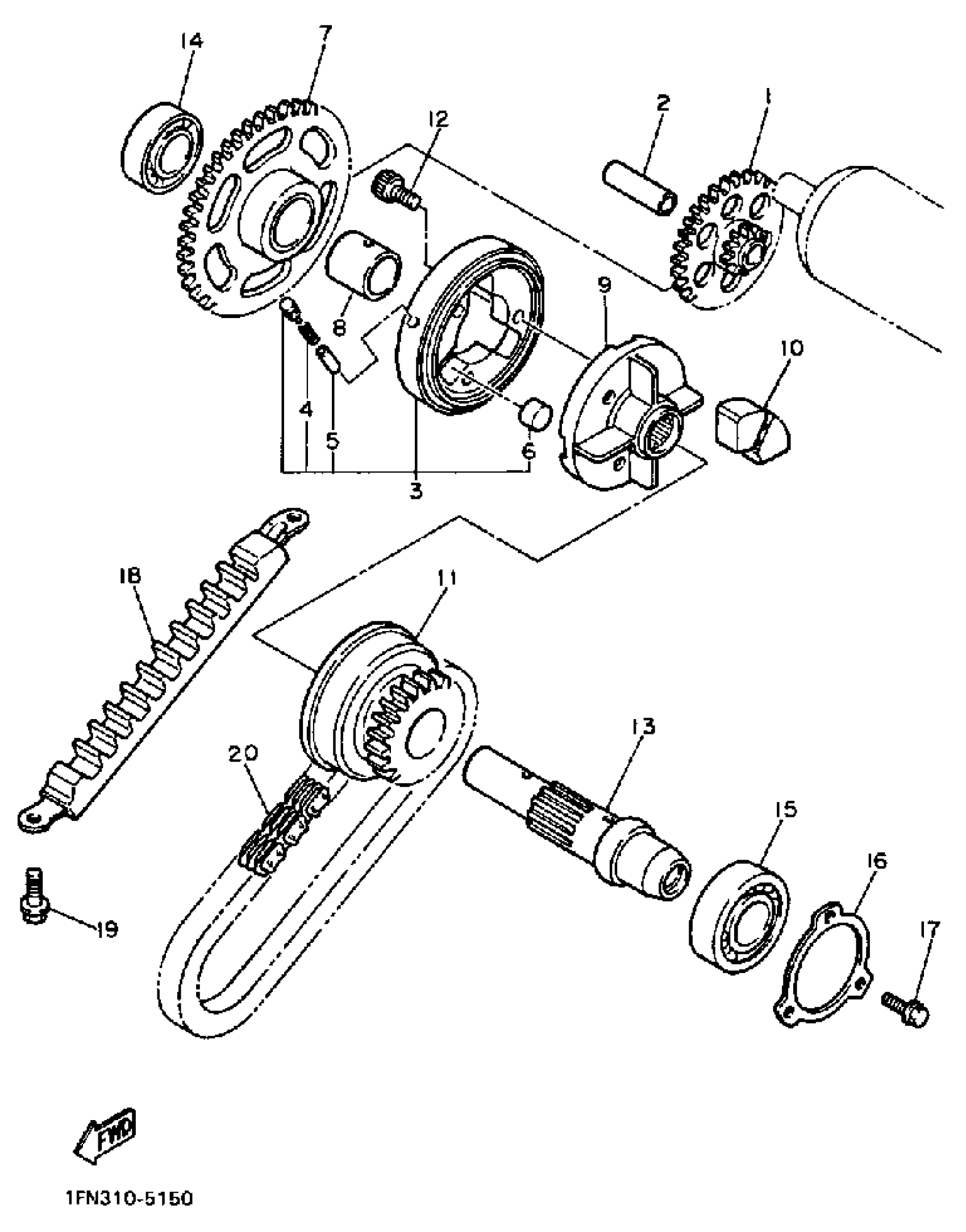
Yamaha FZX700SC (FAZER CA) 1986 STARTER Diagram
#
Description
Price
1
GEAR, IDLER 1
1AE-15512-00-00
Unavailable
2
SHAFT 1
1AE-15521-00-00
Unavailable
3
STR CLUTCH OTR ASSEMBLY
1AE-15580-01-00
Unavailable
7
GEAR, IDLER 2
1AE-15517-00-00
Unavailable
8
COLLAR
90387-202A7-00
Unavailable
9
WHEEL, STARTER
12R-15524-00-00
Unavailable
11
SPROCKET, STARTER 2
36Y-15519-00-00
Unavailable
13
SHAFT 2
1AE-15522-01-00
Unavailable
16
PLATE, BEARING COVER
1AE-15381-00-00
Unavailable
17
BOLT, WASHER BASED(JA9)
90105-06696-00
Unavailable
18
GUIDE, UPPER
1AE-11474-00-00
Unavailable
19
BOLT, FLANGE
95817-06014-00
Unavailable
20
CHAIN, PRIMARY
4FM-11456-00-00
Unavailable
