Partiron

Yamaha FZX700SC (FAZER CA) 1986 SHIFT SHAFT Diagram

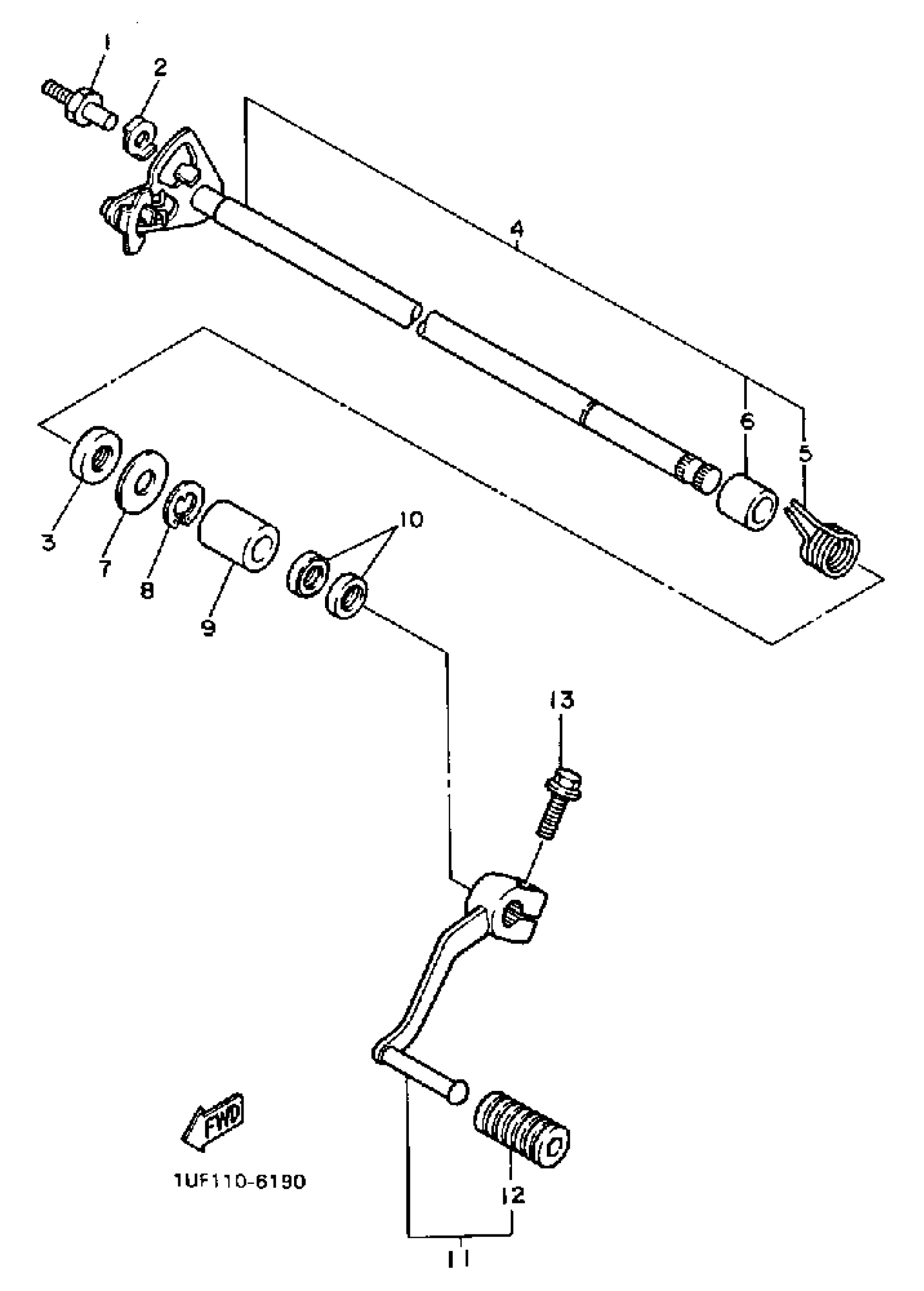
#

Description
Price

1

STOPPER, SCREW

5VK-18127-00-00

Unavailable

2

WASHER, LOCK (583 SHIFT)

90215-08115-00

$7.49

3

SEAL, OIL (30X)

93102-12321-00

$12.49

4

SHIFT SHAFT ASY.1

1UF-18101-01-00

Unavailable

5

SPRING, TORSION

90508-32142-00

$5.60

6

. COLLAR

90387-114K8-00

Unavailable

7

WASHER, PLATE (353)

90201-12575-00

$8.49

8

CIRCLIP

99006-10600-00

$9.49

9

COLLAR

(90387-125M1-00)

Unavailable

10

OIL SEAL

93109-12075-00

$10.49

11

SHIFT PEDAL ASSEMBLY

1UF-18110-00-00

Unavailable

12

COVER, CHANGE PEDAL

132-18113-01-00

$7.99

13

BOLT(7U8)

97080-06020-00

Unavailable