- Partiron
- OEM Parts
- Yamaha
- motorcycle
- 1986
- FZX700SC (FAZER CA) 1986
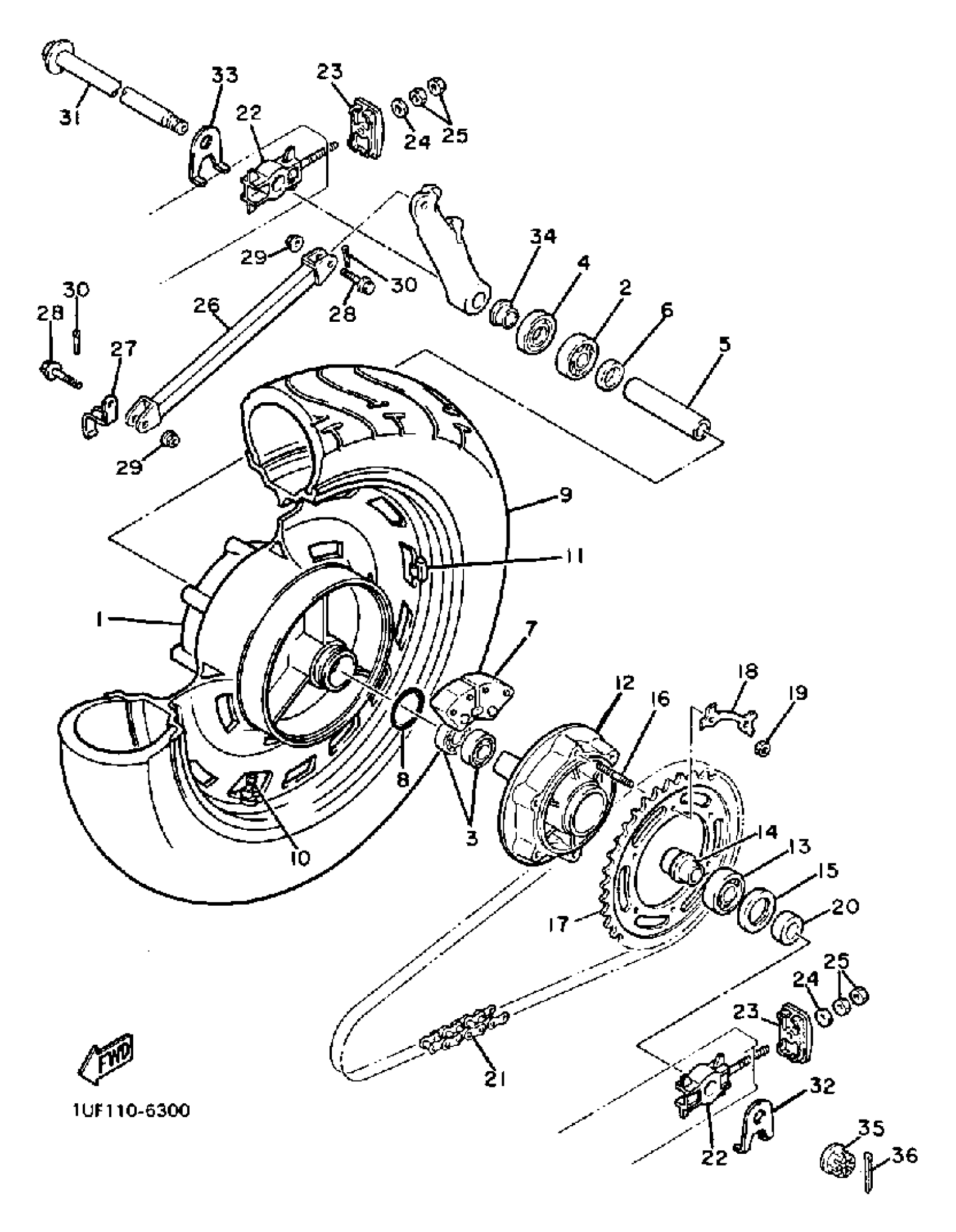
REAR WHEEL
Yamaha FZX700SC (FAZER CA) 1986 REAR WHEEL Diagram
#
1
WHEEL, CAST REAR
1UF-25338-00-35
Unavailable
5
COLLAR(1FN)
90387-173M5-00
Unavailable
9
140/90-V15 G528 BS
94114-151J6-00
Unavailable
11
BALANCER, WHEEL
5MT-25398-20-00
Unavailable
12
CLUTCH, HUB
1UF-25366-00-00
Unavailable
14
COLLAR(47X)
90387-177K0-00
Unavailable
15
OIL SEAL(47X)
93105-42024-00
Unavailable
16
BOLT,STUD
90116-10467-00
Unavailable
17
SPROCKET, DRVN44T
1AE-25444-21-00
Unavailable
18
WASHER
2AK-25412-00-00
Unavailable
19
NUT, FLANGE(3BM)
95704-10500-00
Unavailable
20
COLLAR(47X)
90387-177K1-00
Unavailable
21
CHAIN (D.I.D 50VA 108L)
94580-79108-00
Unavailable
22
PULLER, CHAIN 1
1UF-25388-02-00
Unavailable
23
END 1
1UF-22174-01-00
Unavailable
24
.. WASHER, PLATE
92990-08600-00
Unavailable
25
NUT(6L2)
95333-08600-00
Unavailable
26
BAR, TENSION
1UF-25371-00-00
Unavailable
27
HOLDER, BRAKE HOSE
(1UF-25886-00-00)
Unavailable
28
BOLT, WASHER BASED(47X)
90105-08321-00
Unavailable
29
NUT, FLANGE
95704-08500-00
Unavailable
30
PIN, COTTER
91490-20025-00
Unavailable
31
AXLE, WHEEL
1AE-25381-01-00
Unavailable
32
PLATE, INDICATOR
1UF-2533A-00-00
Unavailable
33
NO LONGER AVAILABLE
1UF-2533E-00-00
Unavailable
34
COLLAR (3HE)
90387-177Y4-00
Unavailable
35
NUT, CASTLE (2H6)
90171-16024-00
Unavailable
36
PIN, COTTER
91490-30030-00
Unavailable
