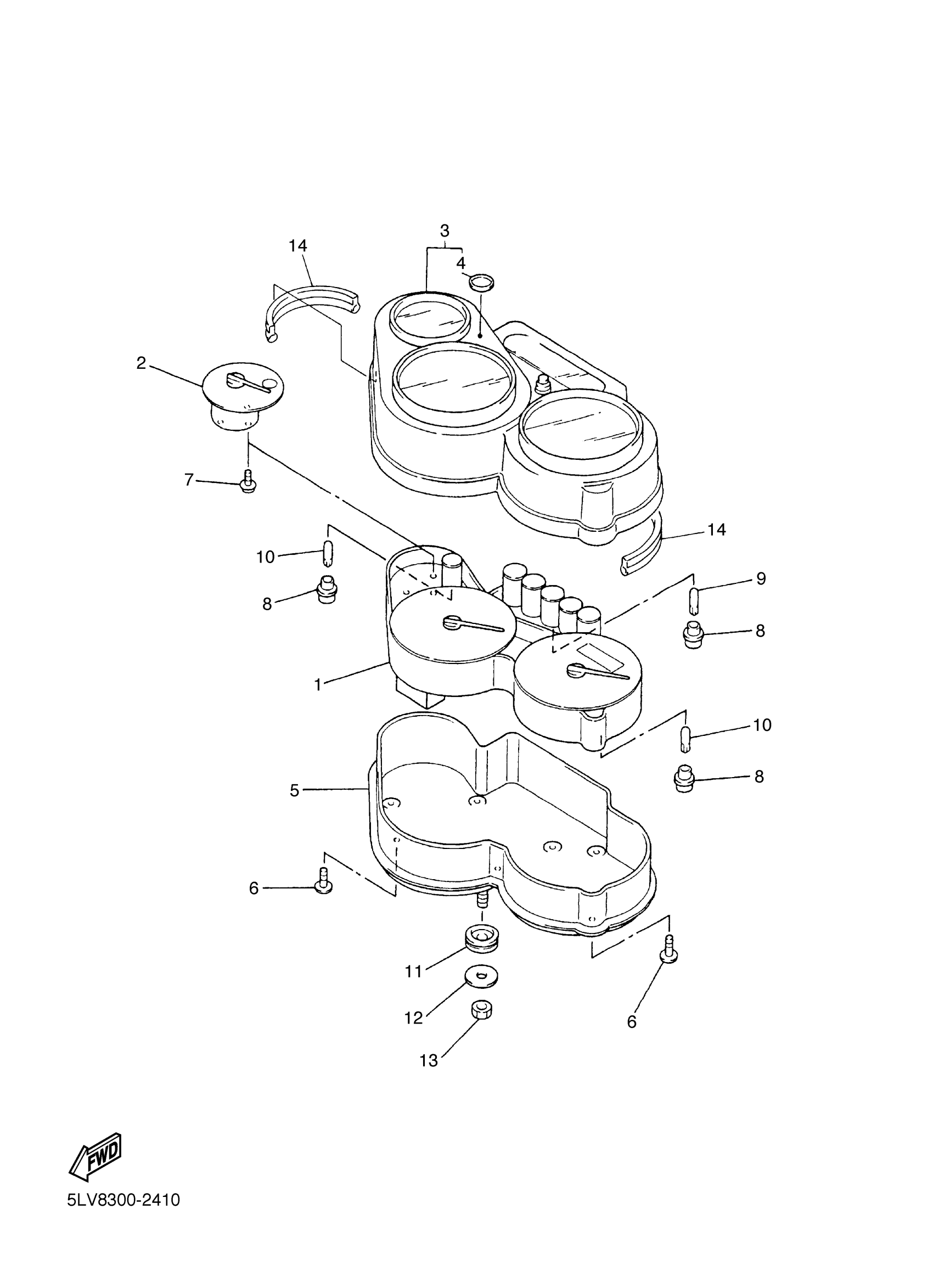
Yamaha FZS1SC (FZ1 CA) 5LVX 2004 METER Diagram
#
Description
Price
1
SPEEDOMETER ASSY (MPH)
5LV-83570-30-00
Unavailable
2
FUEL METER ASSY
5LV-85750-00-00
Unavailable
3
CASE, METER UPPER
5LV-8353E-00-00
Unavailable
4
. EMBLEM
5DM-2341B-00-00
Unavailable
5
CASE, SPEEDOMETER LOWER
5LV-83572-00-00
Unavailable
7
SCREW, SPECIAL
4YR-8362Y-00-00
Unavailable
14
MOLE 2
5LV-28346-10-00
Unavailable
