- Partiron
- OEM Parts
- Yamaha
- motorcycle
- 2010
- FZS10ZR (FZ1) 1CA20 2010
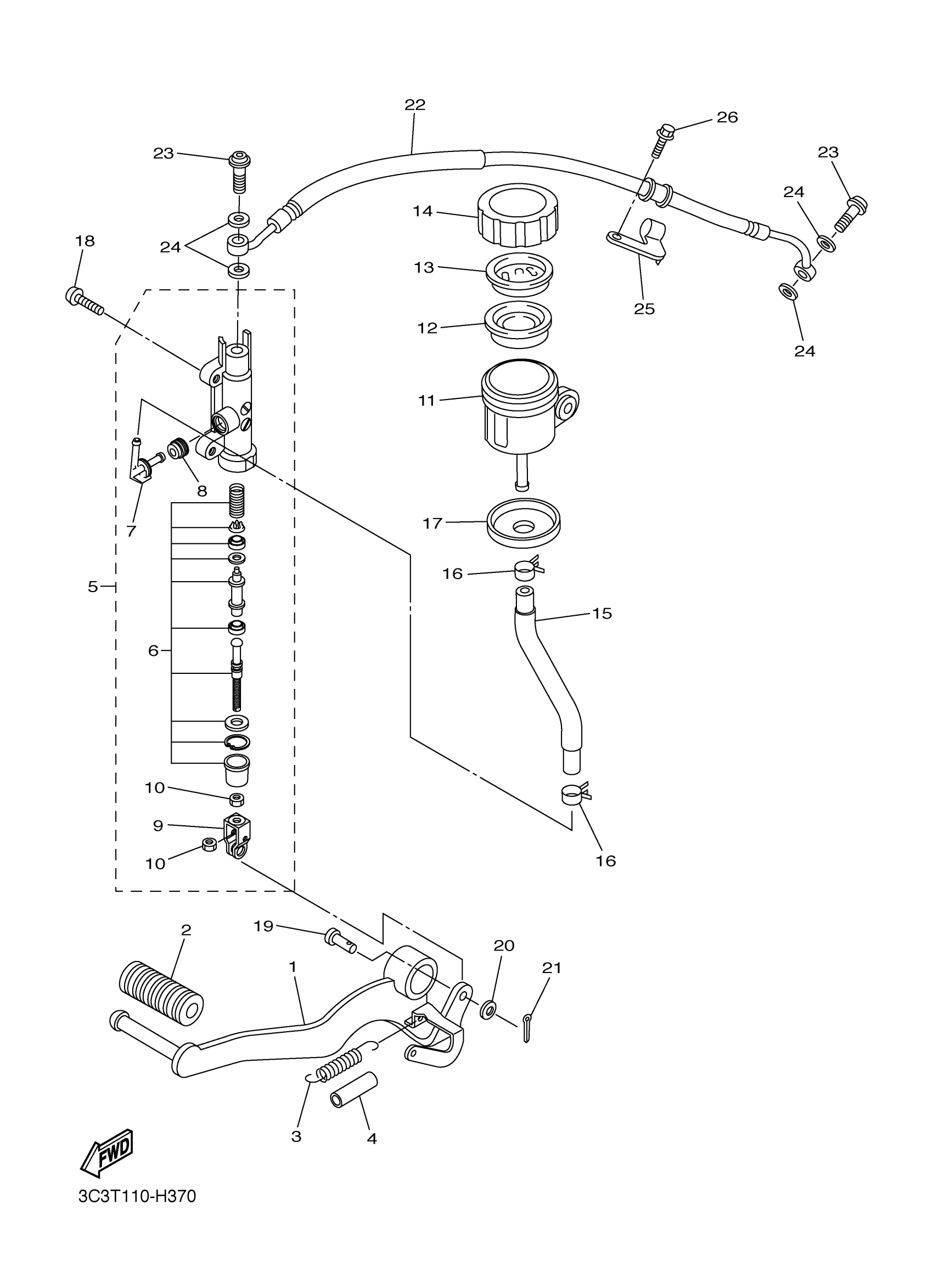
REAR MASTER CYLINDER
Yamaha FZS10ZR (FZ1) 1CA20 2010 REAR MASTER CYLINDER Diagram
#
Description
Price
3
SPRING, TENSION
90506-20014-00
Unavailable
5
RR. MASTER CYLINDER ASSY.
2D1-2583V-00-00
Unavailable
8
O-RING
4BP-2585F-01-00
Unavailable
15
HOSE, RESERVOIR
2D1-25895-00-00
Unavailable
16
CLIP
90467-120A3-00
Unavailable
17
BOOT
5D0-2583H-00-00
Unavailable
18
BOLT, BUTTON
92014-08020-00
Unavailable
19
PIN, CLEVIS
90240-08005-00
Unavailable
20
WASHER, PLATE
90201-08066-00
Unavailable
21
PIN, COTTER (648)
91490-20015-00
Unavailable
22
HOSE, BRAKE 3
2D1-25874-01-00
Unavailable
23
BOLT, UNION
90401-10172-00
Unavailable
24
GASKET
90430-10005-00
Unavailable
25
HOLDER, BRAKE HOSE
2D1-25886-00-00
Unavailable
26
BOLT, WITH WASHER
90119-05021-00
Unavailable
