- Partiron
- OEM Parts
- Yamaha
- motorcycle
- 2006
- FZS10VC (FZ-1 CA) 3C35 2006
FRONT MASTER CYLINDER
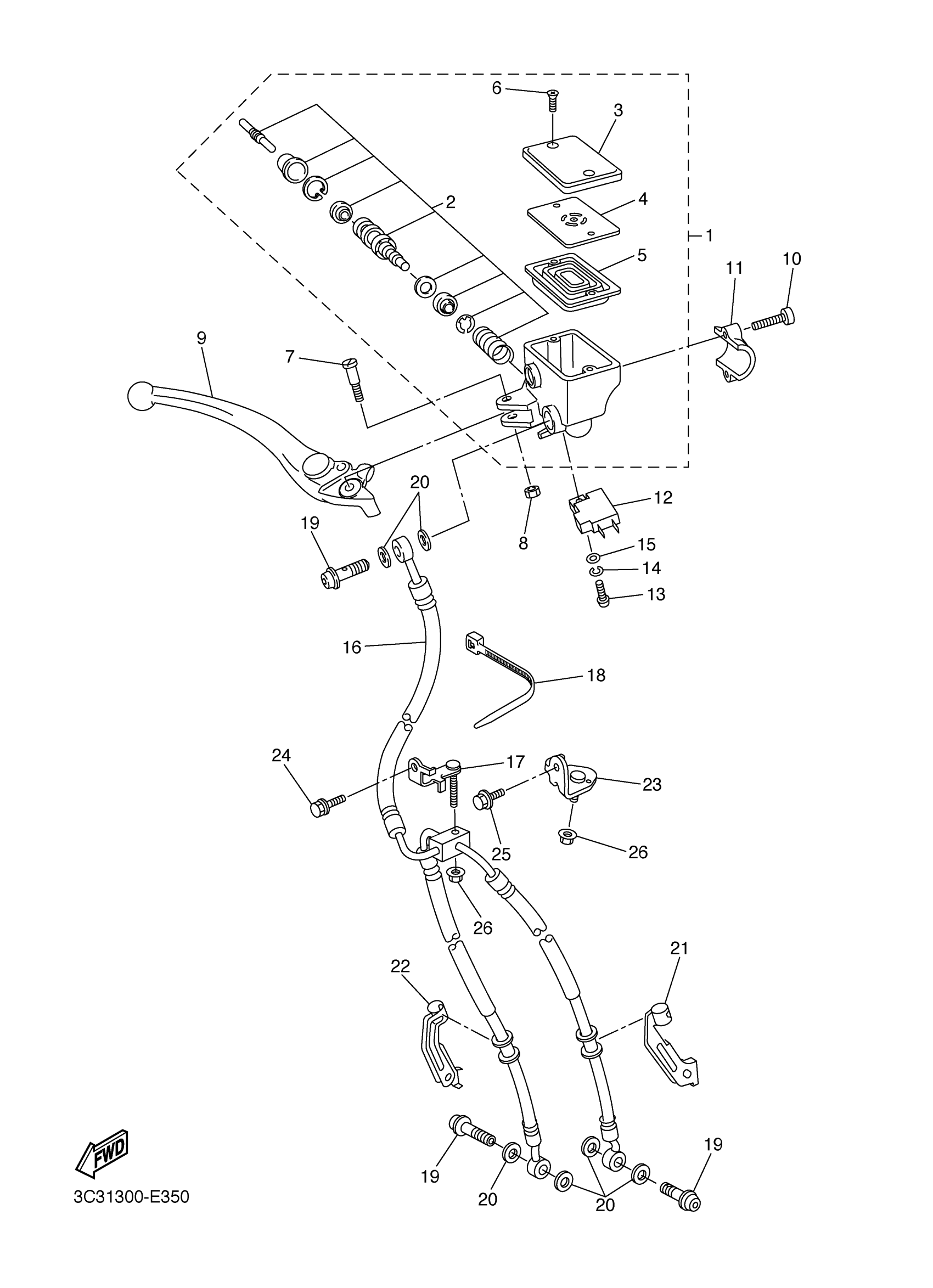
Yamaha FZS10VC (FZ-1 CA) 3C35 2006 FRONT MASTER CYLINDER Diagram
#
Description
Price
1
MASTER CYLINDER SUB ASSY
3C3-W2587-00-00
Unavailable
3
CAP, RESERVOIR
5VS-25852-00-00
Unavailable
13
SCREW, PAN HEAD
98511-04012-00
Unavailable
16
HOSE, BRAKE 1
3C3-25872-00-00
Unavailable
17
HOLDER
2D1-23857-00-00
Unavailable
18
BAND
3MA-82591-00-00
Unavailable
19
BOLT, UNION
90401-10172-00
Unavailable
20
GASKET
90430-10005-00
Unavailable
21
HOLDER, BRAKE HOSE 1
2D1-25875-00-00
Unavailable
22
HOLDER, BRAKE HOSE 2
2D1-25876-00-00
Unavailable
23
BRACKET, HORN
3C3-23378-00-00
Unavailable
24
BOLT, FLANGE
95817-06012-00
Unavailable
25
BOLT, FLANGE
95817-06012-00
Unavailable
26
NUT, FLANGE(4MV)
95707-06500-00
Unavailable
