Yamaha FZS10DC (FZ1 CA) 1CAX 2013 FRAME Diagram
#
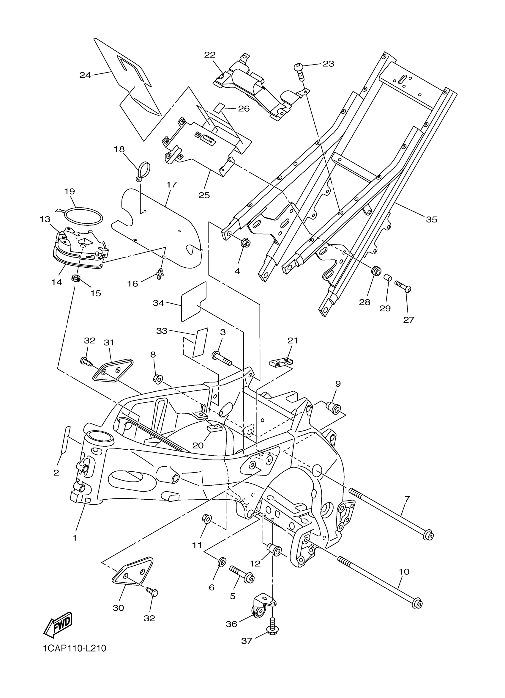
1
FRAME COMP.
2D1-21110-03-P0
Unavailable
2
PROTECTOR, FRAME FR
2D1-2197E-00-00
Unavailable
9
BOLT, ENGINE ADJUSTING
4C8-21495-00-00
Unavailable
12
BOLT, ENGINE ADJUSTING
4C8-21495-00-00
Unavailable
13
COVER 3
2D1-2117N-00-00
Unavailable
15
. GROMMET
90480-01333-00
Unavailable
16
RIVET
90269-06001-00
Unavailable
17
PROTECTOR
2D1-2117G-00-00
Unavailable
18
BAND
1UA-82591-00-00
Unavailable
19
BAND, TOOL
3YX-21376-00-00
Unavailable
20
DAMPER, LOCATING 4
2D1-24184-00-00
Unavailable
21
DAMPER, LOCATING 5
2D1-24185-00-00
Unavailable
22
BRACKET, TANK FITTING
2D1-21345-01-00
Unavailable
23
SCREW
90149-06164-00
Unavailable
24
DAMPER, LOCATING 3
2D1-24183-01-00
Unavailable
25
BRACKET, REGULATOR
2D1-21287-01-00
Unavailable
26
DAMPER 2
5YU-21639-00-00
Unavailable
27
BOLT, BUTTON HEAD
92012-06020-00
Unavailable
28
GROMMET
90480-14013-00
Unavailable
29
COLLAR (J10)
90387-06026-00
Unavailable
30
COVER, SIDE 1
2D1-24129-00-00
Unavailable
31
COVER, SIDE 2
2D1-24139-00-00
Unavailable
32
RIVET
90269-06003-00
Unavailable
33
DAMPER
4PX-23426-00-00
Unavailable
34
SEAL 1
39P-21575-00-00
Unavailable
35
REAR FRAME COMP.
2D1-21190-01-P0
Unavailable
36
BRACKET, FOOTREST 2
2D1-27425-02-00
Unavailable
37
BOLT, FLANGE(JN5)
95817-08016-00
Unavailable
