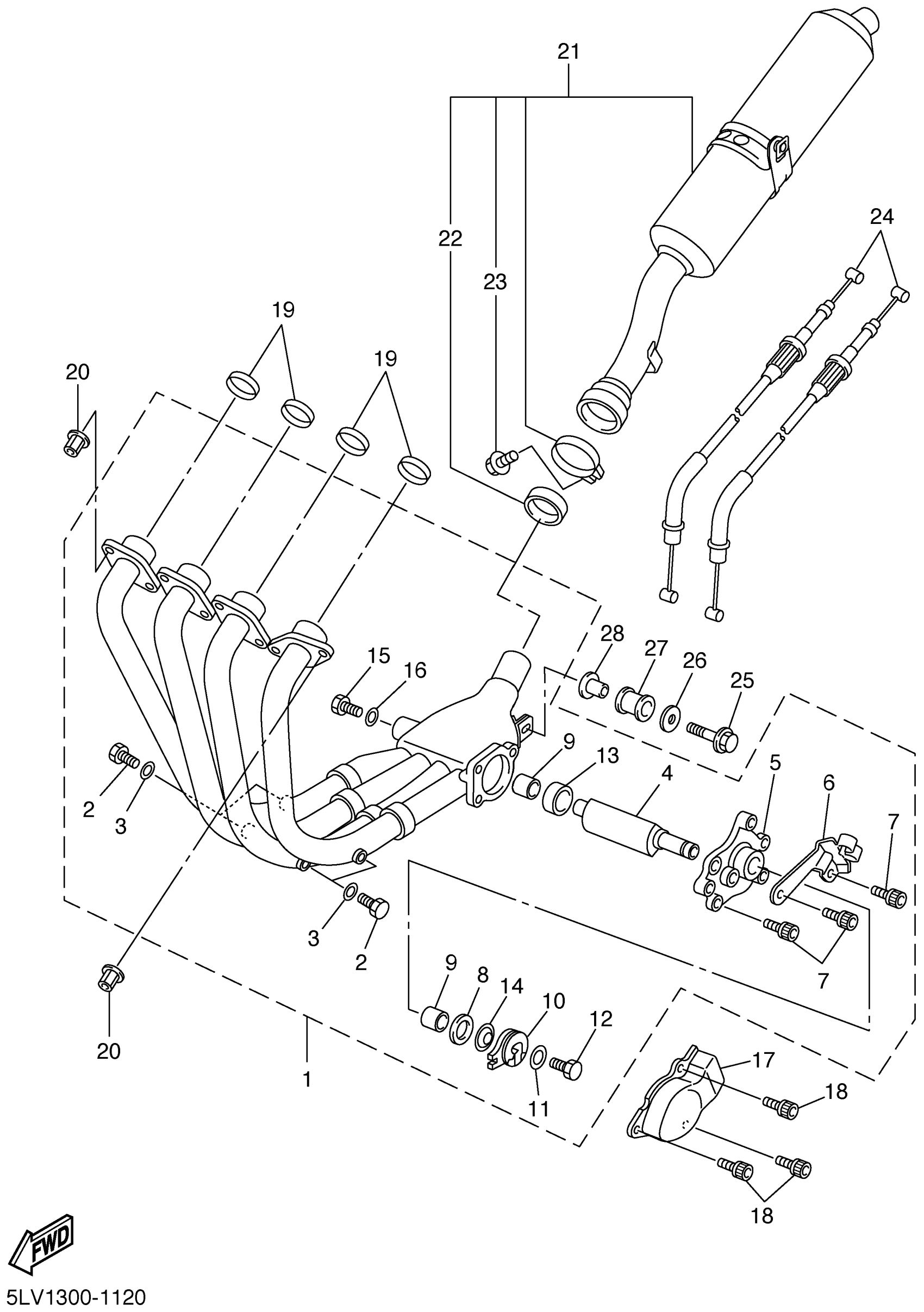
Yamaha FZS1000NC (FZ1 CA) 5LV7 2001 EXHAUST Diagram
#
Description
Price
1
EXHAUST PIPE ASSY 1
5LV-14610-01-00
Unavailable
4
. ARM, SHAFT (VALVE)
4SV-14821-00-00
Unavailable
5
HOUSING
5JJ-14811-00-00
Unavailable
6
. BRACKET
5LV-14849-00-00
Unavailable
9
COLLAR
4SV-14638-00-00
Unavailable
10
PULLEY
2TK-14865-01-00
Unavailable
13
COLLAR(3FH)
90387-106U7-00
Unavailable
16
WASHER, PLAIN (646)
92990-04600-00
Unavailable
17
PROTECTOR, EXHAUST
5LV-14826-00-00
Unavailable
18
BOLT, WITH WASHER(2TK)
90119-06187-00
Unavailable
19
GASKET, EXHAUST PIPE
4FM-14613-00-00
Unavailable
20
NUT (22U)
90179-08410-00
Unavailable
21
MUFFLER ASSY 1
5LV-14710-00-00
Unavailable
21
MUFFLER ASSY 1
5LV-14710-12-00
Unavailable
22
GASKET, MUFFLER
4XV-14714-00-00
Unavailable
23
BOLT, FLANGE(4PU)
95814-08025-00
Unavailable
24
CABLE PULLEY ASSY
5LV-1130E-01-00
Unavailable
25
BOLT, FLANGE
95817-08040-00
Unavailable
26
WASHER, PLATE (1A0)
90201-08612-00
Unavailable
27
DAMPER, FOOTREST 2
4XV-27424-00-00
Unavailable
28
COLLAR(3MA)
90387-082W9-00
Unavailable
