- Partiron
- OEM Parts
- Yamaha
- motorcycle
- 2001
- FZS1000NC (FZ1 CA) 5LV7 2001
AIR INDUCTION SYSTEM
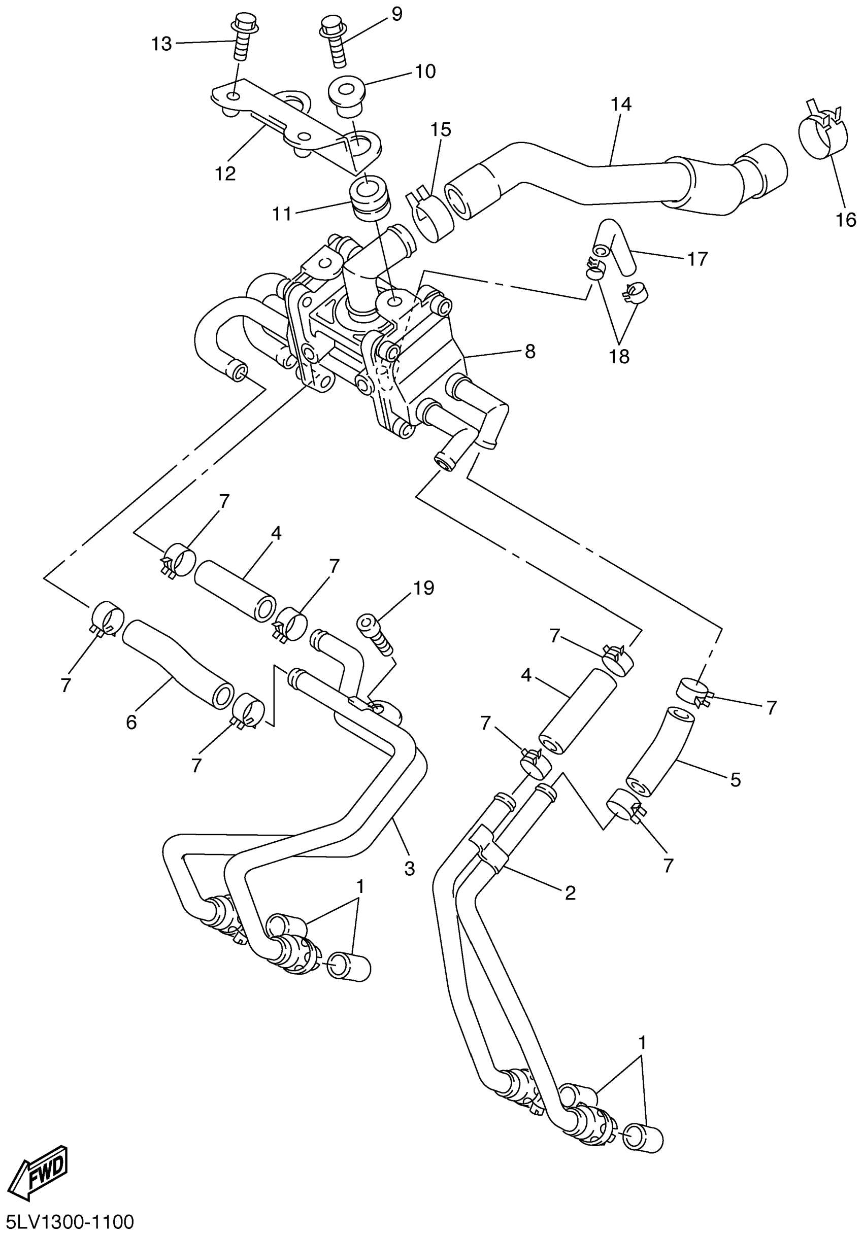
Yamaha FZS1000NC (FZ1 CA) 5LV7 2001 AIR INDUCTION SYSTEM Diagram
#
Description
Price
2
PIPE 2
5LV-14872-00-00
Unavailable
3
PIPE 3
5LV-14873-00-00
Unavailable
4
HOSE, BEND 2
5JJ-14882-00-00
Unavailable
5
HOSE, BEND 2
5LV-14882-00-00
Unavailable
8
AIR INDUCTION SYSTEM ASSY
5LV-14803-00-00
Unavailable
10
COLLAR 437216330000
90387-07391-00
Unavailable
12
BRACKET
5LV-14867-00-00
Unavailable
14
HOSE, BEND 1
5LV-14881-01-00
Unavailable
16
CLIP(4HC)
90467-23177-00
Unavailable
17
HOSE (L180)
90445-094K7-00
Unavailable
18
CLIP(41W)
90467-08092-00
Unavailable
19
BOLT,SOCKET HEAD
91314-06012-00
Unavailable
