- Partiron
- OEM Parts
- Yamaha
- motorcycle
- 1987
- FZR750RT (FZR750R) 1987
OIL FILTER
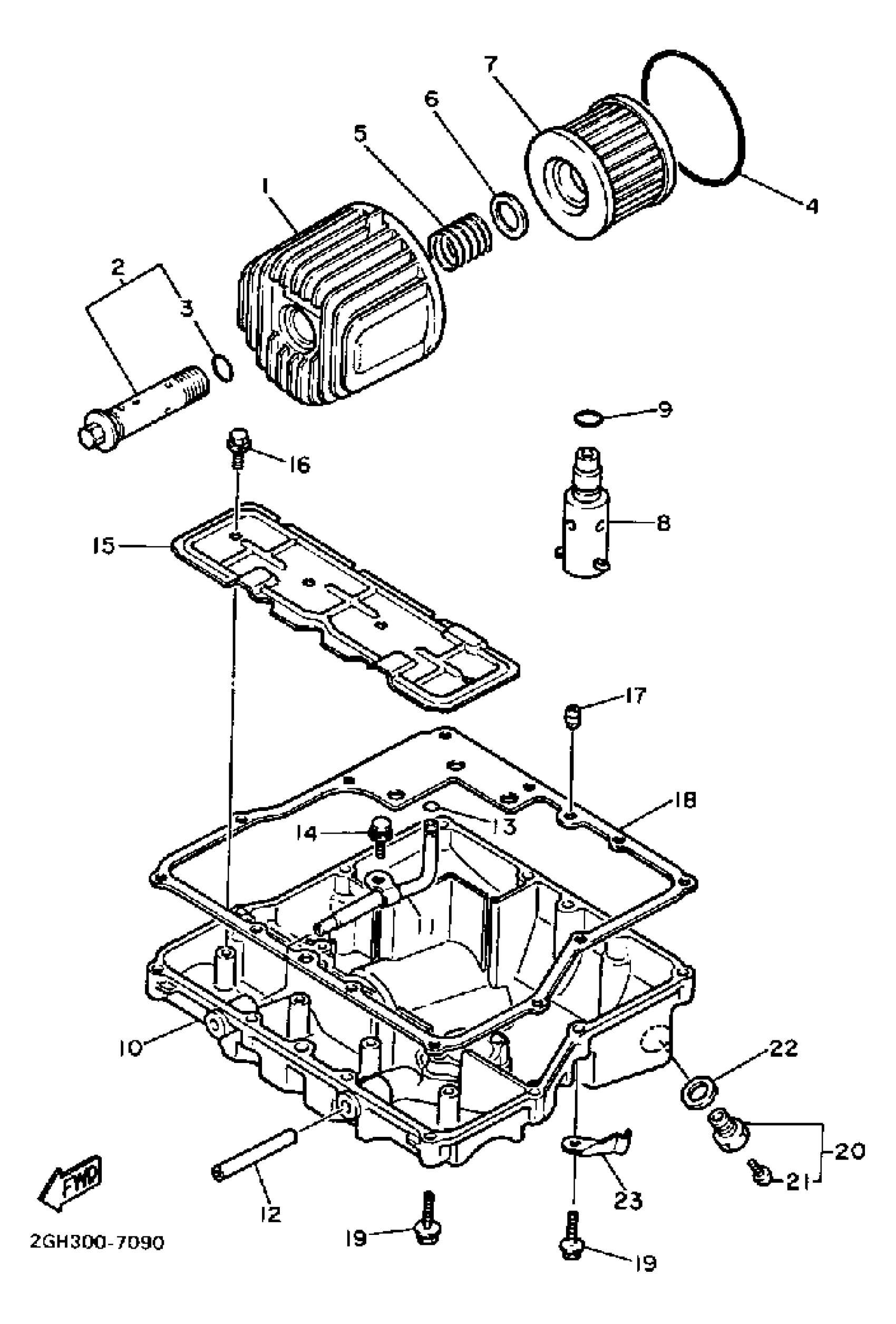
Yamaha FZR750RT (FZR750R) 1987 OIL FILTER Diagram
#
Description
Price
1
COVER, OIL ELEMENTELEMENT
1AE-13447-00-00
Unavailable
2
BY-PASS VALVE ASSY
36Y-13340-00-00
Unavailable
4
O-RING(1KF)
93210-87723-00
Unavailable
8
RELIEF VALVE ASSY
36Y-13490-00-00
Unavailable
10
COVER, STRAINER
2GH-13417-00-00
Unavailable
11
PIPE, OIL 1
2GH-13416-00-00
Unavailable
12
PIPE, OIL 2
2GH-13418-00-00
Unavailable
13
O-RING (2GH)
93210-08764-00
Unavailable
15
PLATE, BAFFLE LOWER
2GH-13337-00-00
Unavailable
16
BOLT, FLANGE(4MY)
95027-06010-00
Unavailable
17
PIN, DOWEL(3XW)
91808-16023-00
Unavailable
18
GASKET, STRAINER COVER
4AM-13414-00-00
Unavailable
19
BOLT, SMALL FLANGE
95027-06030-00
Unavailable
20
PLUG, STRAIGHT SCREW(3FA)
90340-14132-00
Unavailable
21
SCREW, BIND(2TV)
98980-06008-00
Unavailable
22
GASKET
214-11198-01-00
Unavailable
23
CLAMP
90465-08076-00
Unavailable
