- Partiron
- OEM Parts
- Yamaha
- motorcycle
- 1987
- FZR750RT (FZR750R) 1987
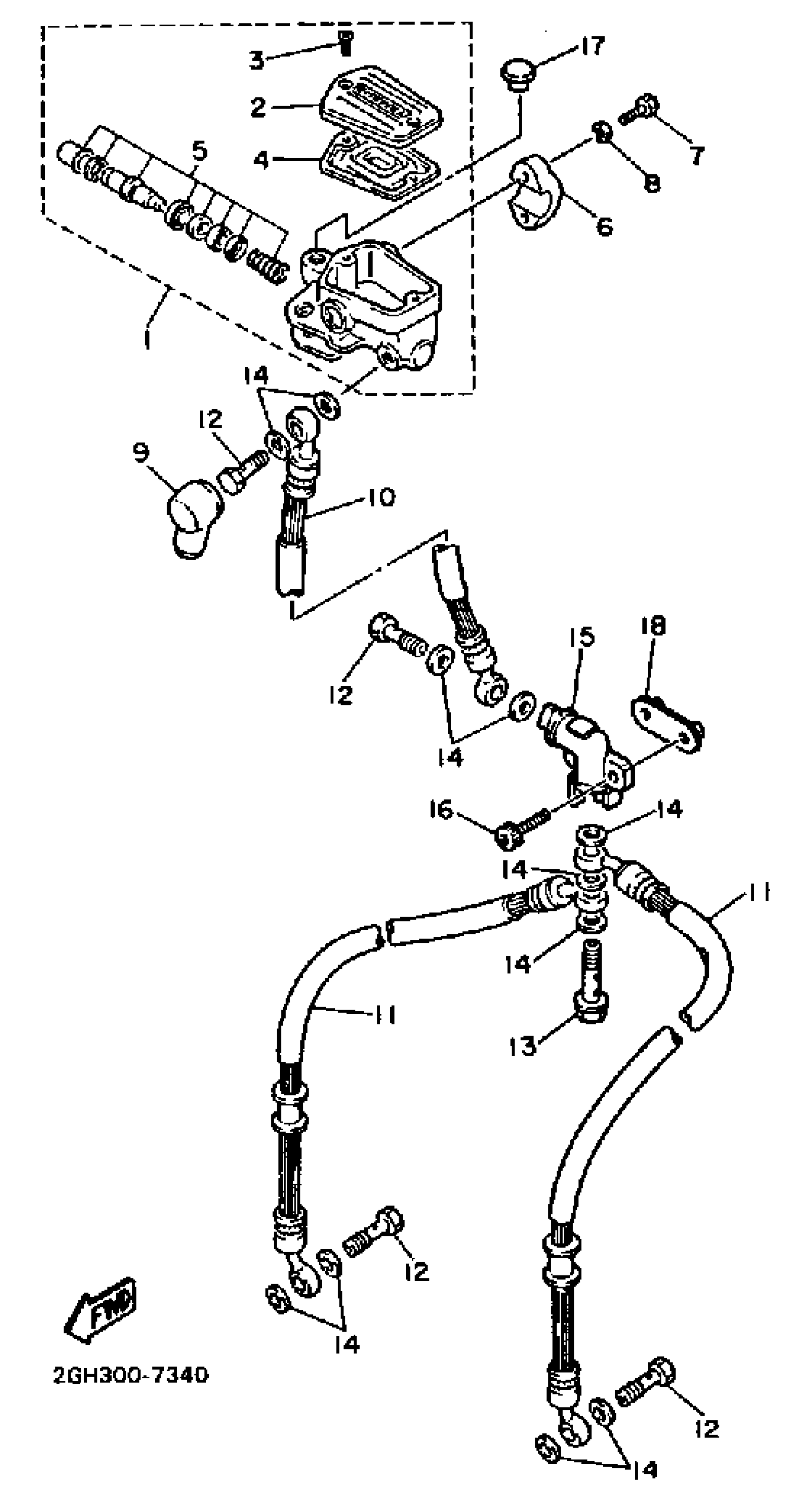
FRONT MASTER CYLINDER
Yamaha FZR750RT (FZR750R) 1987 FRONT MASTER CYLINDER Diagram
#
Description
Price
1
MASTER CYLINDER ASSY
3HE-2583T-02-00
Unavailable
5
CYLINDER KIT, MASTER
36Y-W0041-00-00
Unavailable
10
HOSE, BRAKE 1
2GH-25872-01-00
Unavailable
11
HOSE, BRAKE 2
2GH-25873-00-00
Unavailable
14
WASHER, PLATE(481)
90201-10118-00
Unavailable
15
JOINT
11U-25885-00-00
Unavailable
16
BOLT, HEXAGON SOCKET HEAD(1VJ)
90110-06138-00
Unavailable
17
PLUG (341-26329-00)
90338-09012-00
Unavailable
18
BRACKET
2GH-2612E-00-00
Unavailable
