Yamaha FZR600WC (FZR600 CA) 1989 FUEL TANK Diagram
#
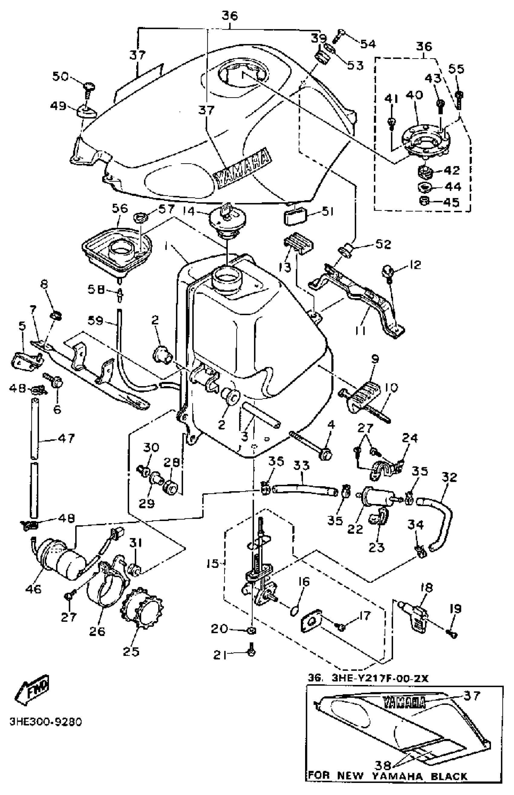
1
FUEL TANK COMP.
3HE-24110-00-00
Unavailable
2
DAMPER, LOCATING 1
1HX-24181-00-00
Unavailable
3
COLLAR
90387-06380-00
Unavailable
5
BRACKET, TANK FITTING
3EN-21346-00-00
Unavailable
7
BRACKET, TANK FITTING
1WG-21345-00-00
Unavailable
9
DAMPER, LOCATING 2
1HX-24182-00-00
Unavailable
11
BRACKET, TANK FITTING
1WG-21348-00-00
Unavailable
13
DAMPER, LOCATING 5
1WG-24185-00-00
Unavailable
14
CAP ASSEMBLY
3FH-24602-00-00
Unavailable
16
O-RING
4X8-24512-00-00
Unavailable
17
SCREW, PAN HEAD (J10)
98580-03008-00
Unavailable
18
LEVER, COCK
3HE-24524-00-00
Unavailable
19
SCREW, FLAT
98707-04016-00
Unavailable
20
WASHER, PLATE(3MB)
90202-05187-00
Unavailable
21
SCREW 256241430000
90149-06011-00
Unavailable
22
FILTER ASSY
1FK-24560-10-00
Unavailable
23
BAND, FILTER
26H-24568-00-00
Unavailable
24
BRACKET, FILTER
1WG-24566-00-00
Unavailable
25
BAND 1
1WG-24398-01-00
Unavailable
26
BRACKET,FUEL PUMP
3HE-24491-00-00
Unavailable
27
SCREW, BINDING
98907-05014-00
Unavailable
28
GROMET (3X3)
90480-14229-00
Unavailable
29
COLLAR 437216330000
90387-07391-00
Unavailable
30
NUT, FLANGE(4MV)
95707-06500-00
Unavailable
31
GROMMET(1WG)
90480-11454-00
Unavailable
32
PIPE, FUEL 1
1WG-24311-00-00
Unavailable
33
HOSE
90445-137F4-00
Unavailable
34
CLIP(42X)
90467-10091-00
Unavailable
35
CVR TOP ASSEMBLY-SW/FRD
3HE-Y217F-00-0X
Unavailable
35
COVER TOP ASSEMBLY
3HE-Y217F-00-2X
Unavailable
35
CLIP (7K7)
90467-11044-00
Unavailable
37
EMBLEM, YAMAHA
99243-00160-00
Unavailable
37
EMBLEM, YAMAHA(3GM)
99226-00160-00
Unavailable
38
. GRAPHIC SET (NEW YAMAHA BLACK)
3HE-24250-10-00
Unavailable
39
GROMMET(3AK)
90480-18495-00
Unavailable
40
. PLATE, CAP
3HE-24614-00-00
Unavailable
41
BOLT, HEXAGON SOCKET HEAD(1WG)
90110-06134-00
Unavailable
42
DAMPER
1WG-24665-00-00
Unavailable
43
BOLT, HEXAGON SOCKET HEAD
90110-06133-00
Unavailable
44
WASHER, PLATE
90201-06380-00
Unavailable
45
NUT, HEXAGON
95380-06600-00
Unavailable
46
FUEL PUMP COMP.
3EN-13907-00-00
Unavailable
47
HOSE
90445-146F9-00
Unavailable
48
CLIP(3YX)
90467-13133-00
Unavailable
49
DAMPER, LOCATING 3
1WG-24183-00-00
Unavailable
50
SCREW, BINDING
90154-06040-00
Unavailable
51
GROMMET
4X7-21719-00-00
Unavailable
52
COLLAR
90387-112R6-00
Unavailable
53
WASHER, PLATE (J10)
90201-06697-00
Unavailable
54
SCREW, PAN HEAD (76T)
98517-06025-00
Unavailable
55
BOLT, HEXAGON SOCKET HEAD
90110-06170-00
Unavailable
56
COVER, FILLER
1WG-2414A-00-00
Unavailable
57
WASHER, RING
1WG-24622-00-00
Unavailable
58
SPACER
90560-03220-00
Unavailable
59
HOSE (L1050)
90445-072G8-00
Unavailable
