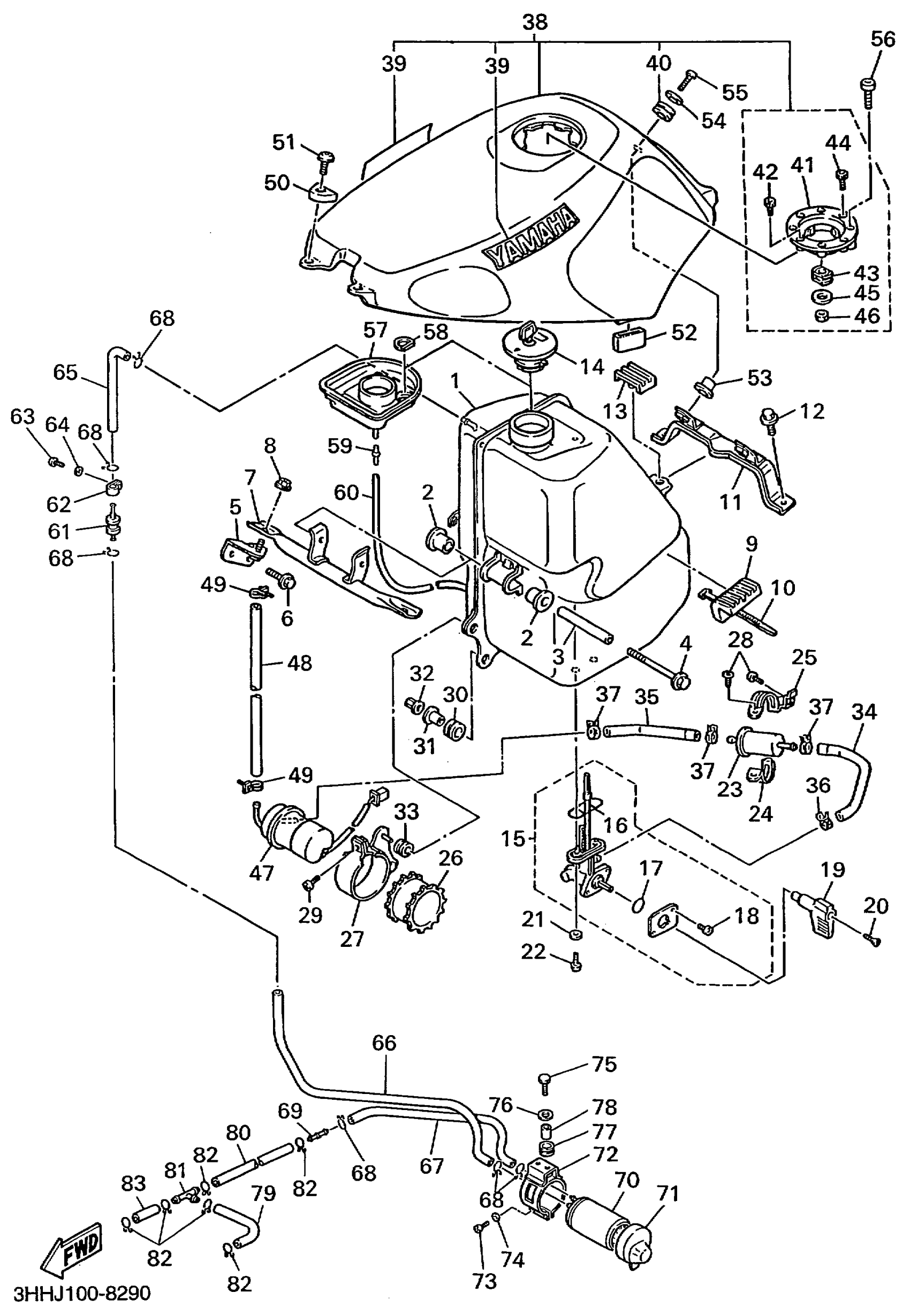
Yamaha FZR600RLC (FZR600R CA) 3UUA 1999 FUEL TANK Diagram
#
1
FUEL TANK COMP.
3HE-24110-00-00
Unavailable
1
FUEL TANK COMP.
3HE-24110-10-00
Unavailable
2
DAMPER, LOCATING 1
1HX-24181-00-00
Unavailable
3
COLLAR
90387-06380-00
Unavailable
5
BRACKET, TANK FITTING
3EN-21346-00-00
Unavailable
7
BRACKET, TANK FITTING
1WG-21345-00-00
Unavailable
9
DAMPER, LOCATING 2
1HX-24182-00-00
Unavailable
11
BRACKET, TANK FITTING
1WG-21348-00-00
Unavailable
13
DAMPER, LOCATING 5
1WG-24185-00-00
Unavailable
14
CAP ASSEMBLY
1WG-24602-00-00
Unavailable
14
CAP ASSEMBLY
3FH-24602-00-00
Unavailable
15
FUEL COCK ASSY 1
3HE-24500-01-00
Unavailable
16
O-RING
4X8-24512-00-00
Unavailable
17
SEAL, COCK
3AJ-24534-01-00
Unavailable
18
SCREW, PAN HEAD (J10)
98580-03008-00
Unavailable
19
LEVER, COCK
3HE-24524-00-00
Unavailable
20
SCREW, FLAT HEAD(3HH)
98707-04018-00
Unavailable
21
WASHER, PLATE(3MB)
90202-05187-00
Unavailable
22
SCREW 256241430000
90149-06011-00
Unavailable
23
FILTER ASSY
1FK-24560-10-00
Unavailable
24
BAND, FILTER
26H-24568-00-00
Unavailable
25
BRACKET, FILTER
1WG-24566-00-00
Unavailable
26
BAND 1
1WG-24398-01-00
Unavailable
27
BRACKET,FUEL PUMP
3HE-24491-00-00
Unavailable
28
SCREW, BINDING
98907-05014-00
Unavailable
29
SCREW, BINDING
98907-05010-00
Unavailable
30
GROMET (3X3)
90480-14229-00
Unavailable
31
COLLAR 437216330000
90387-07391-00
Unavailable
32
NUT, FLANGE(4MV)
95707-06500-00
Unavailable
33
GROMMET(1WG)
90480-11454-00
Unavailable
34
PIPE, FUEL 1
1WG-24311-00-00
Unavailable
35
HOSE
90445-137F4-00
Unavailable
36
CLIP(3BM)
90467-10135-00
Unavailable
37
CLIP (7K7)
90467-11044-00
Unavailable
38
COVER, TOP (FUEL TANK)
3HE-Y217F-80-33
Unavailable
39
EMBLEM, YAMAHA
99241-00180-00
Unavailable
40
GROMMET(3AK)
90480-18495-00
Unavailable
41
. PLATE, CAP
3HE-24614-00-00
Unavailable
42
BOLT, HEXAGON SOCKET HEAD(1WG)
90110-06134-00
Unavailable
43
DAMPER
1WG-24665-00-00
Unavailable
44
BOLT, HEXAGON SOCKET HEAD
90110-06133-00
Unavailable
45
WASHER, PLATE
90201-06380-00
Unavailable
46
NUT(6TA)
95317-06600-00
Unavailable
47
FUEL PUMP COMP.
3EN-13907-00-00
Unavailable
48
HOSE
90445-146F9-00
Unavailable
49
CLIP(3YX)
90467-13133-00
Unavailable
50
DAMPER, LOCATING 3
1WG-24183-00-00
Unavailable
51
SCREW, BINDING
90154-06040-00
Unavailable
52
GROMMET
4X7-21719-00-00
Unavailable
53
COLLAR
90387-112R6-00
Unavailable
54
WASHER, PLATE(36Y)
90201-063J2-00
Unavailable
55
SCREW, PAN HEAD (76T)
98517-06025-00
Unavailable
56
BOLT, HEXAGON SOCKET HEAD
90110-06170-00
Unavailable
57
COVER, FILLER
1WG-2414A-00-00
Unavailable
58
WASHER, RING
1WG-24622-00-00
Unavailable
59
SPACER
90560-03220-00
Unavailable
60
HOSE (L1050)
90445-072G8-00
Unavailable
61
ROLL OVER VALVE ASSY
25H-24180-00-00
Unavailable
62
CLAMP
90464-15014-00
Unavailable
63
SCREW, PAN HEAD(3LA)
98517-05010-00
Unavailable
64
WASHER(1RW)
92907-05600-00
Unavailable
65
PIPE 3
3FH-24313-00-00
Unavailable
66
HOSE
90445-11M71-00
Unavailable
67
HOSE (L400)
90445-116K9-00
Unavailable
68
CLIP
90467-100A1-00
Unavailable
69
TUBE, CONNECTING
42H-24119-00-00
Unavailable
70
CANISTER ASSEMBLY
3FH-24170-00-00
Unavailable
71
COVER, CANISTER
2JU-2419E-00-00
Unavailable
72
CANISTER HOLDER
3FH-24190-00-00
Unavailable
73
SCREW, PAN HEAD(JJ6)
98507-05016-00
Unavailable
74
WASHER(1RW)
92907-05600-00
Unavailable
75
BOLT, HEXAGON
97017-06020-00
Unavailable
76
WASHER, PLATE
90201-06380-00
Unavailable
77
GROMMET (1E6)
90480-15058-00
Unavailable
78
COLLAR
90387-06113-00
Unavailable
79
PIPE 2
3HW-24312-00-00
Unavailable
80
HOSE
90445-11611-00
Unavailable
81
PIPE, JOINT
3H3-24376-00-00
Unavailable
82
CLIP
90467-100A1-00
Unavailable
83
HOSE (L120)
90445-113E8-00
Unavailable
