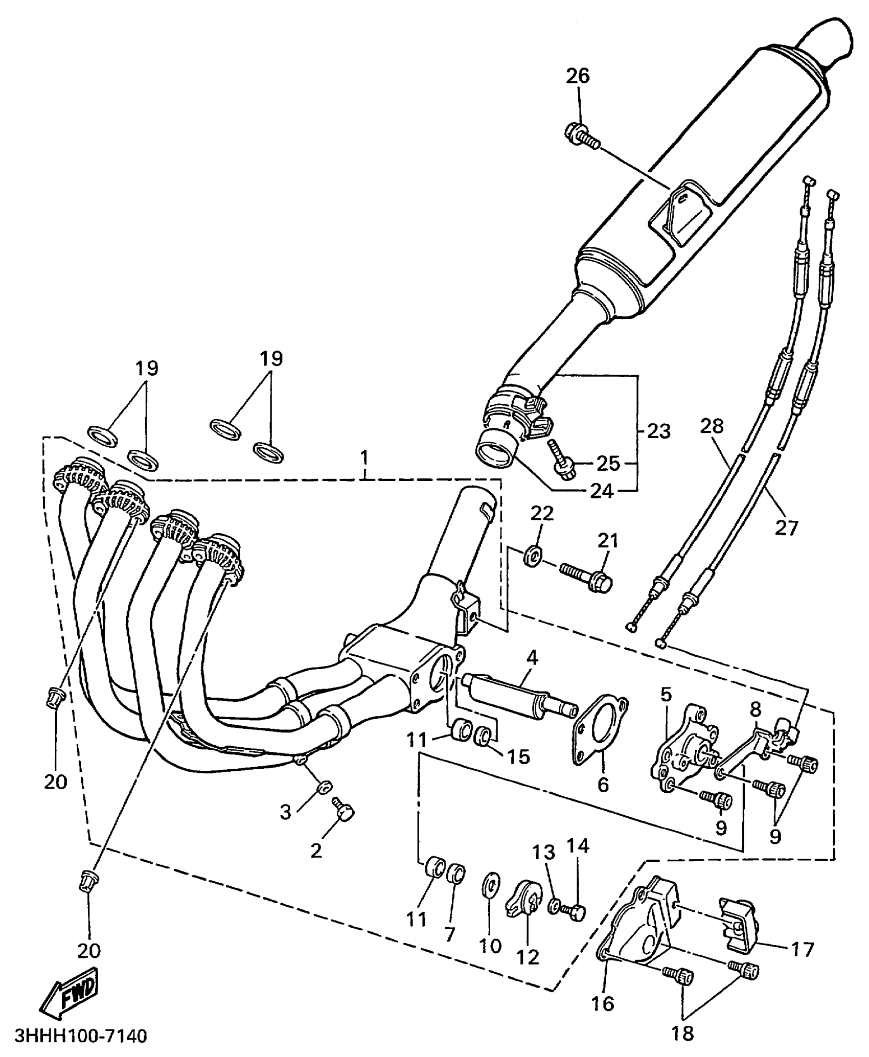
Yamaha FZR600RLC (FZR600R CA) 3UUA 1999 EXHAUST 2 Diagram
#
Description
Price
1
EXHAUST PIPE ASSEMBLY 1
3HW-14610-00-00
Unavailable
4
. ARM, SHAFT (VALVE)
3FH-14821-01-00
Unavailable
5
. HOUSING
3FH-14811-00-00
Unavailable
6
. GASKET
3FH-14815-00-00
Unavailable
7
. DUST SEAL ASSEMBLY
2TK-14845-00-00
Unavailable
8
. BRACKET
2TK-14867-01-00
Unavailable
11
. BUSH, SOLID
90380-10197-00
Unavailable
12
PULLEY
2TK-14865-01-00
Unavailable
15
COLLAR(3FH)
90387-106U7-00
Unavailable
16
PROTECTOR,EXHAUST
4HD-14826-00-00
Unavailable
17
COVER, EXHAUST
3EN-14624-10-00
Unavailable
18
BOLT, WITH WASHER
90119-06131-00
Unavailable
19
GASKET, EXHAUST PIPE
3YF-14613-01-00
Unavailable
20
NUT(2UJ)
90179-06668-00
Unavailable
21
BOLT, FLANGE(6TA)
95817-08030-00
Unavailable
22
WASHER, PLATE (12X)
90201-087F0-00
Unavailable
23
MUFFLER ASY L
3HH-14710-11-00
Unavailable
24
. GASKET, SILENCER
3HE-14755-00-00
Unavailable
25
BOLT, FLANGE(4LN)
95817-08025-00
Unavailable
26
BOLT, FLANGE
95817-08012-00
Unavailable
27
CABLE, PULLEY 1
3HX-1133E-03-00
Unavailable
28
CABLE, PULLEY 2
3HX-1133F-03-00
Unavailable
