- Partiron
- OEM Parts
- Yamaha
- motorcycle
- 1997
- FZR600RJC (FZR600R CA) 3UU8 1997
ELECTRICAL 1
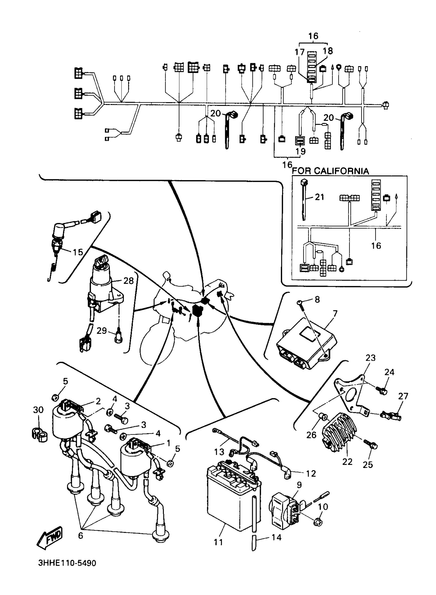
Yamaha FZR600RJC (FZR600R CA) 3UU8 1997 ELECTRICAL 1 Diagram
#
Description
Price
6
PLUG CAP ASSEMBLY
1WG-82370-00-00
Unavailable
7
IGNITOR UNIT ASSEMBLY
3HE-82305-00-00
Unavailable
7
IGNITOR UNIT ASSEMBLY
3UU-82305-10-00
Unavailable
9
STARTER RELAY ASSY
36Y-81940-00-00
Unavailable
11
YB12ALA2 YUASA BATTERY
YB1-2ALA2-00-00
Unavailable
12
WIRE, PLUS LEAD
1WG-82115-00-00
Unavailable
13
WIRE,MINUS LEAD
4BP-82116-00-00
Unavailable
14
HOSE
90445-08719-00
Unavailable
15
STOP SWITCH ASSY
1KT-82530-03-00
Unavailable
16
WIRE HARNESS ASSEMBLY
3HH-82590-11-00
Unavailable
16
WIRE HARNESS ASSEMBLY
3UU-82590-01-00
Unavailable
17
FUSE (20A)
2GV-82151-00-00
Unavailable
18
FUSE (10A)
42X-82151-00-00
Unavailable
19
FUSE (12V 30A)
1AE-82151-00-00
Unavailable
20
CLAMP(4FM)
90464-15195-00
Unavailable
21
BAND
1UA-82591-00-00
Unavailable
22
RECTIFIER & REGULATOR ASSY
4JH-81960-01-00
Unavailable
23
PLATE, RECTIFIER FITTING
3HH-81975-00-00
Unavailable
24
BOLT, FLANGE
95817-06010-00
Unavailable
25
BOLT, FLANGE
95817-06025-00
Unavailable
26
NUT(1WT)
90179-06520-00
Unavailable
27
CLAMP
90464-11107-00
Unavailable
28
MAIN SWITCH STEERING LOCK
3JV-82501-00-00
Unavailable
29
SCREW(1KT)
90149-06228-00
Unavailable
30
CLAMP(6M7)
90464-09M31-00
Unavailable
