Yamaha FZR600RHC (FZR600R CA) 1996 CRANKCASE Diagram
#
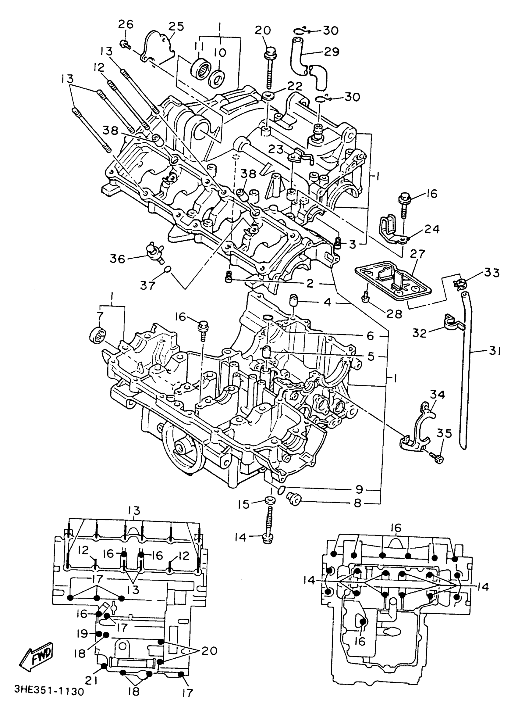
1
CRANKCASE ASSY
3HE-15100-11-00
Unavailable
2
NOZZLE 1
11H-15138-00-00
Unavailable
5
. NOZZLE 1
1HX-15138-00-00
Unavailable
8
PLUG
36Y-15189-01-00
Unavailable
12
BOLT, STUD
90116-08526-00
Unavailable
13
BOLT, STUD
90116-08525-00
Unavailable
16
BOLT, FLANGE
95817-06040-00
Unavailable
17
BOLT, FLANGE
95817-06050-00
Unavailable
18
BOLT, FLANGE
95817-06070-00
Unavailable
19
BOLT, FLANGE
95817-06080-00
Unavailable
20
BOLT, FLANGE
95817-06090-00
Unavailable
21
BOLT, FLANGE(JN5)
95817-08070-00
Unavailable
22
GASKET (4V2)
90430-06166-00
Unavailable
23
CLAMP
90465-10307-00
Unavailable
24
CLAMP
90465-10308-00
Unavailable
25
PLATE, BREATHER
3HE-11165-00-00
Unavailable
26
SCREW, PAN
98517-06012-00
Unavailable
27
PLATE, BREATHER 2
5RT-11145-00-00
Unavailable
28
SCREW, PAN
98517-06012-00
Unavailable
29
PIPE, BREATHER 1
1WG-11166-00-00
Unavailable
30
CLIP (371)
90467-14015-00
Unavailable
31
HOSE (L370)
90445-112E1-00
Unavailable
32
CLAMP(1HX)
90465-06289-00
Unavailable
33
CLIP
90467-10038-00
Unavailable
34
PLATE, BEARING COVER
1WG-15381-00-00
Unavailable
35
BOLT,SOCKET
91317-06012-00
Unavailable
36
NOZZLE ASSY
5RT-15105-00-00
Unavailable
37
O-RING (26H)
93210-06632-00
Unavailable
