- Partiron
- OEM Parts
- Yamaha
- motorcycle
- 1991
- FZR600RBC (FZR600 CA) 1991
FUEL TANK CALIFORNIA ONLY
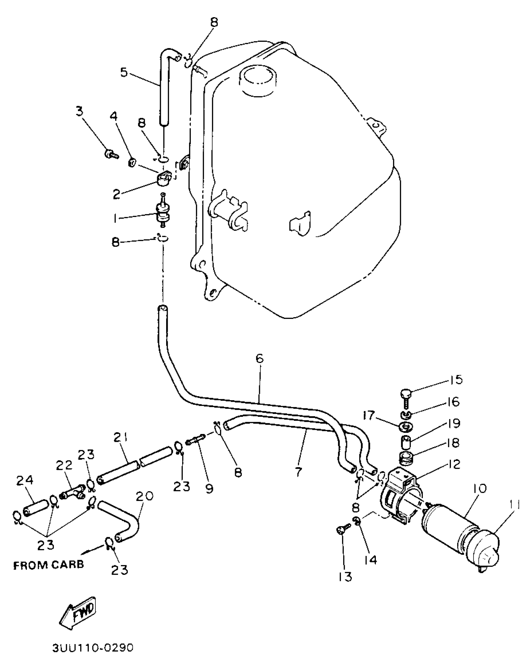
Yamaha FZR600RBC (FZR600 CA) 1991 FUEL TANK CALIFORNIA ONLY Diagram
#
Description
Price
1
ROLL OVER VALVE ASSY
25H-24180-00-00
Unavailable
3
SCREW, PAN HEAD(62X)
97885-05010-00
Unavailable
5
PIPE 3
3FH-24313-00-00
Unavailable
6
HOSE
90445-11M71-00
Unavailable
9
TUBE, CONNECTING
42H-24119-00-00
Unavailable
10
CANISTER ASSEMBLY
3FH-24170-00-00
Unavailable
11
COVER, CANISTER
(2JU-2419E-00-00)
Unavailable
12
CANISTER HOLDER
(3FH-24190-00-00)
Unavailable
13
SCREW, PAN HEAD
90157-05M19-00
Unavailable
16
WASHER, SPRING
92907-06100-00
Unavailable
17
WASHER, PLATE
90201-06380-00
Unavailable
18
GROMMET (1E6)
90480-15058-00
Unavailable
19
COLLAR
90387-06113-00
Unavailable
20
PIPE 2
3HW-24312-00-00
Unavailable
21
HOSE
90445-11611-00
Unavailable
22
PIPE, JOINT
3H3-24376-00-00
Unavailable
24
HOSE (L120)
90445-113E8-00
Unavailable
