Partiron

Yamaha FZR600RAC (FZR600 CA) 1990 STEERING Diagram

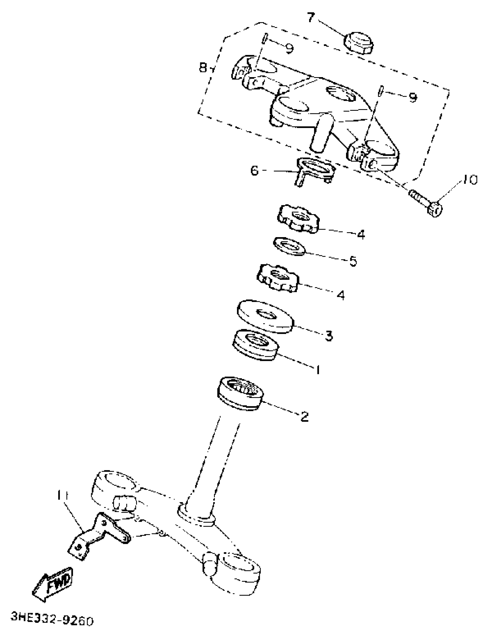
#

Description
Price

1

BRG, TAPERED ROLLER (409)

93332-00001-00

$58.99

2

BRG,CYL-CAL ROLLER 131G KY

93332-00008-00

$67.99

3

COVER, BALL RACE 1

1J7-23415-00-00

$6.99

4

NUT

90179-25004-00

$24.99

5

WASHER, PLATE (26H)

90202-26142-00

$9.49

6

WASHER, SPECIAL

26H-23418-01-00

$14.49

7

NUT, CROWN(4FM)

90176-22081-00

$34.99

8

CROWN, HANDLE

3HE-23435-00-00

Unavailable

9

PIN, SPRING

91690-40010-00

Unavailable

10

BOLT,SOCKET

91314-08030-00

$2.34

11

STAY

3HE-2317E-00-00

Unavailable