- Partiron
- OEM Parts
- Yamaha
- motorcycle
- 1990
- FZR600RAC (FZR600 CA) 1990
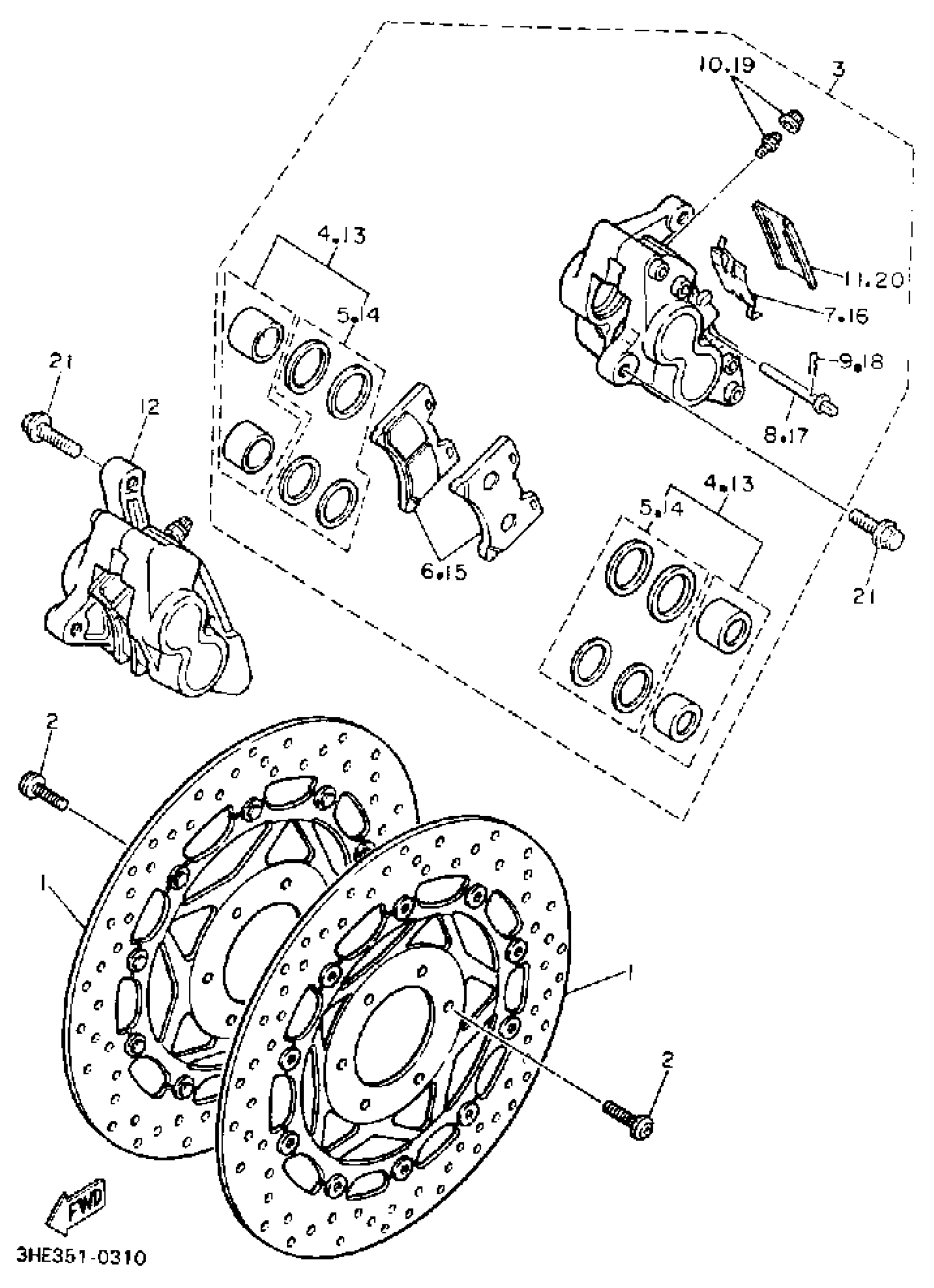
FRONT BRAKE CALIPER
Yamaha FZR600RAC (FZR600 CA) 1990 FRONT BRAKE CALIPER Diagram
#
Description
Price
3
CALIPER ASSY (LEFT)
3HE-2580T-70-00
Unavailable
4
PISTON ASSY, CALIPER (FRONT)
3HE-W0057-50-00
Unavailable
7
. SUPPORT, PAD
3GM-25919-00-00
Unavailable
8
PIN, PAD
3HE-25924-00-00
Unavailable
10
BLEED SCREW KIT
1J3-W0048-00-00
Unavailable
12
CALIPER ASSY (RIGHT)
3HE-2580U-70-00
Unavailable
13
PISTON ASSY, CALIPER (FRONT)
3HE-W0057-50-00
Unavailable
16
. SUPPORT, PAD
3GM-25919-00-00
Unavailable
17
PIN, PAD
3HE-25924-00-00
Unavailable
19
BLEED SCREW KIT
1J3-W0048-00-00
Unavailable
21
BOLT, WASHER BASED(3VD)
90105-10638-00
Unavailable
