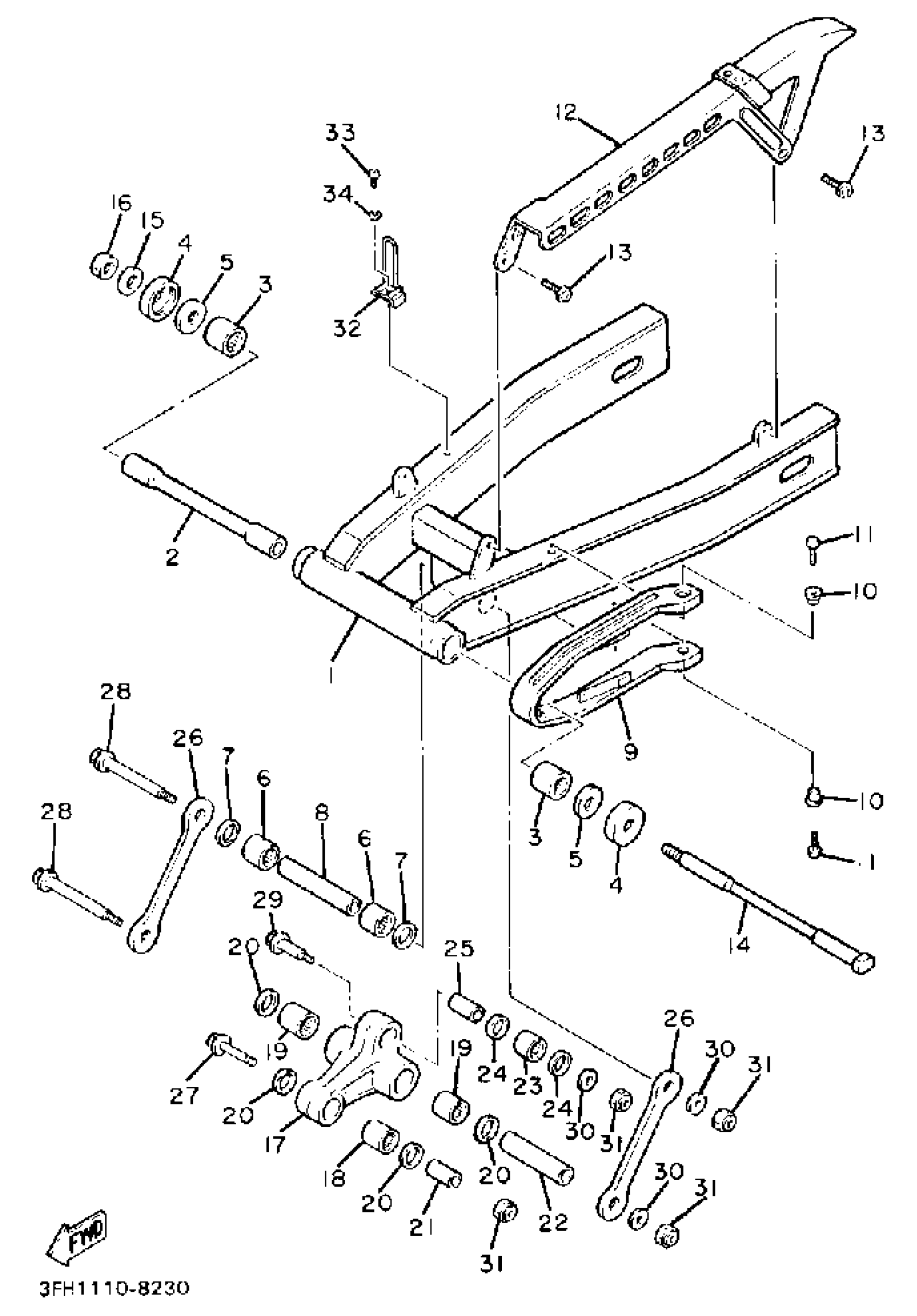
Yamaha FZR400SWC (FZR400 CA) 1989 SWING ARM Diagram
#
Description
Price
1
REAR ARM
3FH-22110-00-00
Unavailable
2
BUSH
33M-22184-00-00
Unavailable
5
WASHER, PLATE(47X)
90201-161J2-00
Unavailable
9
SEAL, GUARD
1WG-22151-00-00
Unavailable
12
CHAIN CASE ASSEMBLY
1WG-22310-00-00
Unavailable
14
SHAFT, PIVOT
46X-22141-00-00
Unavailable
16
NUT, SELF-LOCKING (1J7)
90185-14070-00
Unavailable
17
ARM, RELAY
(1WG-2217A-00-00)
Unavailable
18
BRG,CYL-CAL ROLLER 20G NT
93317-31701-00
Unavailable
21
COLLAR(1WG)
90387-102R4-00
Unavailable
23
BEARING(47X)
93399-99919-00
Unavailable
24
OIL SEAL(47X)
93101-16131-00
Unavailable
25
COLLAR
90387-124L0-00
Unavailable
26
ARM 1
1WG-2217M-00-00
Unavailable
27
BOLT, WASHER BASED(1FK)
90105-10376-00
Unavailable
28
BOLT(1WG)
90101-10658-00
Unavailable
29
BOLT(1WG)
90101-10659-00
Unavailable
30
WASHER, PLATE(47X)
90201-101J1-00
Unavailable
31
NUT, U
95614-10100-00
Unavailable
32
HOLDER,BRKE HOSE 1
2GH-25875-50-00
Unavailable
33
SCREW PAN HEAD
98580-06020-00
Unavailable
34
WASHER, SPRING
92995-06100-00
Unavailable
