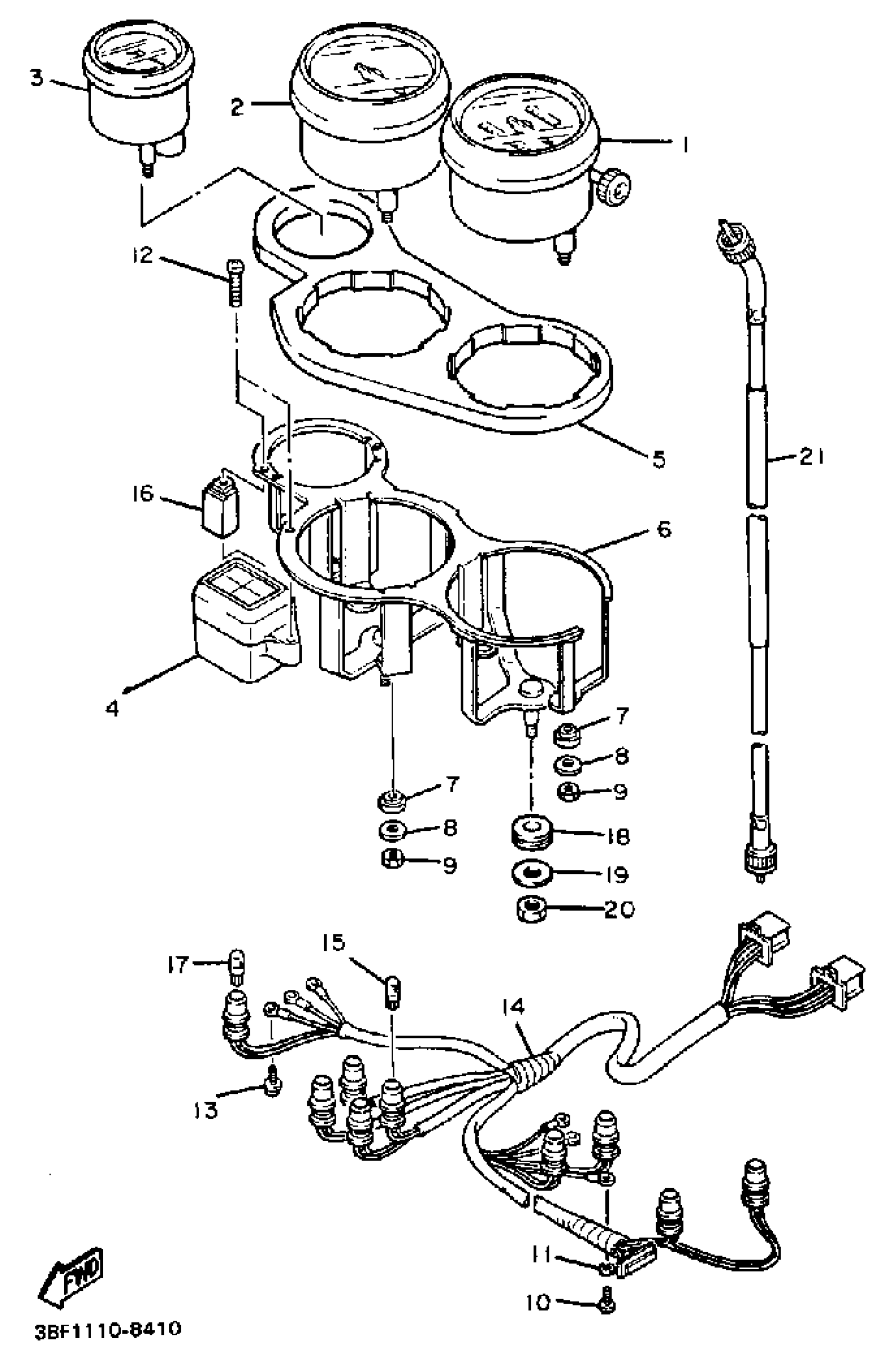
Yamaha FZR400SUC (FZR400 CA) 1988 METER Diagram
#
Description
Price
1
SPEEDOMETER ASSEMBLY
3FH-83570-00-00
Unavailable
2
TACHOMETER ASSEMBLY
3FH-83540-00-00
Unavailable
3
WATER TEMP METERASSEMBLY
1WG-83590-00-00
Unavailable
4
PILOT LIGHT
2KK-83530-00-00
Unavailable
5
DAMPER
1WG-83513-00-00
Unavailable
6
BRACKET, METER
1WG-83519-00-00
Unavailable
7
DAMPER, METER COVER FITTING
584-83523-00-00
Unavailable
8
WASHER PLATE 803835240000
90201-05032-00
Unavailable
10
SCREW, PAN HEAD(3KS)
98507-03012-00
Unavailable
12
YBS83-320 SCREW,PANH.TAPPING
97780-30120-00
Unavailable
13
SCREW, WITH WASHER(36Y)
90159-03102-00
Unavailable
14
SOCKET CORD ASSEMBLY
3FH-83520-00-00
Unavailable
15
BULB, MTR.12V3.4W
4G1-84744-00-XX
Unavailable
16
NUT, PILOT LIGHT
1WG-83588-00-00
Unavailable
17
BULB (12V-1.7W)
3GM-83517-00-00
Unavailable
18
GROMET (3X3)
90480-14229-00
Unavailable
19
WASHER, PLATE 8221447500
90201-06057-00
Unavailable
20
NUT(6TA)
95317-06600-00
Unavailable
21
SPD MTR CABLE
46X-83550-01-00
Unavailable
