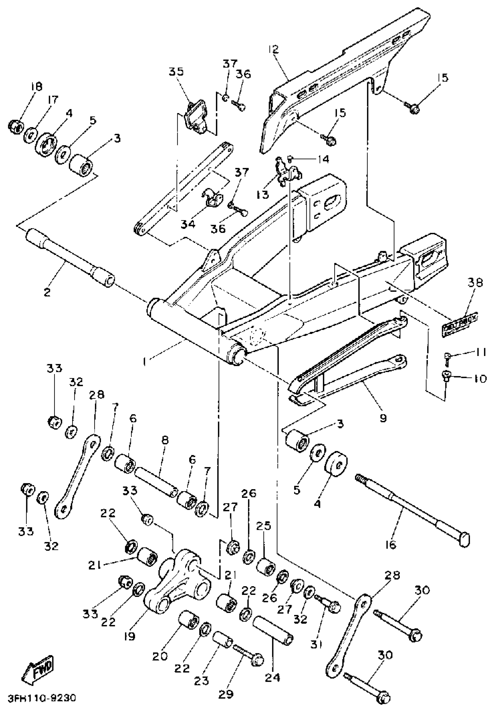
Yamaha FZR400SAC (FZR400 CA) 1990 SWING ARM Diagram
#
Description
Price
1
REAR ARM
3EN-22110-50-00
Unavailable
2
BUSH
33M-22184-00-00
Unavailable
5
WASHER, PLATE(47X)
90201-161J2-00
Unavailable
9
PROTECTOR CHAIN
3EN-22147-50-00
Unavailable
12
CASE, CHAIN
3BF-22311-50-00
Unavailable
13
STAY, CHAIN CASE 1
3EN-22321-50-00
Unavailable
14
RIVET, BLIND
90267-48117-00
Unavailable
16
SHAFT, PIVOT
46X-22141-00-00
Unavailable
17
WASHER PLATE (3L6)
90201-14740-00
Unavailable
18
NUT, SELF-LOCKING (1J7)
90185-14070-00
Unavailable
19
ARM, RELAY
(1WG-2217A-00-00)
Unavailable
20
BRG,CYL-CAL ROLLER 20G NT
93317-31701-00
Unavailable
23
COLLAR(1WG)
90387-102R4-00
Unavailable
25
BEARING(47X)
93399-99919-00
Unavailable
26
OIL SEAL(47X)
93101-16131-00
Unavailable
27
COLLAR(3BC)
90387-124W2-00
Unavailable
28
ARM 1
1WG-2217M-00-00
Unavailable
29
BOLT, WASHER BASED(1FK)
90105-10376-00
Unavailable
30
BOLT(1WG)
90101-10658-00
Unavailable
31
BOLT(1WG)
90101-10659-00
Unavailable
32
WASHER, PLATE(47X)
90201-101J1-00
Unavailable
33
NUT, U
95614-10100-00
Unavailable
34
HOLDER, BRKE HOSE 2HOSE 2
3EN-25876-50-00
Unavailable
35
HOLDER, BRAKE HOSE
3EN-25886-50-00
Unavailable
36
BOLT(3JP)
97017-06010-00
Unavailable
37
WASHER, SPRING
92995-06100-00
Unavailable
38
EMBLEM, REAR ARM
3EN-2218A-51-00
Unavailable
