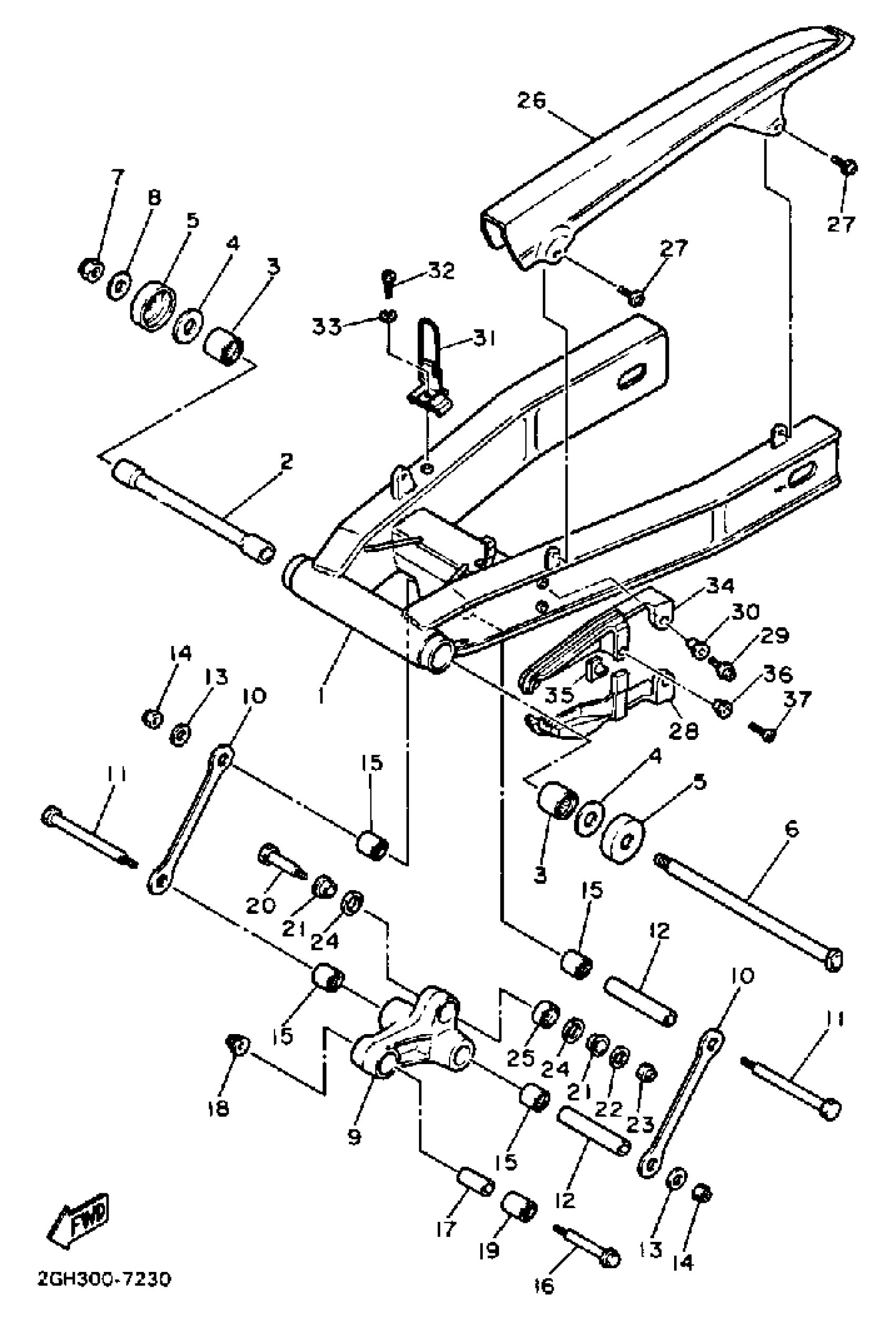
Yamaha FZR1000TC (FZR1000 CA) 1987 SWING ARM Diagram
#
1
REAR ARM (2GH-22110-00)
2NK-22110-00-00
Unavailable
2
BUSH
36Y-22184-00-00
Unavailable
3
BEARING, CYLINDRICAL(36Y)
93317-42550-00
Unavailable
4
SHIM
36Y-22127-00-00
Unavailable
5
COVER, THRUST 1
36Y-22128-00-00
Unavailable
6
SHAFT, PIVOT
2GH-22141-00-00
Unavailable
9
ARM, RELAY
2KT-2217A-00-00
Unavailable
10
ARM 1
1WG-2217M-00-00
Unavailable
12
COLLAR(2GH)
90387-126T1-00
Unavailable
16
BOLT, WASHER BASED(2GH)
90105-10454-00
Unavailable
17
COLLAR(2MF)
90387-100T8-00
Unavailable
18
NUT, SELF-LOCKING
90185-10170-00
Unavailable
19
BEARING, CYLINDRICAL(2GH)
93317-42060-00
Unavailable
20
BOLT(1WG)
90101-10659-00
Unavailable
21
COLLAR
90387-124L0-00
Unavailable
22
WASHER, PLATE(3BM)
90201-105R9-00
Unavailable
23
NUT, U
95614-10100-00
Unavailable
24
OIL SEAL(47X)
93101-16131-00
Unavailable
25
BEARING(47X)
93399-99919-00
Unavailable
26
CASE, CHAIN
2GH-22311-00-00
Unavailable
27
SCREW, PANHEAD W/WASHER (22F)
90159-06082-00
Unavailable
28
SEAL, GUARD
(2GH-22151-20-00)
Unavailable
29
SCREW, WITH WASHER
90159-06108-00
Unavailable
29
SCREW, WITH WASHER
90159-06110-00
Unavailable
30
COLLAR
90387-06704-00
Unavailable
31
HOLDER,BRKE HOSE 1
2GH-25875-50-00
Unavailable
32
SCREW PAN HEAD
98580-06020-00
Unavailable
33
WASHER, SPRING
92995-06100-00
Unavailable
34
SEAL, GUARD
2GH-22152-20-00
Unavailable
35
PLATE
31A-14477-10-00
Unavailable
36
SPACER (25G)
90560-06244-00
Unavailable
37
SCREW, PAN
98517-06012-00
Unavailable
