Yamaha FZR1000AC (FZR1000 CA) 1990 FRAME Diagram
#
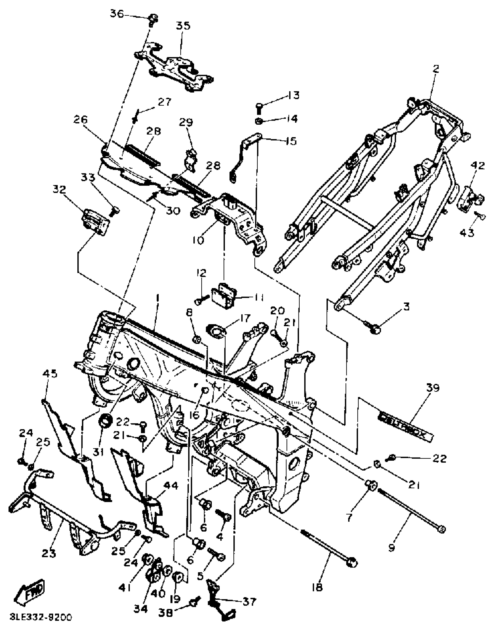
1
FRAME
3LK-21110-00-00
Unavailable
2
REAR FRAME
3GM-21190-00-33
Unavailable
3
BOLT, WASHER BASEDBASED
90105-10459-00
Unavailable
5
BOLT, HEXAGON SOCKET HEAD
90110-10168-00
Unavailable
6
COLLAR
90387-115V8-00
Unavailable
7
COLLAR
90387-105V7-00
Unavailable
8
NUT
90179-10682-00
Unavailable
9
BOLT, HEXAGON SOCKET HEAD
90110-10169-00
Unavailable
10
BRACKET, TANK FTNGFITTING
3GM-21348-01-00
Unavailable
11
BRACKET, TANK FITTING
3GM-21347-00-00
Unavailable
15
CLAMP
3GM-21548-00-00
Unavailable
16
PLUG(2GH)
90338-15202-00
Unavailable
17
COVER 5
2GH-2117T-00-00
Unavailable
18
BOLT, WASHER BASED(4FM)
90105-10716-00
Unavailable
19
NUT(4KG)
90179-10658-00
Unavailable
20
BOLT
97017-08035-00
Unavailable
21
WASHER, PLAIN
92990-08200-00
Unavailable
22
BOLT
97017-08035-00
Unavailable
23
BRACKET, COOLER 1COOLER 1
3GM-2136A-00-00
Unavailable
26
COVER 2
3GM-2117M-00-00
Unavailable
27
RIVET, BLIND (8K1)
90267-40076-00
Unavailable
28
GROMMET
2GH-15365-00-00
Unavailable
29
STAY
3GM-2117A-00-00
Unavailable
30
RIVET, BLIND (8K1)
90267-40076-00
Unavailable
31
GROMMET(3GM)
90480-35526-00
Unavailable
32
BRACKET, TANK FTNGFITTING
3GM-21345-00-00
Unavailable
33
BOLT, SOCKET
91317-08016-00
Unavailable
34
STAY, MUFFLER 2
4FM-21446-01-00
Unavailable
35
BRACKET, COIL
3GM-21359-00-00
Unavailable
36
BOLT, WITH WASHER(55K)
90119-06114-00
Unavailable
37
BRACKET, BATTERY BOX
3GM-21149-00-00
Unavailable
38
BOLT, FLANGE
95817-06010-00
Unavailable
39
EMBLEM
1RK-2118E-00-00
Unavailable
40
WASHER, PLATE(47X)
90201-101J1-00
Unavailable
41
NUT, FLANGE(3BM)
95704-10500-00
Unavailable
42
HELMET HANGER ASSY
26H-21308-01-00
Unavailable
43
SCREW (3H1)
90149-06150-00
Unavailable
44
PLATE 1
3GM-28396-00-00
Unavailable
45
PLATE 2
3GM-28397-00-00
Unavailable
