Partiron

Yamaha FZ8NACB (FZ8 CA) 39P3 2011 STARTING MOTOR Diagram

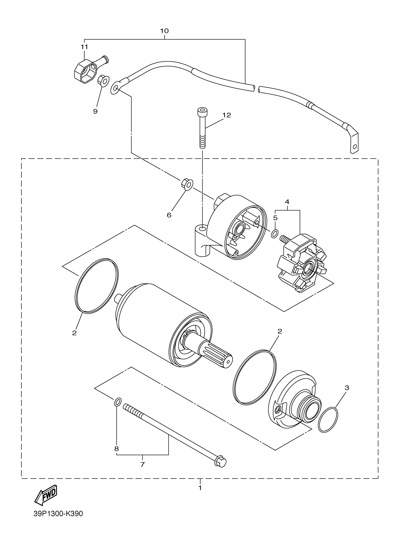
#

Description
Price

1

STARTING MOTOR ASSY

39P-81800-00-00

Unavailable

2

GASKET

35C-81844-00-00

Unavailable

3

O-RING (437)

93210-24235-00

$7.49

4

BRUSH HOLDER ASSY

4B5-81840-00-00

$99.99

5

.. O-RING

3TB-81847-00-00

Unavailable

6

NUT

4XV-8182A-00-00

$7.99

7

BOLT

28P-81826-00-00

Unavailable

8

.. O-RING

3TB-81847-00-00

Unavailable

9

NUT

4XV-8182A-00-00

$7.99

10

CORD, STARTER MOTOR

39P-81815-00-00

$47.99

11

CAP

4B5-81871-00-00

Unavailable

12

TORNILLO ALLEN

91312-06040-00

$8.49