- Partiron
- OEM Parts
- Yamaha
- motorcycle
- 2009
- FZ6RYY (FZ6R) 36P40 2009
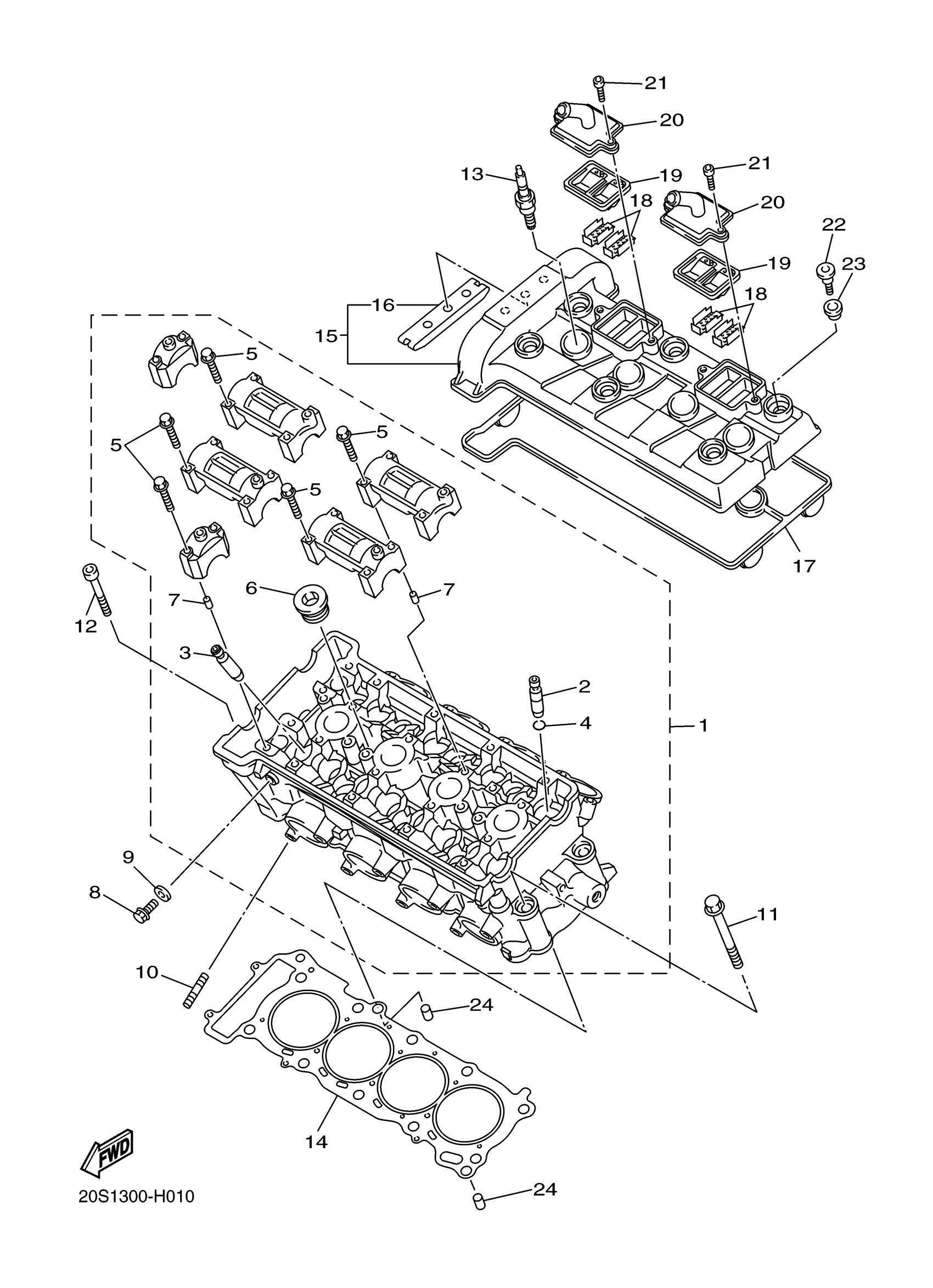
CYLINDER HEAD
Yamaha FZ6RYY (FZ6R) 36P40 2009 CYLINDER HEAD Diagram
#
Description
Price
1
CYLINDER HEAD ASSY
20S-11101-00-00
Unavailable
6
PLUG, STRAIGHT SCREW (26H)
90340-20090-00
Unavailable
13
PLUG, SPARK (NGK R CR9E)
NGK-CR9E0-00-00-00
Unavailable
15
COVER, CYLINDER HEAD 1
1B3-11191-00-00
Unavailable
16
GUIDE, STOPPER 2
5BE-12241-01-00
Unavailable
17
GASKET, HEAD COVER 1
20S-11193-00-00
Unavailable
18
PLATE
5SL-1482K-00-00
Unavailable
19
REED VALVE ASSY
5SL-14890-00-00
Unavailable
20
CAP, CASE
5SL-14899-00-00
Unavailable
21
BOLT,SOCKET HEAD
91314-06020-00
Unavailable
22
BOLT(4BP)
90109-066F0-00
Unavailable
23
RUBBER, MOUNT 1
5VY-1111G-00-00
Unavailable
24
PIN, DOWEL(3VD)
99530-10114-00
Unavailable
