Partiron

Yamaha FZ6RECB (FZR6 CA) 2SR2 2014 REAR SUSPENSION Diagram

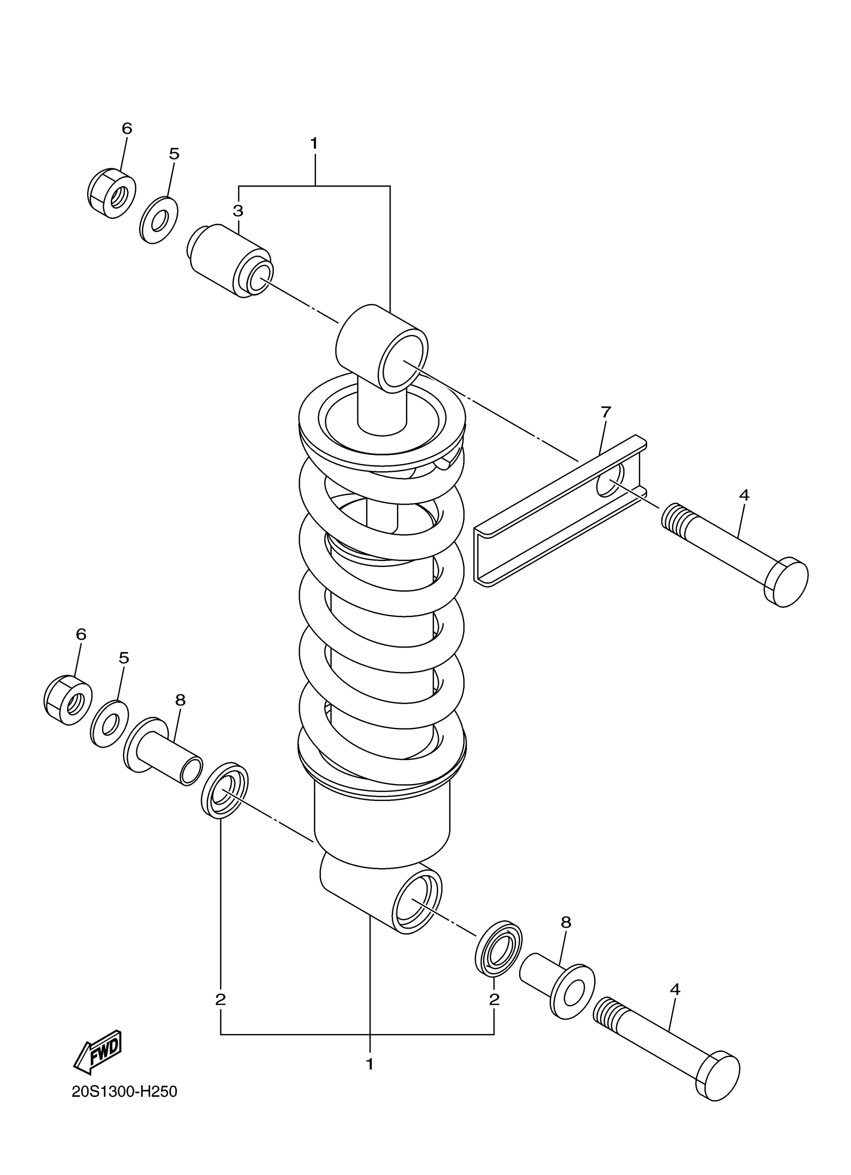
#

Description
Price

1

SHOCK ABSORBER ASSY, REAR

20S-22210-40-00

Unavailable

2

OIL SEAL (2J5)

93109-18020-00

$13.49

3

BUSH, REAR SHOCK ABSORBER

34L-22216-00-00

Unavailable

4

BOLT(3VD)

90109-125F1-00

Unavailable

5

WASHER, PLATE

90201-12050-00

$3.93

6

NUT, U

95612-12100-00

$5.60

7

WASHER 1

20S-22243-00-00

Unavailable

8

COLLAR(3SX)

90387-123X6-00

Unavailable