- Partiron
- OEM Parts
- Yamaha
- motorcycle
- 2013
- FZ6RDL (FZ6R) 36PV 2013
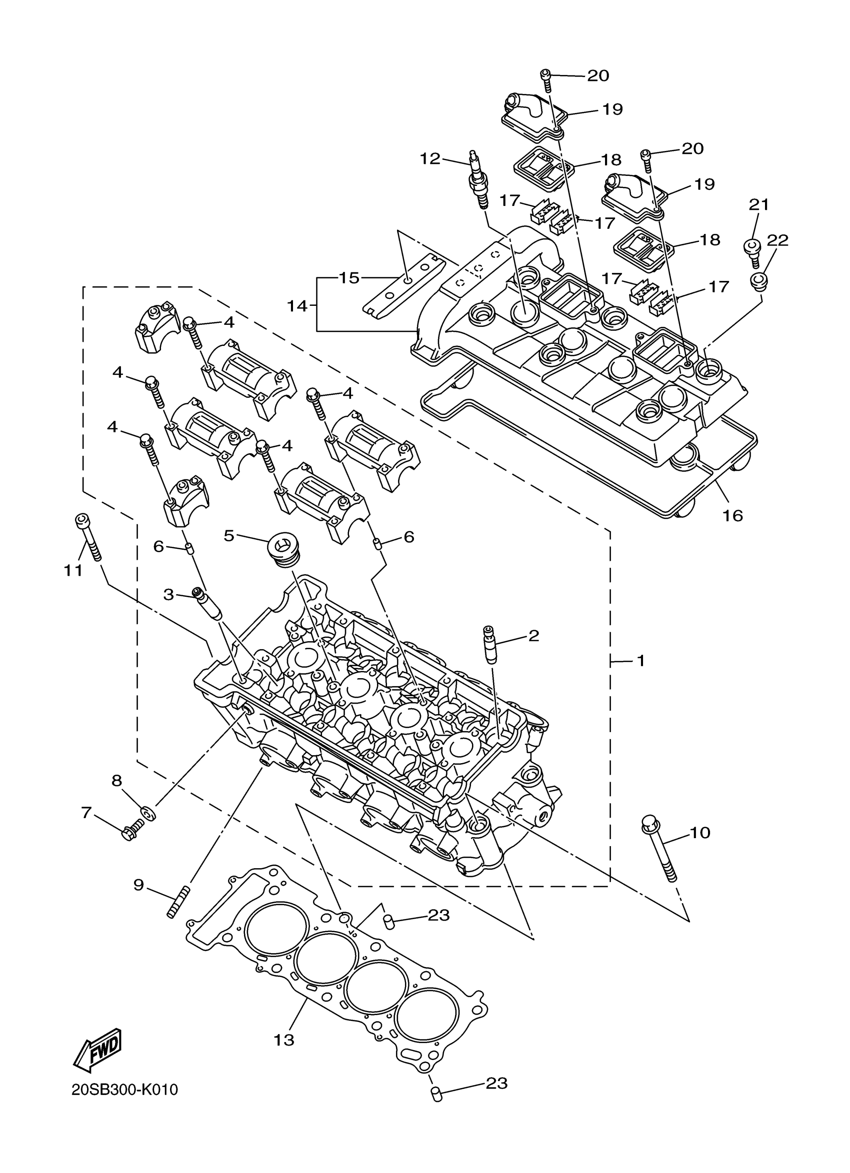
CYLINDER HEAD
Yamaha FZ6RDL (FZ6R) 36PV 2013 CYLINDER HEAD Diagram
#
Description
Price
1
CYLINDER HEAD ASSY
20S-11101-00-00
Unavailable
5
PLUG, STRAIGHT SCREW (26H)
90340-20090-00
Unavailable
12
CR9E NGK SPLUG 4PK
CR9-E0000-00-00
Unavailable
14
COVER, CYLINDER HEAD 1
1B3-11191-10-00
Unavailable
16
GASKET, HEAD COVER 1
20S-11193-00-00
Unavailable
17
PLATE
5SL-1482K-00-00
Unavailable
18
REED VALVE ASSY
5SL-14890-00-00
Unavailable
19
CAP, CASE
5SL-14899-00-00
Unavailable
20
BOLT,SOCKET HEAD
91314-06020-00
Unavailable
21
BOLT(4BP)
90109-066F0-00
Unavailable
22
RUBBER, MOUNT 1
5VY-1111G-00-00
Unavailable
23
PIN, DOWEL(3VD)
99530-10114-00
Unavailable
