Yamaha FZ600SSC (FZ6 CA) 5VX4 2004 FENDER Diagram
#
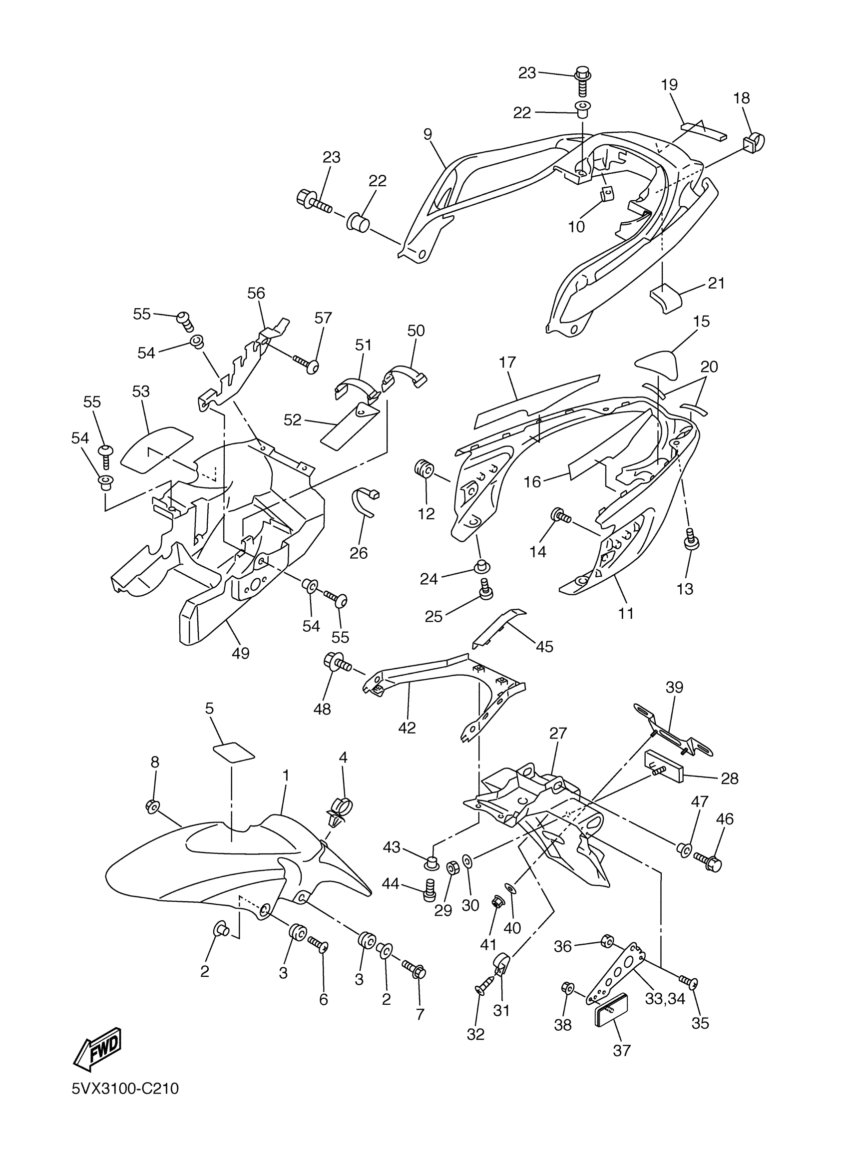
1
FENDER, FRONT
5VX-21511-00-00
Unavailable
1
FENDER, FRONT
5VX-21511-10-00
Unavailable
5
SEAL 1
5VX-21575-00-00
Unavailable
8
NUT (21W)
90179-06403-00
Unavailable
9
HANDLE, SEAT
5VX-24773-00-P0
Unavailable
9
HANDLE, SEAT
5VX-24773-00-P1
Unavailable
11
COVER, REAR FENDER
5VX-21651-00-00
Unavailable
14
SCREW, TRUSS TAP.
97707-50012-00
Unavailable
15
SEAL
5VX-21669-00-00
Unavailable
16
SEAL 1
5VX-21732-00-00
Unavailable
17
SEAL 2
5VX-21735-01-00
Unavailable
18
CLAMP
90464-14002-00
Unavailable
19
DAMPER
4XY-88158-00-00
Unavailable
20
DAMPER 2
5VX-21639-00-00
Unavailable
21
DAMPER 1
31A-28217-00-00
Unavailable
22
COLLAR
90387-09012-00
Unavailable
23
BOLT, FLANGE(4LN)
95817-08025-00
Unavailable
24
COLLAR
90387-06107-00
Unavailable
25
SCREW, BINDING
98907-06012-00
Unavailable
26
BAND
1UA-82591-00-00
Unavailable
27
FLAP
5VX-21621-10-00
Unavailable
28
REAR REFLECTOR ASSY
3Y6-85130-02-00
Unavailable
29
NUT, U
95617-05100-00
Unavailable
30
WASHER, PLATE (8J0)
90201-05725-00
Unavailable
31
CLAMP (712)
90464-18029-00
Unavailable
32
SCREW, TRUSS TAP.
97707-40012-00
Unavailable
33
STAY 3
5VX-2164H-00-00
Unavailable
34
STAY 4
5VX-2164J-00-00
Unavailable
35
SCREW, ROUND HEAD(4KM)
90150-04041-00
Unavailable
36
NUT, U (7LY)
95617-04100-00
Unavailable
37
REAR REFLECTOR ASSY
3Y6-85130-02-00
Unavailable
38
NUT, FLANGE(3GM)
95707-05500-00
Unavailable
39
BRACKET, LICENSE
5MT-84751-00-00
Unavailable
40
WASHER, PLATE 8221447500
90201-06057-00
Unavailable
41
NUT, SELF-LOCKING
95617-06100-00
Unavailable
42
BRACKET 6
5VX-2161G-00-00
Unavailable
43
COLLAR
90387-06107-00
Unavailable
44
BOLT, BUTTON HEAD
92017-06012-00
Unavailable
45
GUIDE, MUD GUARD
5VX-21665-00-00
Unavailable
46
BOLT, WITH WASHER
90119-06242-00
Unavailable
47
COLLAR
90387-06075-00
Unavailable
48
BOLT, FLANGE
95817-08012-00
Unavailable
49
GUARD, MUD
5VX-21629-00-00
Unavailable
50
BAND, BATTERY
3TJ-82131-00-00
Unavailable
51
BAND, BATTERY
26L-82131-00-00
Unavailable
52
TOOL KIT
5VX-28100-00-00
Unavailable
53
SEAL 4
5VX-2173N-00-00
Unavailable
54
COLLAR
90387-06107-00
Unavailable
55
BOLT, BUTTON HEAD
92017-06016-00
Unavailable
56
STAY 1
5VX-2164F-00-00
Unavailable
57
BOLT, BUTTON HEAD
92017-06016-00
Unavailable
