- Partiron
- OEM Parts
- Yamaha
- motorcycle
- 1986
- FZ600SC (FZ600S CA) 1986
REAR MASTER CYLINDER
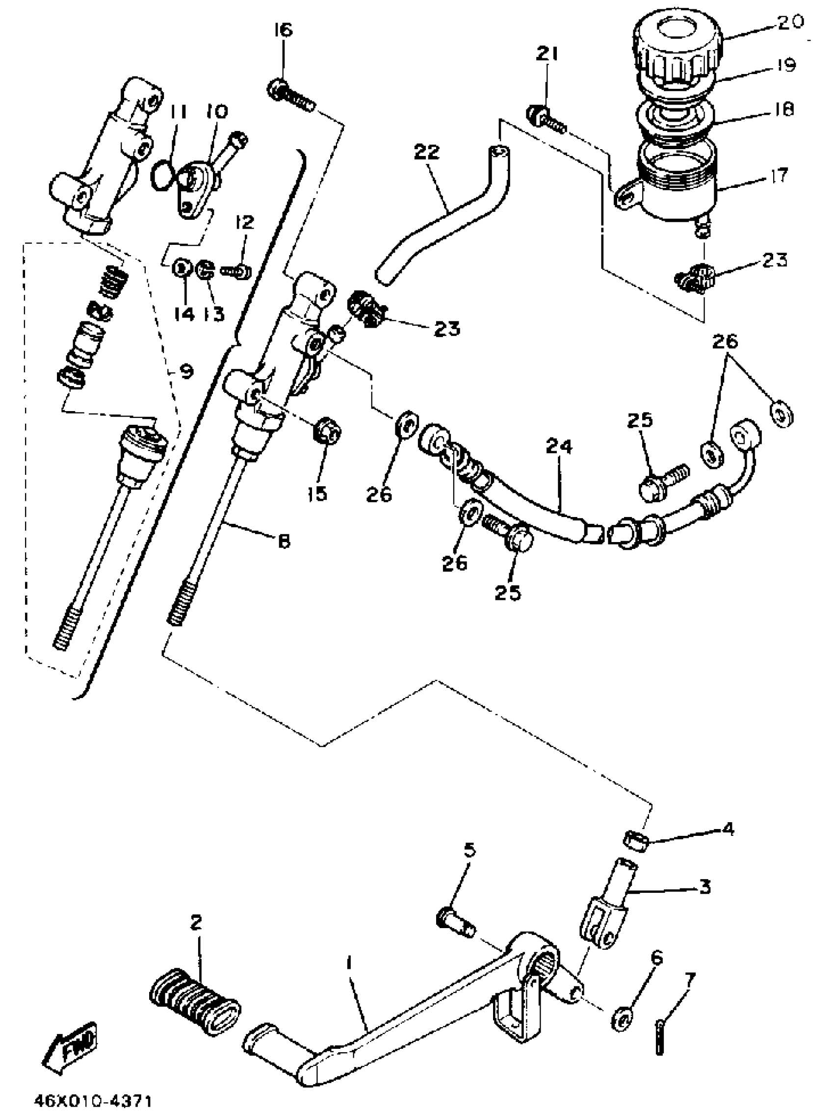
Yamaha FZ600SC (FZ600S CA) 1986 REAR MASTER CYLINDER Diagram
#
Description
Price
1
PEDAL, BRAKE
46X-27211-00-00
Unavailable
4
. NUT
95380-08700-00
Unavailable
8
MSTR CYLINDER ASSEMBLY
2AX-25850-50-00
Unavailable
8
. CYLINDER KIT, MASTER
2AX-W0042-50-00
Unavailable
10
CONNECTOR
29L-2582A-50-00
Unavailable
12
SCREW, PAN HEAD
98511-04012-00
Unavailable
16
BOLT, BUTTON
92017-08030-00
Unavailable
17
TANK, RESERVOIR
31A-25894-01-00
Unavailable
18
DIAPHRAGM, RESERVER
360-25854-01-00
Unavailable
19
BUSH,DIAPHRAGM
2GU-25855-00-00
Unavailable
20
CAP, RESERVOIR
2KF-25852-50-00
Unavailable
21
SCREW, WITH WASHER (5U8)
90159-06056-00
Unavailable
22
HOSE, RESERVOIR
46X-25895-00-00
Unavailable
23
CLAMP, HOSE
90460-12268-00
Unavailable
24
HOSE, BRAKE 1
99999-02622-00
Unavailable
25
BOLT, UNION(3GM)
90401-10159-00
Unavailable
26
WASHER, PLATE(481)
90201-10118-00
Unavailable
