- Partiron
- OEM Parts
- Yamaha
- motorcycle
- 2017
- FZ07HS (FZ07) 2RC700 2017
REAR MASTER CYLINDER
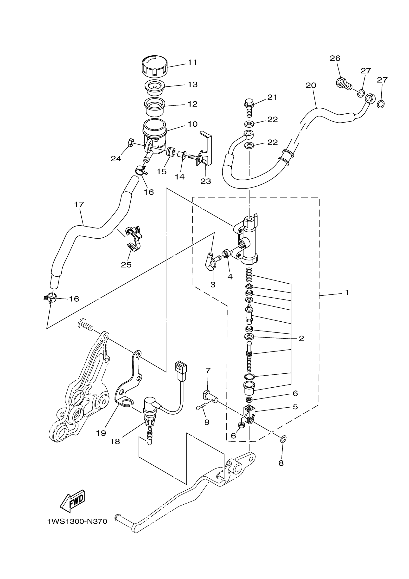
Yamaha FZ07HS (FZ07) 2RC700 2017 REAR MASTER CYLINDER Diagram
#
Description
Price
1
RR. MASTER CYLINDER ASSY.
2D1-2583V-00-00
Unavailable
4
O-RING
4BP-2585F-01-00
Unavailable
16
CLIP (7K7)
90467-11044-00
Unavailable
17
HOSE, RESERVOIR
1WS-25895-00-00
Unavailable
18
STOP SWITCH ASSY
1WS-82530-02-00
Unavailable
19
STAY, STOP SWITCH
1WS-2144G-00-00
Unavailable
20
HOSE, BRAKE 5
1WS-2581K-01-00
Unavailable
21
BOLT, UNION
90401-10020-00
Unavailable
22
GASKET
90430-10005-00
Unavailable
23
HOLDER, RESERVE TA
1WS-2582E-00-00
Unavailable
24
NUT, FLANGE(3GM)
95707-05500-00
Unavailable
25
CLAMP
90464-17008-00
Unavailable
26
BOLT, UNION
90401-10020-00
Unavailable
27
GASKET
90430-10005-00
Unavailable
