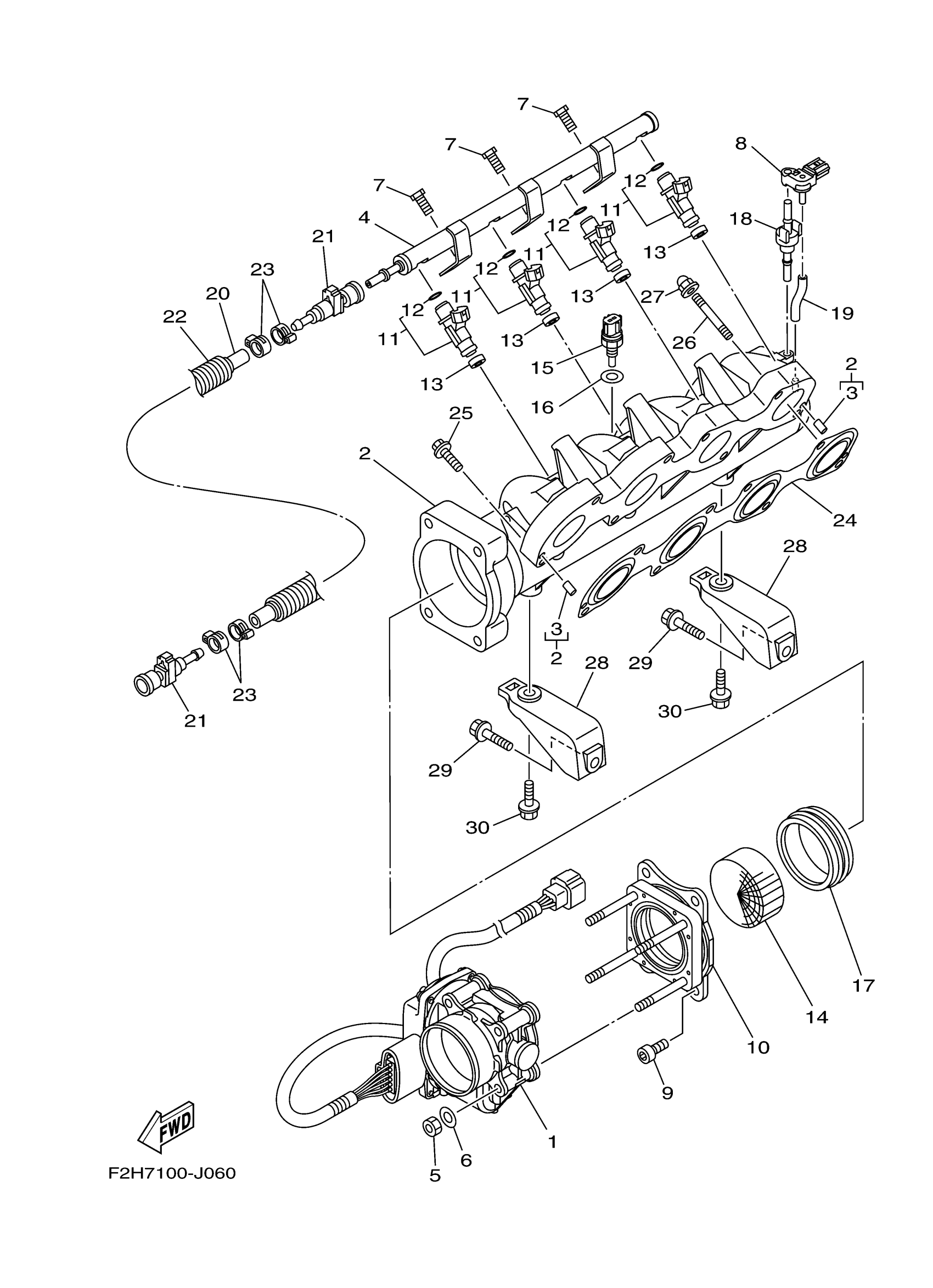
Yamaha FY1800K (FX HO) F2HD 2011 INTAKE 1 Diagram
#
1
THROTTLE BODY ASSY
6BH-13750-03-00
Unavailable
2
MANIFOLD, INTAKE 1
6BH-13641-01-00
Unavailable
4
DELIVERY PIPE
6S5-12880-00-00
Unavailable
5
NUT
6P2-13588-00-00
Unavailable
6
WASHER
6P2-13578-00-00
Unavailable
7
. BOLT
63P-14446-00-00
Unavailable
8
. SENSOR, PRESSURE
6BH-82380-00-00
Unavailable
9
BOLT
6S5-14496-00-00
Unavailable
10
THROTTLE DAMPER AS
6BH-14360-02-00
Unavailable
11
INJECTOR
6S5-13761-00-00
Unavailable
12
.. O-RING
60E-14147-00-00
Unavailable
14
RIBBON
6BH-1444B-01-00
Unavailable
15
THERMOSENSOR
65L-85886-00-00
Unavailable
16
. WASHER
6S5-14285-00-00
Unavailable
17
SEAL
6BH-14457-00-00
Unavailable
18
GROMMET
6BH-14445-00-00
Unavailable
19
HOSE, VACUUM SENSING 3
6BH-13532-00-00
Unavailable
20
HOSE
6S5-14294-09-00
Unavailable
21
FUEL PIPE JOINT
6S5-24300-01-00
Unavailable
22
TUBE
F3J-U773D-00-00
Unavailable
23
HOSE CLAMP ASSY
90450-17M17-00
Unavailable
24
. GASKET, MANIFOLD 1
6BH-13645-00-00
Unavailable
25
BOLT, WITH WASHER
90119-08022-00
Unavailable
26
BOLT, STUD
90116-08032-00
Unavailable
27
NUT, CROWN(4BR)
90176-08080-00
Unavailable
28
STAY
6S5-14413-00-00
Unavailable
29
BOLT, WITH WASHER
90119-08043-00
Unavailable
30
BOLT, WITH WASHER
90119-08099-00
Unavailable
