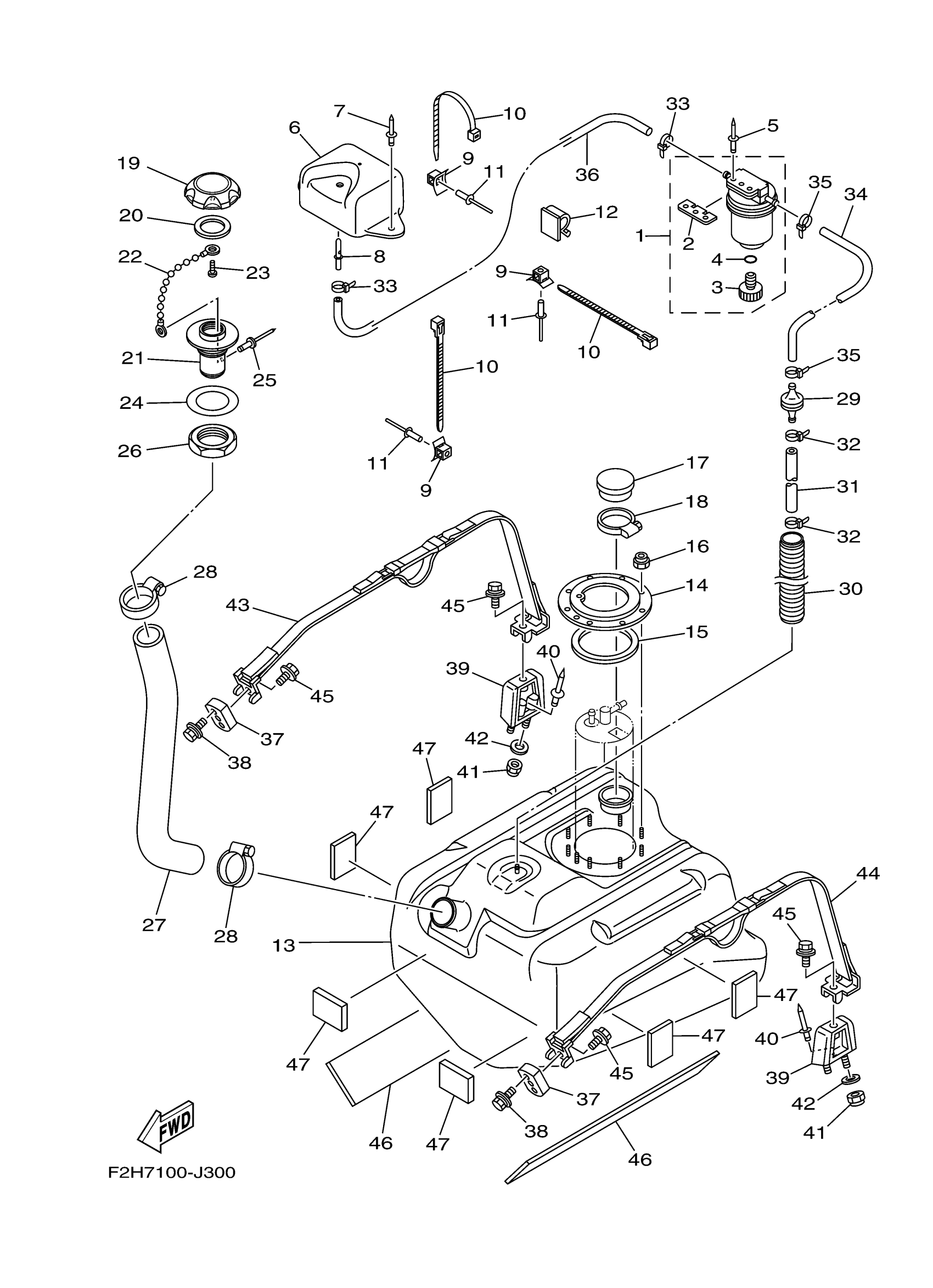
Yamaha FY1800J (FX HO) F2H9 2010 FUEL TANK Diagram
#
1
FILTER, VENT ASSY
F2F-6214A-00-00
Unavailable
2
. PLATE, FILTER
EW2-62142-00-00
Unavailable
3
. PLUG, DRAIN
70R-24543-00-00
Unavailable
4
. O-RING
70R-24489-00-00
Unavailable
5
RIVET, BLIND
90267-489U2-00
Unavailable
6
SOCKET, VENTILATION
F1W-U2159-00-00
Unavailable
7
RIVET, BLIND
90267-489U6-00
Unavailable
8
PIPE, VENTILATION
F1G-62149-00-00
Unavailable
9
BASE, CLAMP
F1W-U828M-00-00
Unavailable
10
CLAMP
90464-32801-00
Unavailable
11
RIVET, BLIND
90267-489U6-00
Unavailable
12
CLAMP
90464-17800-00
Unavailable
13
TANK, FUEL
F1W-U7711-03-00
Unavailable
14
RING
F1B-U7773-00-00
Unavailable
15
PACKING, SEAL
F1B-67747-00-00
Unavailable
16
NUT, NYLON
9572R-06300-00
Unavailable
17
COVER
FN8-6771K-00-00
Unavailable
18
BAND, HOSE 62
90601-162U5-00
Unavailable
19
CAP, FUEL FILLER
F2N-U7831-10-00
Unavailable
20
PACKING
GP7-U7832-01-00
Unavailable
21
SOCKET
GP7-U7833-11-00
Unavailable
22
CHAIN BALL
GP7-U7835-00-00
Unavailable
23
SCREW, TRUSS HEAD TAPPING
90169-049U1-00
Unavailable
24
PACKING FUEL FILLER
GP7-U7834-10-00
Unavailable
25
RIVET, BLIND
90267-329UR-00
Unavailable
26
NUT, FUEL FILLER
GP7-U783F-00-00
Unavailable
27
HOSE
F1W-U7844-00-00
Unavailable
28
BAND, HOSE 55
90601-155U4-00
Unavailable
29
CHECK VALVE
EU0-67767-31-00
Unavailable
30
TUBE
90447-22804-00
Unavailable
31
HOSE, AIR VENT 3
F2C-U785H-00-00
Unavailable
32
CLAMP
90465-10098-00
Unavailable
33
CLAMP
90465-10098-00
Unavailable
34
HOSE, AIR VENT
F2C-U785G-00-00
Unavailable
35
CLAMP
90465-10098-00
Unavailable
36
HOSE, AIR VENT
F0D-U7856-11-00
Unavailable
37
NUT, SPECIAL
F1X-U2873-00-00
Unavailable
38
BOLT, WITH WASHER
90119-06830-00
Unavailable
39
BRKT, BAND
F1B-6774J-00-00
Unavailable
40
RIVET, BLIND
90267-489UE-00
Unavailable
41
NUT, NYLON
9572R-06300-00
Unavailable
42
WASHER
9299R-06200-00
Unavailable
43
BELT, TANK 1
F1B-67743-03-00
Unavailable
44
BELT, TANK 1
F1W-67743-00-00
Unavailable
45
BOLT, WITH WASHER
90119-08800-00
Unavailable
46
MAT 1
F1W-U759B-00-00
Unavailable
47
MAT 2
F1W-U759C-01-00
Unavailable
