- Partiron
- OEM Parts
- Yamaha
- waverunner
- 2009
- FY1800AH ((WAVERUNNER FX CRUISER HO)) F2H1 2009
ENGINE HATCH 2
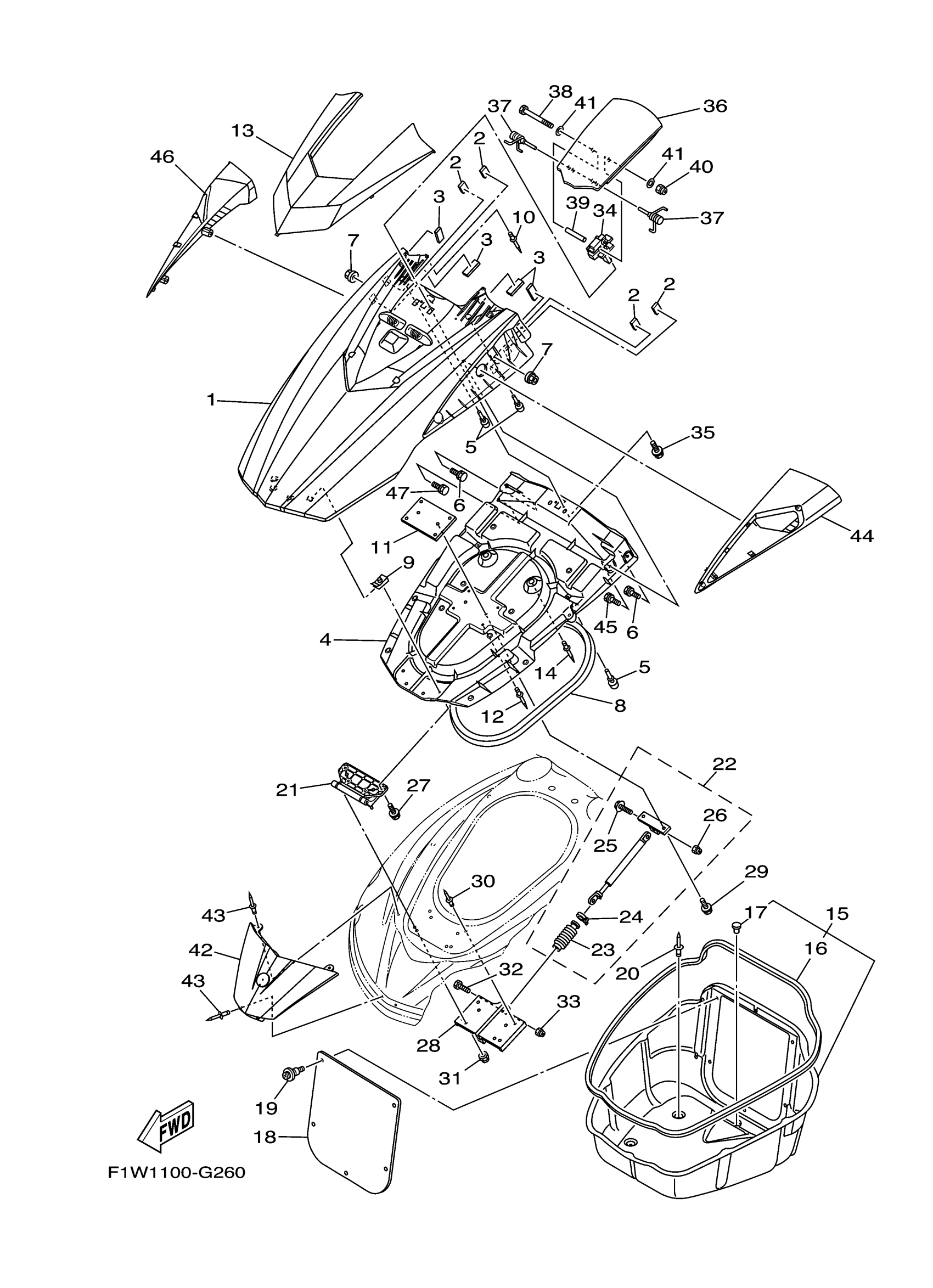
Yamaha FY1800AH ((WAVERUNNER FX CRUISER HO)) F2H1 2009 ENGINE HATCH 2 Diagram
#
1
LID, ENGINE ROOM
F1W-U517B-60-P3
Unavailable
2
STOPPER, HATCH 2
F1W-U5136-00-00
Unavailable
3
. PACKING 3
F1K-U266B-00-00
Unavailable
4
COVER,VENTILATOR 1
F1W-U213B-01-00
Unavailable
5
. CUSHION, RUBBER
F1W-U3768-01-00
Unavailable
6
BOLT, WITH WASHER
90119-06880-00
Unavailable
7
NUT, SELF-LOCKING
90185-06014-00
Unavailable
8
PACKING 1
F1K-U2663-01-00
Unavailable
10
RIVET, BLIND
90267-48807-00
Unavailable
11
PLATE, HATCH
F1W-U5148-00-00
Unavailable
12
RIVET, BLIND
90267-48807-00
Unavailable
13
VISOR
F1W-U515N-20-P1
Unavailable
14
RIVET, BLIND
90267-48807-00
Unavailable
15
LOCKER,BOW
F1W-U475B-04-00
Unavailable
16
. PACKING 4
F1W-U266C-00-00
Unavailable
17
. PLUG, BLIND
90605-502U1-00
Unavailable
18
PLATE, LOKER BOW
F1W-U475F-01-00
Unavailable
19
RIVET
90269-08801-00
Unavailable
20
RIVET, 1
F3J-U516R-00-00
Unavailable
21
HINGE, LID
F1W-U517D-01-00
Unavailable
22
DAMPER ASSY
F2C-6514S-00-00
Unavailable
23
. COVER, DAMPER
F1W-6514T-00-00
Unavailable
24
BAND
1UA-82591-00-00
Unavailable
25
BOLT
90109-06218-00
Unavailable
26
NUT, SELF-LOCKING
95720-06300-00
Unavailable
27
BOLT, WITH WASHER
90119-06896-00
Unavailable
28
PLATE, HINGE LID
F1W-U518E-02-00
Unavailable
29
BOLT, WITH WASHER
90119-06830-00
Unavailable
30
RIVET, BLIND
90267-48020-00
Unavailable
31
NUT, NYLON
9572R-06300-00
Unavailable
32
BOLT
90109-06218-00
Unavailable
33
NUT, NYLON
9572R-06300-00
Unavailable
34
LOCK, LID
F1W-6517C-02-00
Unavailable
35
BOLT, WITH WASHER (EW3)
90119-05912-00
Unavailable
36
VISOR, 2
F1W-U515P-30-00
Unavailable
37
PIN, HINGE
F1W-6517R-00-00
Unavailable
38
SHAFT A
F1W-U515H-00-00
Unavailable
39
PIPE
F1W-U2693-00-00
Unavailable
40
NUT, FLANGE
9572R-05300-00
Unavailable
41
WASHER
9299R-05200-00
Unavailable
42
COVER, FRONT
F1W-U513M-60-P3
Unavailable
43
RIVET, BLIND
90267-489U6-00
Unavailable
44
MIRROR ASSY. 1
F1W-U590D-B1-00
Unavailable
45
BOLT, WITH WASHER
90119-08907-00
Unavailable
46
MIRROR ASSY. 2
F1W-U590E-B1-00
Unavailable
47
BOLT, WITH WASHER
90119-08907-00
Unavailable
