- Partiron
- OEM Parts
- Yamaha
- waverunner
- 1995
- FX700T (FX-1) 1995
HULL - DECK
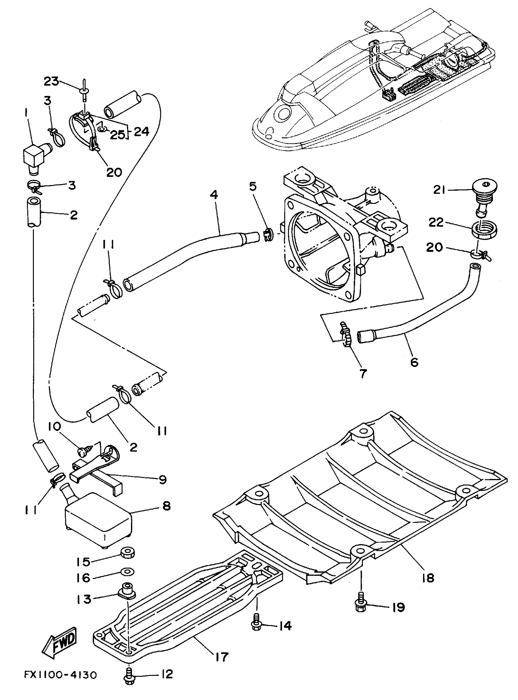
Yamaha FX700T (FX-1) 1995 HULL - DECK Diagram
#
Description
Price
1
JOINT, HOSE
61X-51162-00-00
Unavailable
2
HOSE
90445-19M03-00
Unavailable
3
CLAMP
90465-10098-00
Unavailable
4
PIPE
62L-51385-00-00
Unavailable
5
BAND, HOSE 11
90601-11062-00
Unavailable
6
PIPE 1
61X-51673-00-00
Unavailable
7
CLAMP
90465-10098-00
Unavailable
8
STRAINER, BILGE
GD0-6761D-00-00
Unavailable
9
BASE
FX1-67618-00-00
Unavailable
10
SCREW, PANHEAD TAPPING (682)
97780-50514-00
Unavailable
11
CLAMP
90465-10098-00
Unavailable
12
BOLT, WITH WASHER
90119-06900-00
Unavailable
13
NUT, T
90180-06900-00
Unavailable
14
BOLT, WITH WASHER
90119-06913-00
Unavailable
16
WASHER, PLATE
92990-10600-00
Unavailable
17
SCREEN, INTAKE
62L-51333-00-00
Unavailable
18
PLATE 2
FX1-6273B-00-00
Unavailable
19
BOLT, WITH WASHER
90119-08927-00
Unavailable
20
BAND (EU0)
90601-20009-00
Unavailable
21
SPOUT
FN8-6269B-00-00
Unavailable
22
NUT
EU0-61652-00-00
Unavailable
23
RIVET, BLIND
90267-489UE-00
Unavailable
24
CLAMP COMP (EU0)
90600-91736-00
Unavailable
25
. WASHER, PLAIN
90201-05925-00
Unavailable
