- Partiron
- OEM Parts
- Yamaha
- waverunner
- 1995
- FX700T (FX-1) 1995
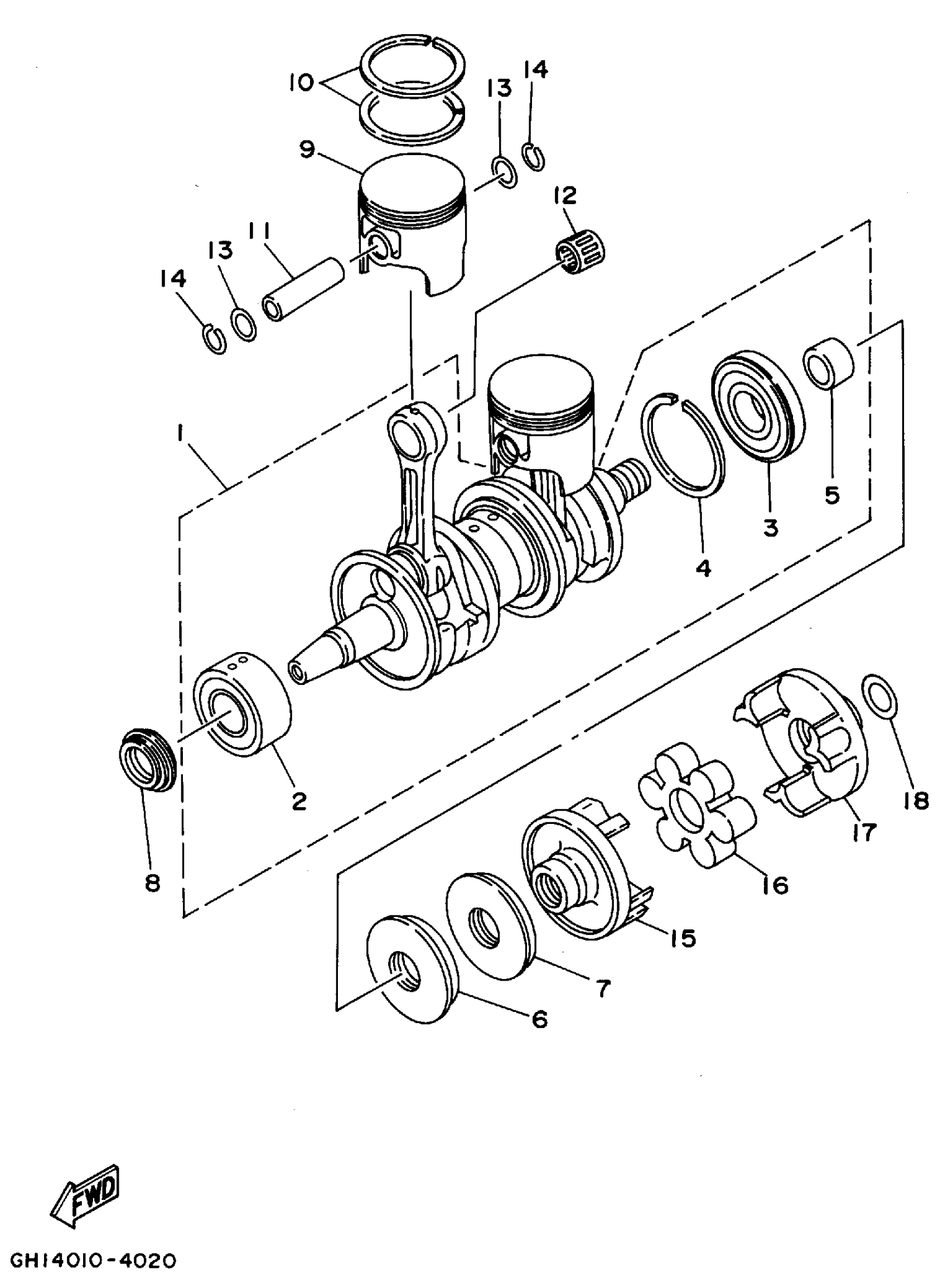
CRANKSHAFT - PISTON
Yamaha FX700T (FX-1) 1995 CRANKSHAFT - PISTON Diagram
#
Description
Price
1
CRANKSHAFT ASSY
62T-11400-02-00
Unavailable
3
BEARING(6M6)
93306-307U3-00
Unavailable
5
COLLAR, DRIVE SHAFT
6M6-45526-00-00
Unavailable
6
. OIL SEAL
93102-36M33-00
Unavailable
7
. OIL SEAL
93101-36M46-00
Unavailable
8
. OIL SEAL
93103-32M01-00
Unavailable
9
PISTON (STD)
61X-11631-02-93
Unavailable
9
PISTON (0.50MM O/S)
61X-11636-02-00
Unavailable
10
PISTON RING SET (STD)
61X-11603-01-00
Unavailable
10
PISTON RING SET (0.50MM O/S)
61X-11605-01-00
Unavailable
11
PIN, PISTON
61X-11633-00-00
Unavailable
12
BEARING, CYLINDRICAL(62T)
93310-320U2-00
Unavailable
14
CIRCLIP (8H0)
93450-21053-00
Unavailable
15
FLANGE, COUPLING
6M6-45813-32-8P
Unavailable
16
RUBBER SHAFT COUPLING
61X-4581J-00-00
Unavailable
17
FLANGE, COUPLING
6M6-45813-22-8P
Unavailable
18
WASHER, PLATE(61X)
90201-24M02-00
Unavailable
