- Partiron
- OEM Parts
- Yamaha
- waverunner
- 1994
- FX700S (FX-1) 1994
GUNWALE - MAT
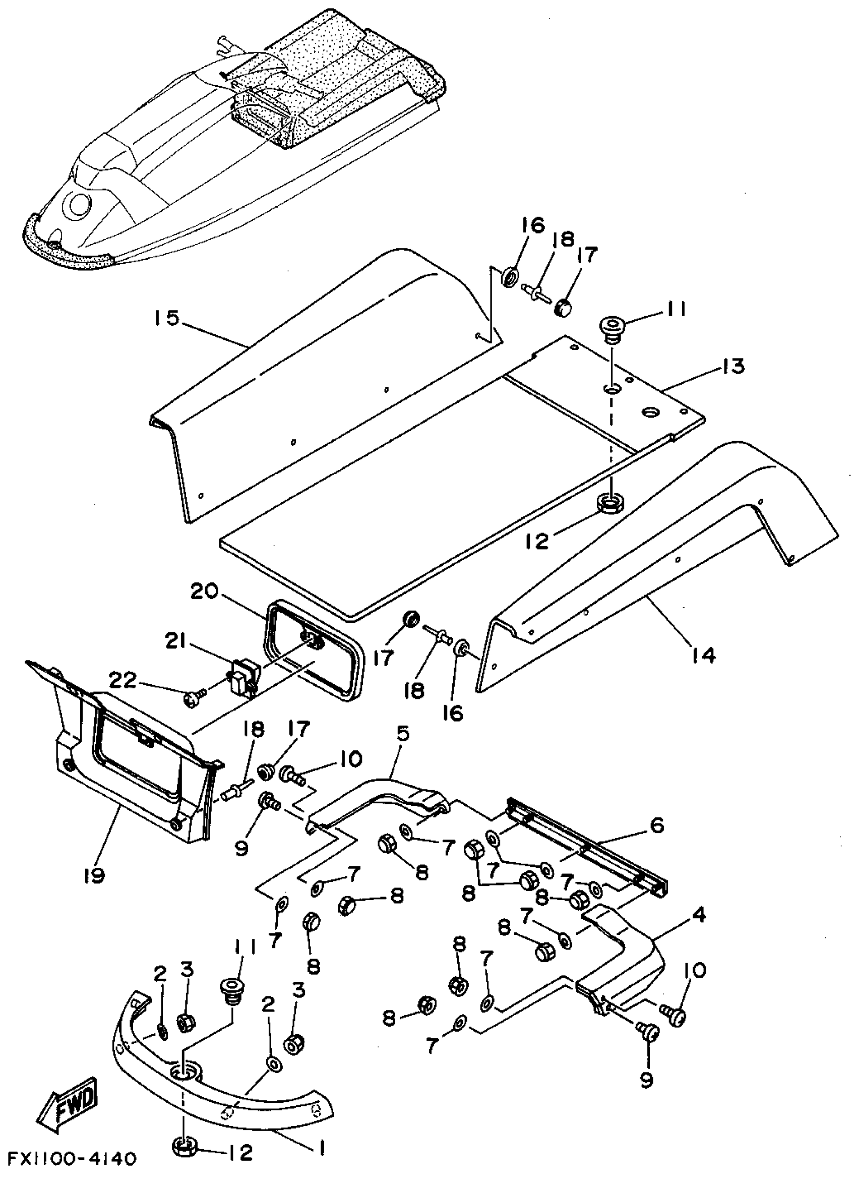
Yamaha FX700S (FX-1) 1994 GUNWALE - MAT Diagram
#
Description
Price
1
BOW GUNWALE COMP.
FX1-62501-00-00
Unavailable
4
GUNWALE, STERN
FX1-62513-10-00
Unavailable
5
GUNWALE, STERN
FX1-62513-20-00
Unavailable
6
STERN GUNWALE COMP.
FX1-62504-00-00
Unavailable
9
SCREW
90149-06995-00
Unavailable
10
SCREW
90149-06996-00
Unavailable
11
ROPE HOLE
FN8-61651-01-00
Unavailable
12
NUT
EU0-61652-00-00
Unavailable
13
MAT, LOWER
FX1-6351B-00-00
Unavailable
14
MAT, SIDE 1
FX1-6351C-00-00
Unavailable
15
MAT, SIDE 2
FX1-6351D-00-00
Unavailable
16
HOLDER, CAP
FX1-6354C-00-00
Unavailable
17
CAP, HEAD
FX1-6354D-00-00
Unavailable
18
RIVET, BLIND
90267-489U6-00
Unavailable
19
MAT,BOW
FX1-6351E-00-00
Unavailable
20
LID
FX1-6353E-00-00
Unavailable
21
LOCK ASSY
1HX-21780-01-00
Unavailable
22
SCREW, TAPPING(MG5)
90164-04031-00
Unavailable
