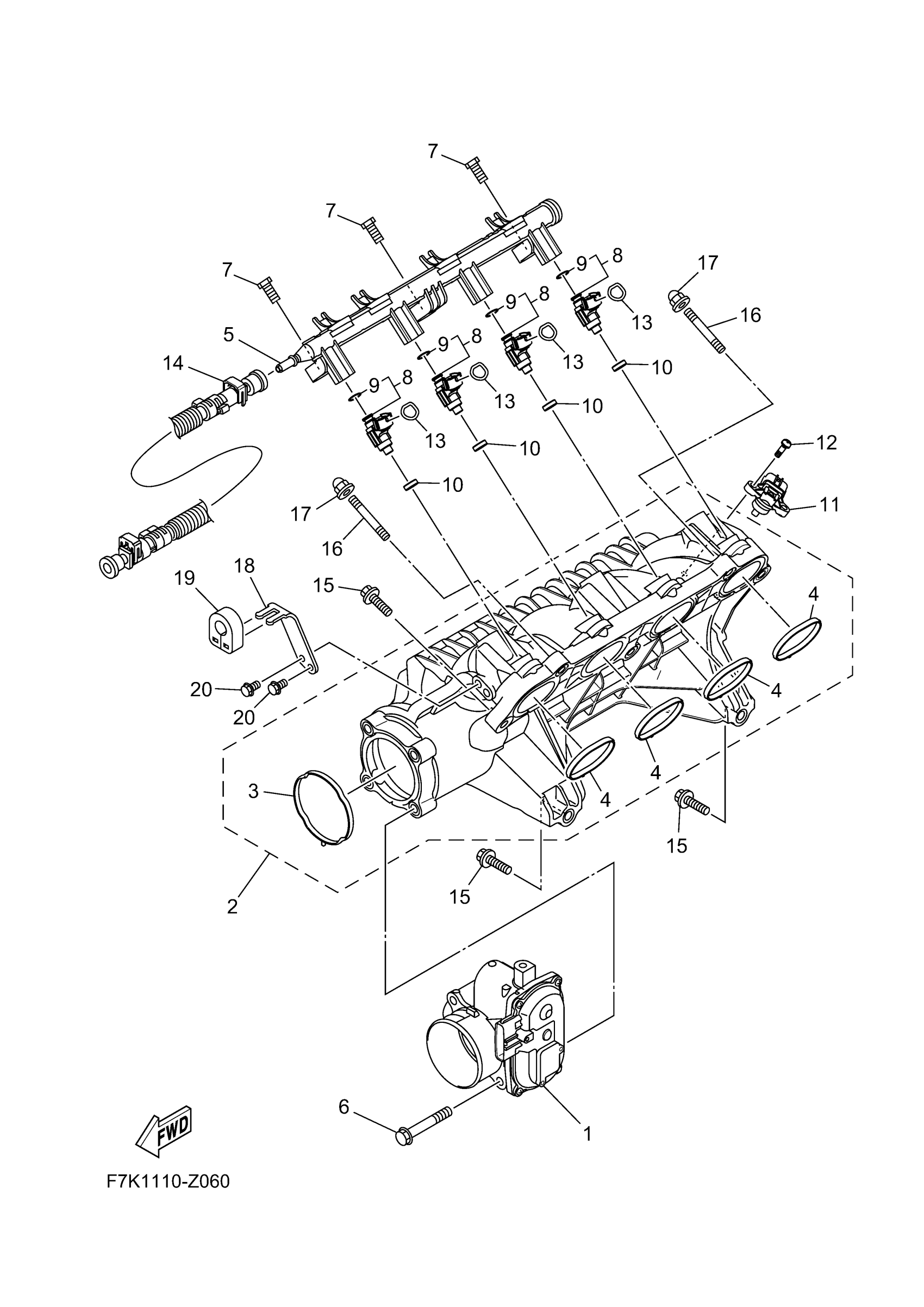
Yamaha FX1900BC (HO WAUDIO) F7K9 2026 INTAKE 1 Diagram
#
Description
Price
1
THROTTLE BODY ASSY
6LE-13750-01-00
Unavailable
2
MANIFOLD, INTAKE 1
6LE-13641-00-00
Unavailable
6
BOLT, FLANGE
90105-08243-00
Unavailable
7
BOLT
6CS-14446-00-00
Unavailable
8
INJECTOR
6S5-13761-10-00
Unavailable
9
. O-RING
68V-1416A-00-00
Unavailable
10
. GASKET, MANIFOLD
8FP-13556-10-00
Unavailable
12
SCREW 3
6D3-81147-00-00
Unavailable
14
FUEL HOSE ASSY
6AN-2450B-10-00
Unavailable
15
BOLT, WITH WASHER
97513-08535-00
Unavailable
16
BOLT, STUD
90116-08032-00
Unavailable
17
NUT, CROWN(4BR)
90176-08080-00
Unavailable
18
PLATE, STAY
6LE-14572-00-00
Unavailable
19
GROMMET
6CS-14445-01-00
Unavailable
20
BOLT, FLANGE D/R (
95E33-06012-00
Unavailable
