Yamaha FX1800JY (FX HO WITH AUDIO_FX HO) F3VD 2023 CRANKCASE Diagram
#
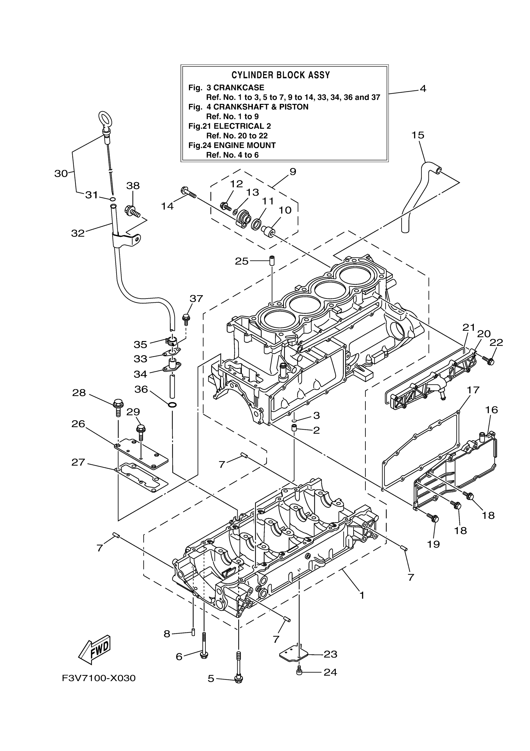
1
CRANKCASE ASSY
6CR-15100-20-00
Unavailable
5
. BOLT, FLANGE
90105-10071-00
Unavailable
8
PIN, DOWEL
93604-10M03-00
Unavailable
10
. ANODE
68V-11325-02-00
Unavailable
11
GROMMET, ANODE
67F-11328-01-00
Unavailable
13
. GASKET
90430-06M03-00
Unavailable
14
BOLT, HEXAGON W/W DEEP RECESS
97E95-08540-00
Unavailable
15
HOSE
6S5-11377-00-00
Unavailable
16
COVER
6S5-1131M-10-8P
Unavailable
17
. GASKET
6BH-13557-00-00
Unavailable
18
BOLT, FLANGE DEEP
95E34-06014-00
Unavailable
19
BOLT, FLANGE DEEP
95E34-06020-00
Unavailable
20
JOINT 1
6CS-12469-A0-00
Unavailable
21
. GASKET, WATER INLET
6CS-12517-00-00
Unavailable
22
BOLT, FLANGE
95814-06035-00
Unavailable
23
PLATE, BAFFLE LOWER
6S5-13337-10-00
Unavailable
24
BOLT,SOCKET
91317-06012-00
Unavailable
26
COVER, JOINT
6BH-1131C-00-00
Unavailable
27
. GASKET, COVER
6BH-1131B-00-00
Unavailable
28
BOLT, FLANGE(4HM)
95814-08020-00
Unavailable
29
BOLT, FLANGE
95814-06016-00
Unavailable
30
PLUG, OIL LEVEL
6ET-15362-00-00
Unavailable
31
O-RING (26H)
93210-06632-00
Unavailable
32
PIPE, OIL LEVEL
6JC-8572F-00-00
Unavailable
33
. PLATE
6BH-1319K-00-00
Unavailable
34
SPACER
6CS-85516-00-00
Unavailable
35
. CLIP
90467-150A1-00
Unavailable
36
. O-RING
93210-12016-00
Unavailable
37
BOLT
90109-06268-00
Unavailable
38
BOLT, WASHER BASED
90105-08021-00
Unavailable
