Yamaha FX1800FY (CRUISER HO WITH AUDIO) F3VB 2023 JET UNIT 1 Diagram
#
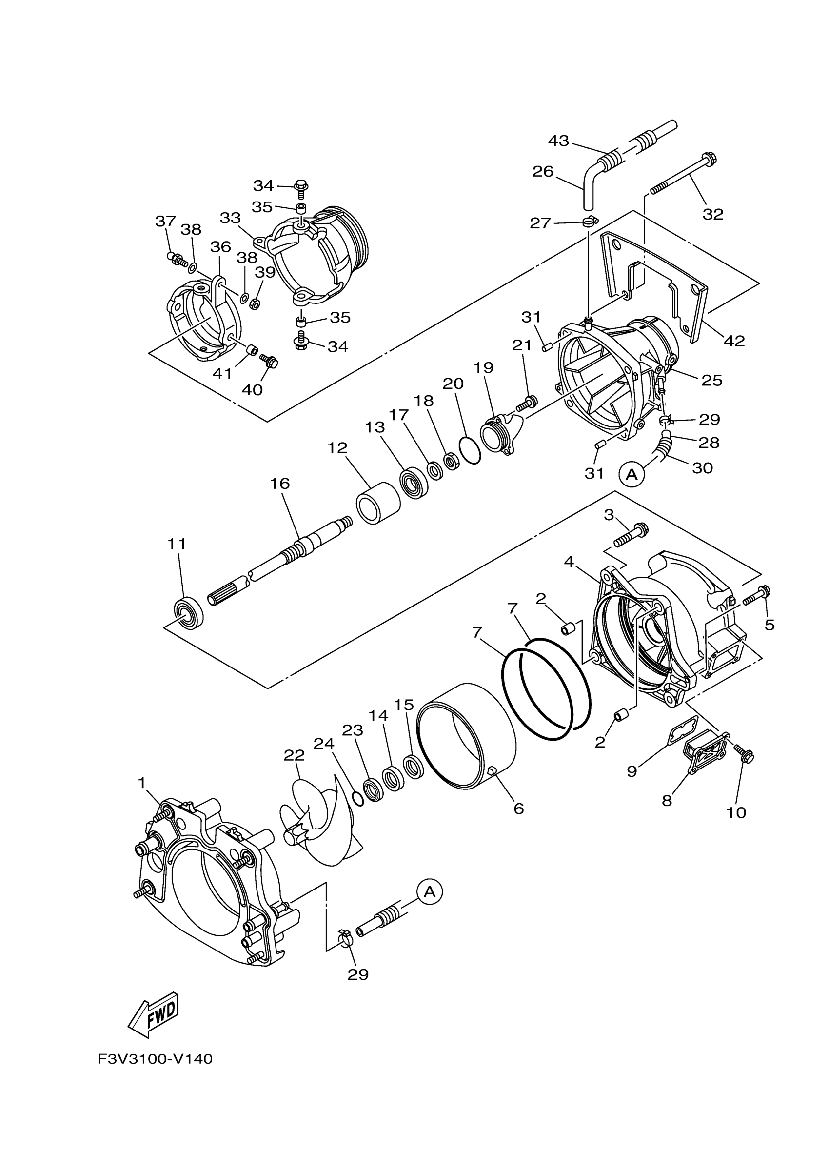
1
PLATE, TRANSOM
6CS-G5831-20-00
Unavailable
3
BOLT, WITH WASHER
90119-10811-00
Unavailable
5
BOLT, WITH WASHER
90119-06894-00
Unavailable
6
SLEEVE, IMPELLER
6HH-R1337-00-00
Unavailable
7
O-RING
93211-65801-00
Unavailable
8
FILTER
6GN-G6882-00-00
Unavailable
9
. O-RING
66V-42414-00-00
Unavailable
10
BOLT,WITH WASHER
90119-06890-00
Unavailable
11
BEARING
93306-206Y7-00
Unavailable
12
SPACER 1
6CS-G5538-00-00
Unavailable
13
BEARING
93306-355Y0-00
Unavailable
14
. OIL SEAL
93102-31009-00
Unavailable
15
. OIL SEAL
93101-31001-00
Unavailable
16
SHAFT, DRIVE
6S5-G5511-00-00
Unavailable
17
WASHER
92990-20600-00
Unavailable
18
NUT
95312-20700-00
Unavailable
19
CAP
6AN-R1326-00-00
Unavailable
20
O-RING
93210-54010-00
Unavailable
21
BOLT, HEXAGON SOCKET HEAD
90110-06823-00
Unavailable
22
IMPELLER
6BH-R1321-10-00
Unavailable
23
SPACER
6BH-R1348-00-00
Unavailable
24
O-RING (30X)
93210-30611-00
Unavailable
25
NOZZLE
6BH-R1318-01-00
Unavailable
26
HOSE 1
6CS-U72M2-00-00
Unavailable
27
BAND, HOSE 18
90601-118UF-00
Unavailable
28
HOSE
6ET-U215E-00-00
Unavailable
29
CLAMP
90465-10098-00
Unavailable
30
HOSE, WITH SPRING (L205)
90447-15001-00
Unavailable
31
PIN, DOWEL (614)
93606-12019-00
Unavailable
32
BOLT, WITH WASHER
90119-10811-00
Unavailable
33
NOZZLE, DEFLECTOR
6S5-R1313-01-00
Unavailable
34
BOLT, WITH WASHER
90119-08852-00
Unavailable
35
COLLAR(6R7)
90387-08M06-00
Unavailable
36
RING,TRIM
6AN-R1190-00-00
Unavailable
37
STUD, JOINT BALL
6ET-U1461-10-00
Unavailable
38
WASHER,PLATE
90201-068M4-00
Unavailable
39
NUT(650)
95380-06700-00
Unavailable
40
BOLT, WITH WASHER
90119-08852-00
Unavailable
41
COLLAR(6R7)
90387-08M06-00
Unavailable
42
BRACKET
6EY-R1959-00-00
Unavailable
43
TUBE
6CN-U773D-01-00
Unavailable
