Yamaha FX1800AB (FX LIMITED SVHO) F5GC 2025 JET UNIT 2 Diagram
#
Description
Price
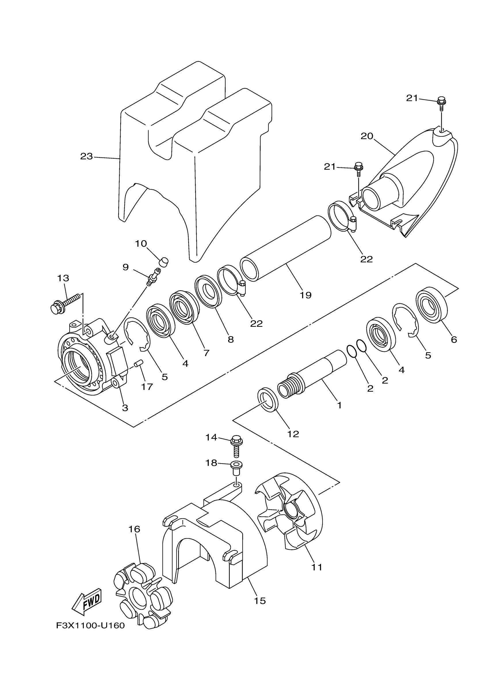
1
SHAFT, COUPLER
6S5-R1323-00-00
Unavailable
3
HOUSING, BEARING
6S5-G5332-00-00
Unavailable
4
. OIL SEAL
93102-29008-00
Unavailable
6
BEARING
93306-206Y8-00
Unavailable
7
OIL SEAL
93102-29009-00
Unavailable
8
WASHER, THRUST
6ET-45613-00-00
Unavailable
9
NIPPLE, GREASE
93700-06M03-00
Unavailable
11
FLANGE, COUPLING 1
6S5-G5593-00-00
Unavailable
12
WASHER
6ET-E2289-00-00
Unavailable
13
BOLT, WITH WASHER
90119-089U1-00
Unavailable
14
BOLT, WITH WASHER
90119-06892-00
Unavailable
15
COVER
6S5-R1381-01-00
Unavailable
16
RUBBER SHAFT COUPL
6BH-4581J-01-00
Unavailable
17
PIN, DOWEL (614)
93606-12019-00
Unavailable
18
COLLAR
90387-06289-00
Unavailable
19
PIPE 1
F2S-U883B-00-00
Unavailable
20
JOINT, PIPE
F2S-U883E-00-00
Unavailable
21
BOLT
90109-06832-00
Unavailable
22
BAND, HOSE 52
90601-152U3-00
Unavailable
23
FLOTATION, STERN RH
F3X-U892D-10-00
Unavailable
