Partiron

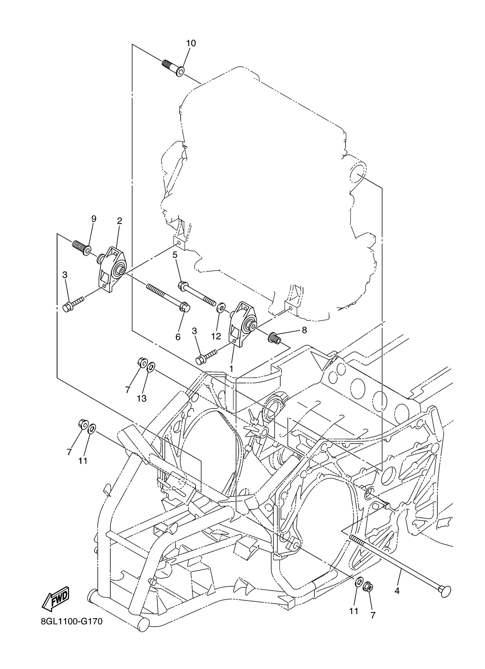
Yamaha FX10XW (FX NYTRO) 8GL10 2008 ENGINE BRACKET Diagram

#

Description
Price

1

ENGINE BRACKET COMP.

8ES-21410-00-00

Unavailable

2

ENGINE BRACKET COMP. 2

8ES-21420-00-00

Unavailable

3

BOLT, FLANGE

95812-08030-00

$3.81

4

BOLT, ENGINE MOUNT

8FA-21481-02-00

Unavailable

5

BOLT, FLANGE

95817-12100-00

$8.49

6

BOLT, FLANGE

95812-12140-00

Unavailable

7

Nut

90179-12004-00

$7.49

8

BOLT, ENGINE ADJUSTING

8FG-21495-00-00

Unavailable

9

BOLT, ENGINE ADJUSTING

8GL-21495-00-00

Unavailable

10

BOLT

8ES-2149C-00-00

Unavailable

11

WASHER, PLATE(8CJ)

90201-120T5-00

$7.49

12

WASHER (856)

90201-12317-00

Unavailable

13

WASHER, PLATE (4N0)

90201-126A7-00

$9.49