Partiron

Yamaha FX10M53Z (FX NYTRO MTX) 8HAB 2010 TAILLIGHT Diagram

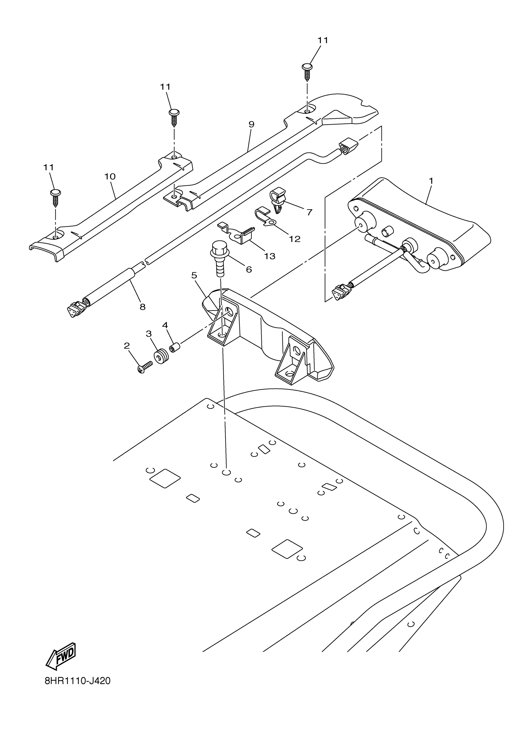
#

Description
Price

1

TAILLIGHT UNIT ASSY

8FS-84710-01-00

$201.99

2

SCREW, TAPPING(4TV)

90167-05078-00

$8.49

3

GROMMET (461)

90480-12067-00

Unavailable

4

COLLAR (26H)

90387-053H3-00

$2.22

5

BRACKET, TAILLIGHT

8GL-2117E-00-00

Unavailable

6

BOLT

90109-06043-00

Unavailable

7

CLAMP

90464-07011-00

$2.39

8

CORD, TAILLIGHT

8HR-84717-00-00

Unavailable

9

COVER HARNESS

8HR-87228-00-00

Unavailable

10

COVER HARNESS 2

8HR-8722G-00-00

Unavailable

11

RIVET

90269-06003-00

Unavailable

12

CLAMP

90462-08033-00

Unavailable

13

CLAMP, CORD

8GL-84351-00-00

$23.99