Yamaha FX10M53SBL (FX NYTRO MTX SE 153) 8HU30 2012 CRANKCASE Diagram
#
Description
Price
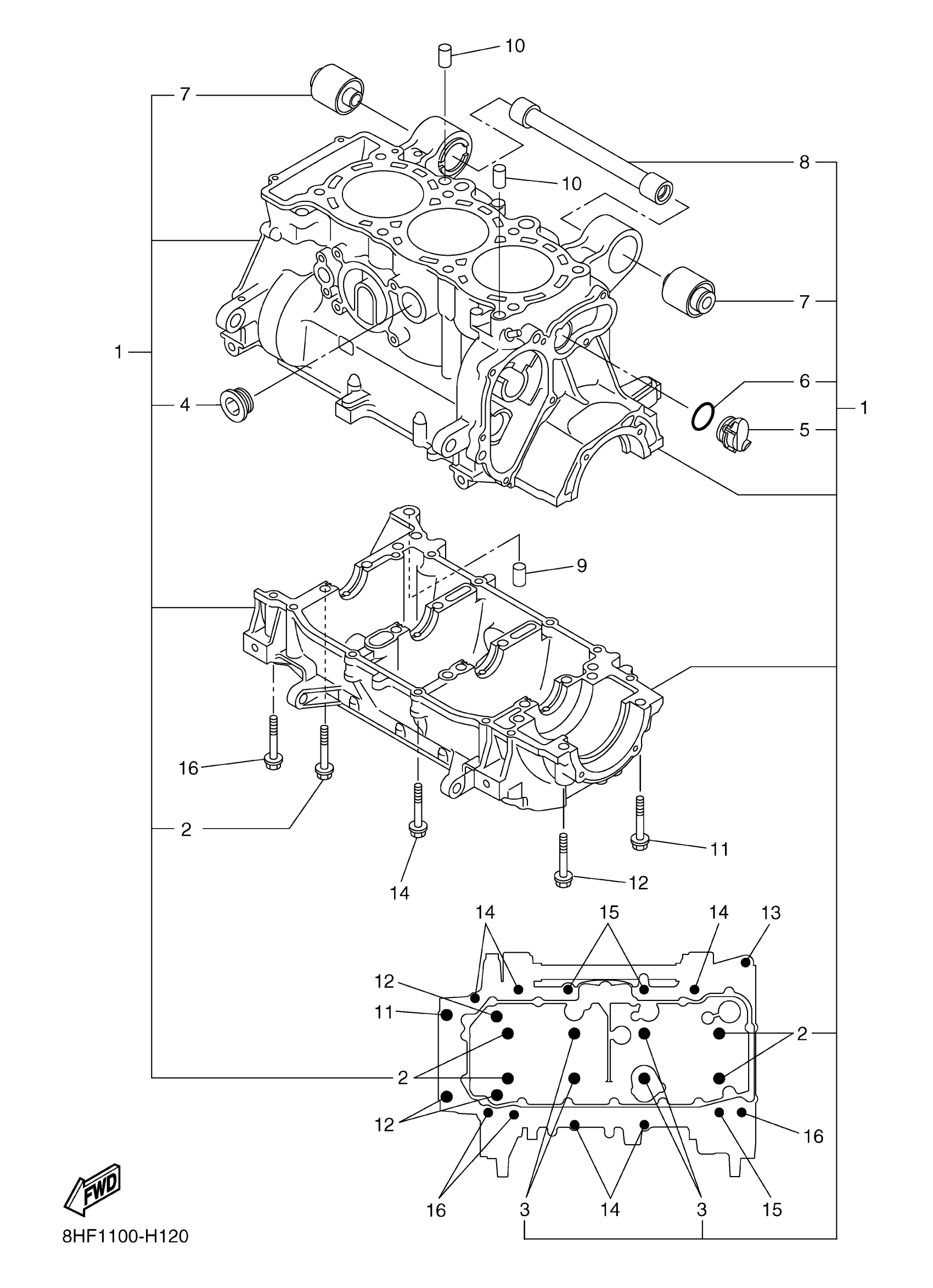
1
CRANKCASE ASSY
8GL-15109-09-00
Unavailable
7
DAMPER
8FA-2139X-00-00
Unavailable
8
SPACER
8ES-21459-00-00
Unavailable
16
BOLT, FLANGE
95817-06080-00
Unavailable
