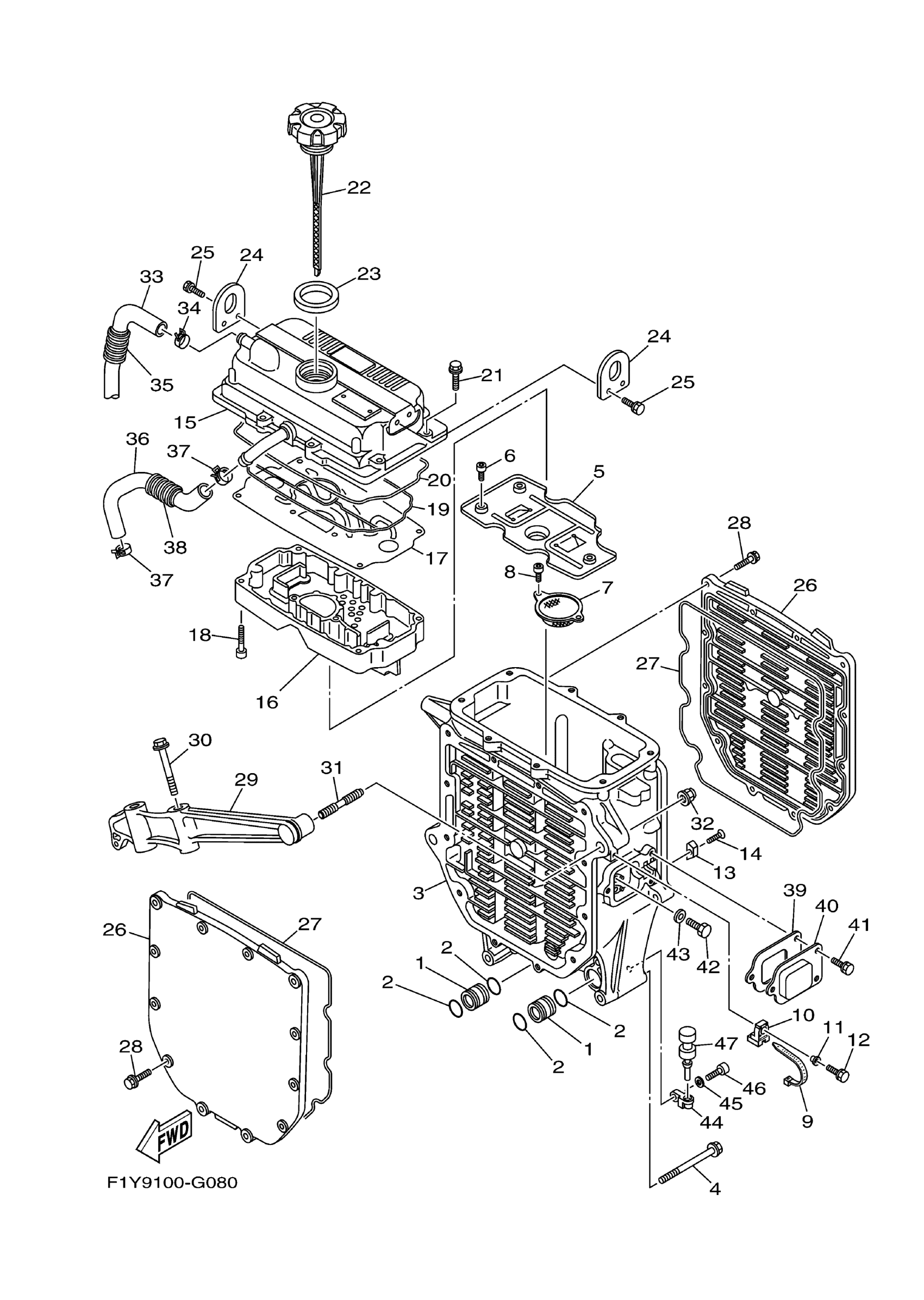
Yamaha FX1000G (WaveRunner FX) F1YA 2008 OIL COOLER Diagram
#
1
CONNECTOR
60E-13446-00-00
Unavailable
3
CASE, OIL COOLER
60E-13462-00-94
Unavailable
4
BOLT, WITH WASHER
90119-08M99-00
Unavailable
5
PLATE, BAFFLE
60E-13317-00-00
Unavailable
7
STRAINER 2
60E-13421-00-00
Unavailable
10
BRACKET
6AA-85542-00-00
Unavailable
11
COLLAR
90387-06M05-00
Unavailable
12
BOLT, HEXAGON W/W DEEP RECESS
97E95-06520-00
Unavailable
13
ANODE
6E5-11325-00-00
Unavailable
15
COVER, OIL COOLER
60E-13463-10-94
Unavailable
16
PLATE, BREATHER
60E-11165-10-00
Unavailable
17
PLATE, BREATHER 2
60E-11145-10-00
Unavailable
18
BOLT,SOCKET
91317-05035-00
Unavailable
19
GASKET
60E-13477-00-00
Unavailable
20
GASKET
60E-13475-00-00
Unavailable
21
BOLT, FLANGE
90105-06036-00
Unavailable
22
PLUG, OIL LEVEL
6BU-15362-A0-00
Unavailable
23
O-RING
60E-13473-00-00
Unavailable
24
HANGER, ENGINE
6B6-11119-00-00
Unavailable
25
BOLT, WITH WASHER
90119-06023-00
Unavailable
26
COVER, OIL COOLER
6D3-13443-00-94
Unavailable
27
GASKET
60E-13476-10-00
Unavailable
28
BOLT (689)
90105-06M07-00
Unavailable
29
STAY
60E-13151-00-94
Unavailable
30
BOLT, WITH WASHER
90119-10M23-00
Unavailable
31
BOLT, STUD
90116-10016-00
Unavailable
32
NUT, CAP
90176-10001-00
Unavailable
33
PIPE, BREATHER 1
60E-11166-01-00
Unavailable
34
CLIP
90467-170A0-00
Unavailable
35
TUBE (L260)
90447-19005-00
Unavailable
36
PIPE, BREATHER 2
60E-11167-01-00
Unavailable
37
CLIP
90467-170A0-00
Unavailable
38
HOSE, WITH SPRING
90447-19004-00
Unavailable
39
GASKET
60E-13567-00-00
Unavailable
40
COVER 2
60E-13882-00-00
Unavailable
41
BOLT, WITH WASHER
97580-06516-00
Unavailable
42
BOLT (661)
97013-06012-00
Unavailable
43
WASHER, PLAIN (646)
92990-06600-00
Unavailable
44
BRACKET 1
60E-51341-00-94
Unavailable
45
WASHER, PLAIN (646)
92990-06600-00
Unavailable
46
. BOLT
91380-06020-00
Unavailable
47
GROMMET(6R7)
90480-06M46-00
Unavailable
