- Partiron
- OEM Parts
- Honda
- MOTOR SCOOTER
- 2007
- FSC600DAC (07) SILVER WING, JPN, VIN# JH2PF011-7K500001 TO JH2PF011-7K599999
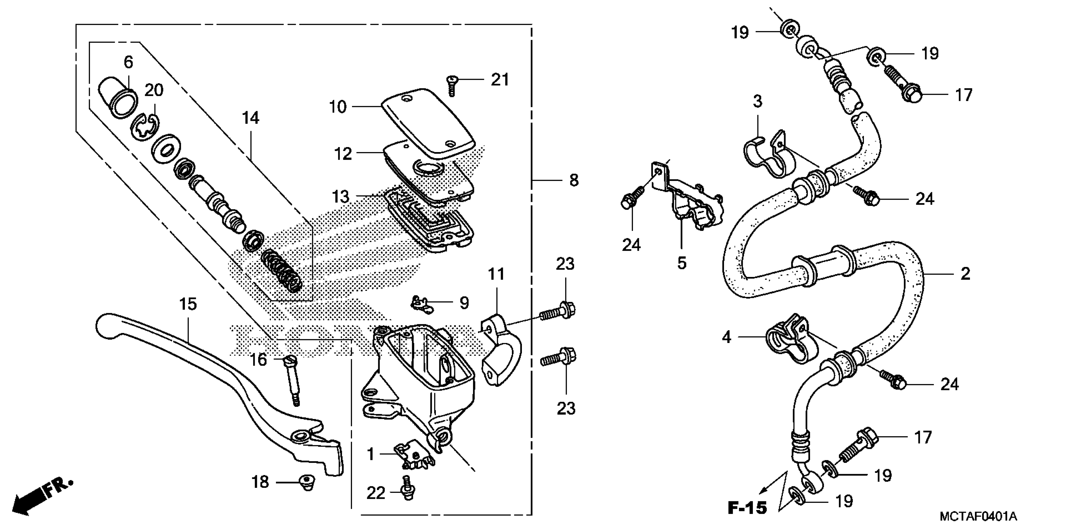
FRONT BRAKE MASTER CYLINDER (FSC600D)
Honda FSC600DAC (07) SILVER WING, JPN, VIN# JH2PF011-7K500001 TO JH2PF011-7K599999 FRONT BRAKE MASTER CYLINDER (FSC600D) Diagram
#
Description
Price
2
HOSE, FR. BRAKE
45125-MCT-003
Unavailable
8
MASTER CYLINDER SUB-ASSY., FR. BRAKE (COO) (NISSIN) This part replaces 45510-MCT-006.
45510-MGF-305
$201.03
14
MASTER CYLINDER SET (SET INCLD.7 PARTS,ITEM SHOWN BELOW SPRING DOES NOT APPLY)
45530-MN9-305
$50.74
