- Partiron
- OEM Parts
- Honda
- MOTOR SCOOTER
- 2012
- FSC600AAC (12) SILVER WING ABS, JPN, VIN# JH2PF014-CK900001 TO JH2PF014-CK999999
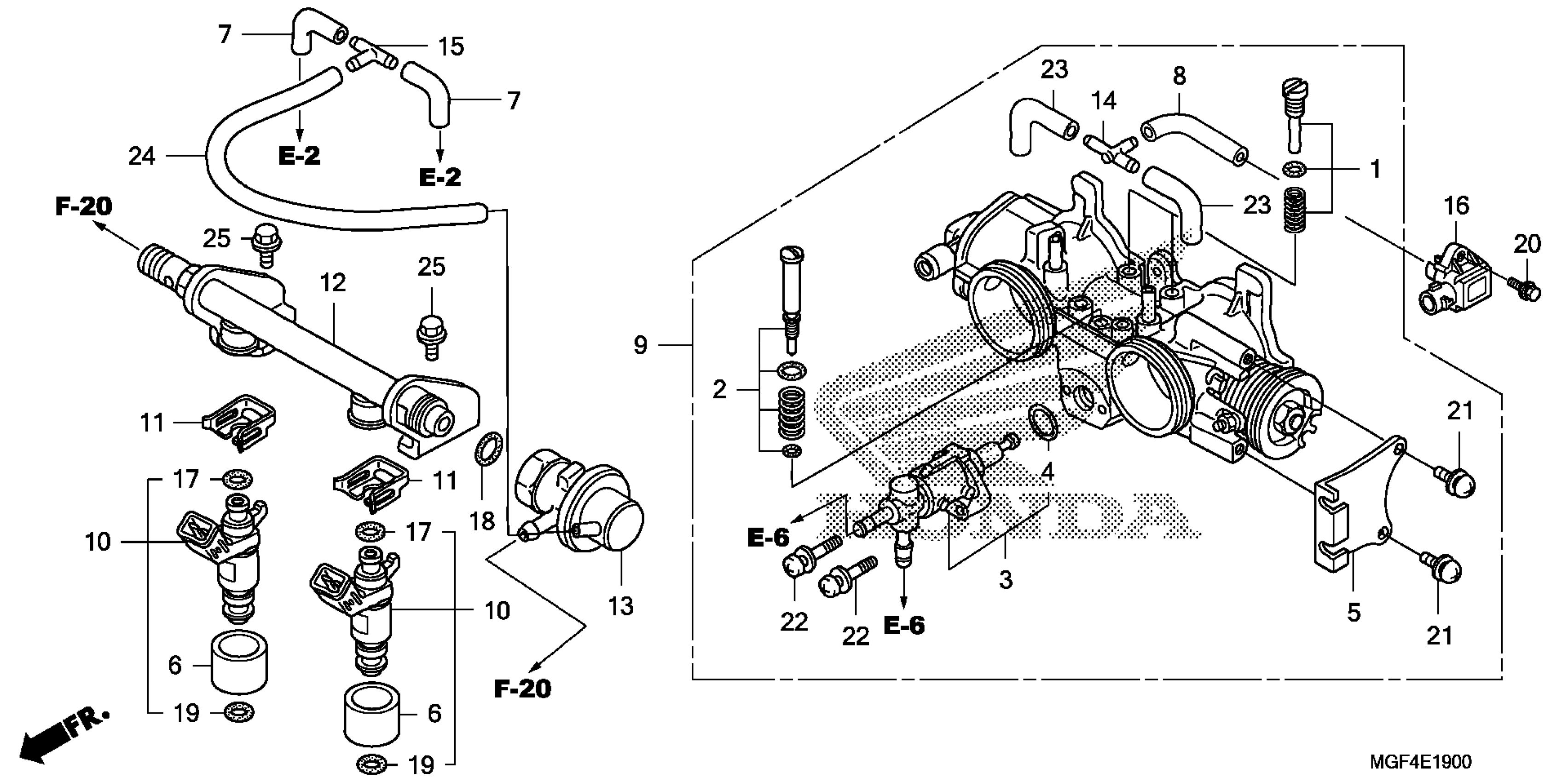
THROTTLE BODY
Honda FSC600AAC (12) SILVER WING ABS, JPN, VIN# JH2PF014-CK900001 TO JH2PF014-CK999999 THROTTLE BODY Diagram
#
Description
Price
